
BARTEC SFDE LED Floodlight

Product Information
Product Name
Proiettori serie SFD**/SFDE**/SFD**-LED/SFDE**-LED Floodlights series
Model Numbers
SFD**, SFDE**, SFD**-LED, SFDE**-LED
Certifications
CE Certificate, IECEx Certificate, INERIS 01 ATEX0018X, IECEx INE 15.0003X
Warranty
Guaranteed as per the guarantee terms mentioned in the user manual.
Product Usage Instructions
- Introduction: Read the user manual carefully before using the product.
- General Warnings: Follow all the general warnings mentioned in the user manual to avoid any injuries and damages.
- Installation: Install the product as per the installation instructions mentioned in the user manual.
- Usage: Use the product as per the product’s intended purpose.
- Maintenance: Maintain the product as per the maintenance instructions mentioned in the user manual to keep it in good working condition.
- Repair: In case of any repairs, contact the authorized personnel mentioned in the user manual.
- Disposal: Dispose of the product as per the environmental regulations of your locality.
Please note that any modifications to the product must be approved by the authorized personnel mentioned in the user manual.
INTRODUCTION
Scope This handbook has been written up from the constructor of the equipment and it is integrating part of it. This handbook defines the scope for which the equipment it has been designed and manufactured and contains all the information necessary in order to guarantee of a sure and corrected use. The observance of the contained indications in it, guarantees the personal emergency and one greater duration of the same equipment. The contained information in the manual present are addressed to subject following:
- assigned to the transport, handling, unpack;
- assigned to the preparation of installation and its site;
- installer;
- equipment’s users;
- assigned to the maintenance.
This handbook must be conserved must be conserved with the maximum care and it be available always for eventual consultations; therefore it must be protect from humidity, carelessness, sunlight and how much other can damage it. For a fast search of the arguments to consult the index to the previous page. The warnings and the important parts of text have been evidenced by means of use of the symbols following illustrated and defined. General warning The producer is thought raised from every responsibility for damages caused to the system or the things in the following cases:
- improper use;
- employment of not suitable staff;
- not corrected assembly and installation;
- defects in the systems;
- modifications or interventions not authorized;
- use of non original spare parts;
- non-observance of the rules written in this handbook;
- exceptional events.
Every operation not described in this handbook and/or not authorized by manufacturer, beyond making to lose in immediate way the guarantee, involves the full responsibility of who executes it. Guarantee
- The guarantee is applied to the equipment’s that introduce defects of construction or assemblage, according to the judgment of the technicians of the house builder.
- The guarantee doesn’t cover the subject parts to usury and the due breaking to bad use and the not observance of the contained norms in this manual.
- In accord to the Directive 1999/43/CE of the European Parliament and of the Council, the duration of the guarantee is of two years from the date of delivery.
- The use of non original exchanges BARTEC F.N. it makes to decay the guarantee.
- BARTEC F.N. won’t answer of damages or drawbacks caused by the missed observance of the contained norms in the manual present.
- The guarantee is made factory; they don’t result therefore covered the costs for the transport of the equipment in guarantee from the client to the producer and vice versa.
- The guarantee doesn’t cover the cost of the hand of necessary work to the substitution or reparation of the made piece.
- The guarantee decay in the case:
- of apparent tampering of the equipment.
- of changes brought to the equipment without previous authorization written from BARTEC F.N.
- of reparations effected from personal not authorized by BARTEC F.N.
- the number of register has been altered or cancelled or the mark BARTEC F.N. has been eliminated.
Residual risk The equipment, even though used correctly, introduces of the residual, typical risks of all equipment connected to the electrical net. In case of not respect of the instructions, would be the risk of muscle-skeletal lesions to the back.
IDENTIFICATION
Product brand and type designation Producer name and address BARTEC F.N. via Mario Pagano 3 – I-20090 Trezzano sul Naviglio (MI) – ITALY Tel.: +39 02 484741 Fax: +39 02 4456189 http://www.bartec-fn.com e-mail: [email protected]
SPECIFICATION OF THE PRODUCT
Maintenance and installation The check and the maintenance of floodlights series SFD**/SFDE**/ SFD**-LED /SFDE**-LED, has to be done according to the rules:
- EN/IEC 60079-14 “Electrical apparatus for explosive gas atmospheres – Part 14: Electrical installations in hazardous areas (other than mines)”.
- EN/IEC 60079-17 “Electrical apparatus for explosive gas atmospheres – Part 17: Inspection and maintenance of electrical installations in hazardous areas (other than mines)”.
General functions and range of applications, intended use Floodlights series SFD**/SFDE **/ SFD**-LED /SFDE**-LED are intended for use on the surface (group IIB+H2), in areas in which, during the normal activities, explosive atmospheres caused by gases, vapors, mists and/or air/dust mixtures are likely to occur. Floodlights series SFD**/SFDE**/ SFD**-LED /SFDE**-LED have been designed to be capable of functioning in conformity with the operational parameters established by BARTEC F.N. and of ensuring a high level of protection. The type of protection adopted ensure the requisite level of protection, even in the event of frequently occurring disturbances or equipment faults which normally has been taken into account during risk analysis. The technician and the user have to know the risks to the electric current and the chemical characteristics of the gases and/or vapour, present in zone with danger of explosion. Both must have put to knowledge of the dangers during the installation and the maintenance. The components or accessories installed, can be replaced, if necessary, only with the same furnished by BARTEC F.N. The inspection and maintenance of the equipment’s must be carried out only from expert staff, whose training has included all the necessary instructions on the installation modalities, on the laws and standards relevant and on the general principles of the classification of the hazardous areas. Electrical equipment The electrical equipment complies with the relevant construction standards: All’interno della custodia, sono installati i seguenti componenti:
| Type of lamps | P max [W] | V max [V] | f [Hz] |
| LEDs | 250 | 277 | 50-60 |
| Incandescent | 500 | 240 | 50-60 |
| Halogen | 250 | 240 | 50-60 |
| Fluorescent | 23 | 277 | 50-60 |
| Mercury vapour | 400 | 277 | 50-60 |
| High pressure sodium vapor | 400 | 277 | 50-60 |
| Metal halide | 400 | 277 | 50-60 |
| Blended light | 500 | 277 | 50-60 |
Technical data materials
| Body / cover | GA1-Si aluminum alloy KSi13 – UNI EN 1706:1999 The magnesium content s less than 6% by weight stainless steel AISI 03-304-316-316L UNI EN10088-3:2005 |
| Gasket | Silicone (LSR) (enclosure Ex) Temperature: -60°C … + 250°C EPDM (between glass and cover) Temperature: -36°C + 110°C |
| Transparent part | Tempered basic soda lime silicate glass |
| Sealing | Yhe glass is sealed through “SILICONE SARATOGA HT” Temperature: -60°C … + 260°C ELAN-TRON MC62/W363 EPOXY RESIN (NIPPLE). Temperature: -55°C +155°C |
Ambient temperature range 20°C ≤ Ta ≤ +40 °C; − 20°C ≤ Ta ≤ +50 °C; − 20°C ≤ Ta ≤ +60 °C Dimensions and weight enclosures empty (for transport purpose)
| TYPE | for LAMPS | dimensions [mm] | ||||
| weight [Kg] | ||||||
| A | B | C | D | |||
| SFD 150 HPNA | 150 W | 24,5 | ||||
| SFD 250 HPNA | 250 W | 26,0 | ||||
| SFD 400 HPNA | 400 W | 27,5 | ||||
| SFD 600 HPNA | 600 W | 27,5 | ||||
| SFD 150 MH | 150 W | 24,5 | ||||
| SFD 250 MH | 250 W | 26,0 | ||||
| SFD 400 MH | 400 W | 27,5 | ||||
| SFD 600 MH | 600 W | 517 | 289 | 500 | 365 | 27,5 |
| SFD 300 IA | 300 W | 22,0 | ||||
| SFD 500 IA | 500 W | 22,0 | ||||
| SFD 175 HG | 175 W | 24,5 | ||||
| SFD 250 HG | 250 W | 24,5 | ||||
| SFD 400 HG | 400 W | 26,0 | ||||
| SFD 250 BL | 250 W | 24,5 | ||||
| SFD 500 BL | 500 W | 26,0 | ||||

| TYPE | for LAMPS | dimensions [mm] | weight [Kg] | |||
| A | B | C | D | |||
| SFDE 150 W HPNA | 150 W | 517 | 374 | 500 | 365 | 25,5 |
| SFDE 250 W HPNA | 250 W | 27,0 | ||||
| SFDE 400 W HPNA | 400 W | 28,5 | ||||
| SFDE 150 W MH | 150 W | 25,5 | ||||
| SFDE 250 W MH | 250 W | 27,0 | ||||
| SFDE 400 W MH | 400 W | 28,5 | ||||
| SFDE 300 W IA | 300 W | 23,0 | ||||
| SFDE 500 W IA | 500 W | 23,0 | ||||
| SFD 175 HG | 175 W | 24,5 | ||||
| SFDE 250 W HG | 250 W | 25,5 | ||||
| SFDE 400 W HG | 400 W | 27,0 | ||||
| SFDE 250 BL | 250 W | 27,0 | ||||
| SFDE 500 BL | 500 W | 28,5 | ||||
| SFDE 24 L | Max 250 W | 25,5 | ||||





IU -14-207 revision 2 del 01/12/2021 patina 10 di 17 first characteristic numeral – against ingress of solid foreign objects
second characteristic numeral – against water
Environmental conditions and limits for operation and storage For the use in a consistent explosive atmosphere in a mix of air and inflammable substances in the form of gas, vapours, fogs (G), for normal atmospheric conditions they intends: * temperature: -60 / -20 ÷ +40; +50; +60 [°C] * pressure: 80 ÷ 110 [kPa] For storage conditions see following par. 4.1 “transport and storage” Positions and information relative to the labels Main tag SFD (example) 
| (1) | brand, name and address of the manufacturer |
| (2) | equipment type designation given by manufacturer |
| (3) | specification number of customer (if request) |
| (4) | year of construction and serial number |
| (5) | ambient temperature range |
| (6) | nominal electrical characteristic |
| (7) | warning used for all types of enclosure |
| (8) | graphic symbol of conformity CE marking |
| (9) | identifying number of Notified Body responsible of production surveillance on “ATEX” equipment |
| (10) | distinctive community mark specific of explosion protection |
| (11) | ATEX marking (only) II: group of apparatus – equipment suitable to be installed in surface places 2G: category – equipment suitable to be installed in places in which, during the normal activities, explosive atmosphere caused by gases, vapors, mists (G) are likely to occur (zone 1); suitable to be installed in zone 1 and in zone 2. 2D: category – equipment suitable to be installed in places in which, during the normal activities, explosive atmosphere caused by |
| mixture of air and combustible dust are likely to occur (zone 21); suitable to be installed in zone 21 and in zone 22. | |
| (12) | IECEx marking – type of protection Ex: protection against explosion d: type of protection flameproof IIB: equipment suitable to be installed in surface places for all types of combustible gas; a typical gas is ethylene +H2 adapted for use in presence of hydrogen gas Gb: equipment for explosive gas atmospheres, having a “high” level of protection, which is not a source of ignition in normal operation or during expected malfunctions tb: protection by enclosures, (for EPL Db) IIIC: for use in places with an explosive dust atmosphere other than mines susceptible to firedamp; conductive dust Db : equipment for explosive dust atmospheres, having a ”high” level of protection, which is not a source of ignition in normal operation or during expected malfunctions IP66 dust-tight (6); protected against powerful water jets (6) |
| (13) | Identification of Notified Body that have issued the EC-type examination certificate and its relative number (see declaration of conformity) |
| (14) | Identification of Notified Body that have issued the IECEx certificate of conformity and its relative number |
PREPARING THE PRODUCT FOR USE
Transport and storage Floodlights series SFD**/SFDE**/ SFD**-LED /SFDE**-LED are furnished in:
- pack of carton
- wood boxes
- wood cages
Is the boxes in wood that the cages in wood, they are in accord to the standard ISPM-15 of the FAO. In case of storage, the pack has be protected:
![]() | from rain |
| from impact | |
![]() | from sunlight |
| from humidity |
![]() | put in vertical position |
Storing of Lighting Floodlights series SFD**/SFDE**/ SFD**-LED /SFDE**-LED must respect the following conditions:
![]() | ambient temperature: from -60 [°C] a +60 [°C]; |
![]() | to avoid the superimposition of more packs |
Handling
- For handling there aren’t request of particular demands to assigned staff, therefore it is recommended, to carry out such operation observing the common rules of accident-prevention.
Safety precautions before use
- In the event of installation in places where the formation of stray electric currents can be present (i.e. : outskirts of electrical railway networks, great systems of welding, electrical systems with high currents and radio frequencies, etc.), it is right to take adequate precautions to avoid consequences.
- How general rule, whichever intervention on the electrical or mechanical parts or on the system, must be preceded from the interruption of the electrical supply system.
Unpacking
- It is opportune to eliminate, immediately, the parts of pack that could be dangerous to the persons (nail, tapes, plastic bags, etc.).
- To make sure that pack have not suffered external damages during the transport.
- Place down the right side of the pack and unpacked the electrical pump.
- extract the equipment from pack him through the fittest way in relation to the weight of the same equipment.
Safety disposing of packaging material All pack materials are recyclable and they can dispose according to law in force.
carton
wood
Mounting instruction WARNING: the safety of the apparatus is guaranteed only by the proper use of the following instruction, so we recommend to keep them. Make sure you have removed tension before installation or maintenance. Follow the installation procedures to ensure the unit proper functioning. The product must not be modified, any change will void security approvals and will make the item dangerous. The manufacturer declines all responsibility on products being modified or not correctly installed. 
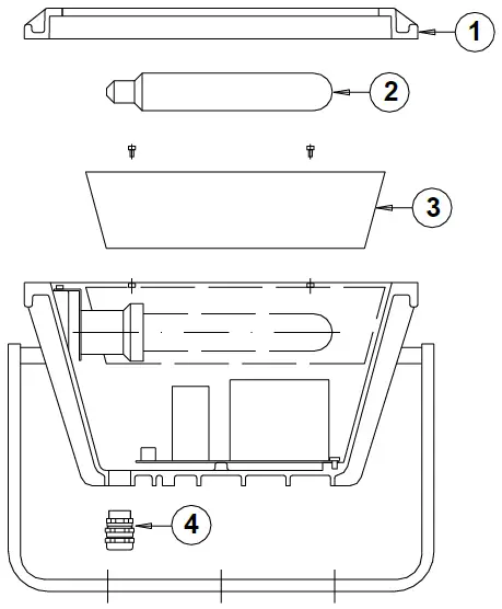
ACCESS TO TERMINAL: VERSION SFD
- To enter inside of floodlight to open hinged cover (1), unscrewing all screws.
- Remove the lamp if of type a discharge (2).
- Remove the reflector (3) by unscrewing the 4 screws that secure at body.
- Insert the power-cable in floodlight through the cable gland (4) connecting it to terminal respecting polarities.
- close following the opening procedure in vice versa order.

ACCESS TO TERMINAL: VERSION SFD**-LED
- To enter inside of floodlight to open hinged cover (1), unscrewing all screws.
- Insert the power-cable in floodlight through the cable gland connecting it to terminal respecting polarities.
- close following the opening procedure in vice versa order.

ACCESS TO TERMINAL: VERSION SFDE
- To enter inside of terminal box (1), to open cover (2), unscrewing all screws.
- Insert the power-cable inside of terminal box through the cable gland (3) connecting it to terminal respecting polarities.
- Terminal box is provided of a second hole (standard with plug) to use to enter with a second cable through a cable gland, as (3), connecting it to terminal respecting polarities.
- Close following the opening procedure in vice versa order.
- it is valid for SFDE 24 LED version also.

ACCESS TO TERMINAL: VERSION SFDE**-LED
- To enter inside of terminal box (1), to open cover (2), unscrewing all screws.
- Insert the power-cable inside of terminal box through the cable gland (3) connecting it to terminal respecting polarities.
- Terminal box is provided of a second hole (standard with plug) to use to enter with a second cable through a cable gland, as (3), connecting it to terminal respecting polarities.
- Close following the opening procedure in vice versa order.
ACCESS TO LAMP: VERSION WITH DESCHARGE LAMP
- Open hinged cover (1), unscrewing all screws.
- Insert or remove lamp (2) from lamp holder.
- Close following the opening procedure in vice versa order.
ACCESS TO LAMP: VERSION WITH HALOGEN LAMP
- Open hinged cover (1), unscrewing all screws.
- Insert or remove lamp (2) from lamp holder R7s.
- Close following the opening procedure in vice versa order.
By choosing the desired angle bracket acting on the side screws, then tighten fully. Fix the floodlight by adequate stainless steel screws, using the proper holes on the fitting bracket. 
- At every opening of the cover is necessary to restore silicone grease (LOCTITE_8104 or LOXEAL_GS9) or copper free paste or similar on lamination joints.
- The user, will have to check at least once the year the good state of the gasket and in case of usury, replace with analogous product furnished by BARTEC F.N.
- For the use in presence of a potentially atmosphere explosive caused by dusts, the user will have to effect a to regulate cleaning of the SFD for eliminate the deposits of dust. The maximum quantity of dust will have to be inferior to the 5mm.
- The width of the flameproof joints is superior to the value specified in table 3 and 4 of IEC/EN 60079-1
TAKING PRODUCT OUT OF OPERATION
Scraping It is recommended to address to specialized companies authorized for the scraping, according to laws and standards in force. The present document is property of BARTEC F.N. Its copyright in any format, whole or partial, must be before authorized by BARTEC F.N. IU-14-207_ r2
























