FLORIN – FILE SERIES
Installation Instruction


- Read all instructions to prevent injury, electric shock, or damage due to fire or mechanical hazards.
- See product label for supply specifications.
Storage:
Prior to installation products are to be stored in cool and dry conditions.
Application:
The installation application and orientation of the product is designed in accordance with the nominated product IP rating, class designation. Installation environments outside these conditions are not recommended.
Cautions:
- Electronic control equipment must not be subjected to high voltages, DO NOT MEGGER between Live and Neutral.
- The wiring should comply with voltage ≥300/500V and national standard with a minimum of 3 x 1 mm.
- If the luminaire is installed in high altitude or open places, it is required to use a surge protection device (10Kv, purchased by the customer).
- All cable/conduit terminations must be installed in accordance with the designated IP rating of this product.
- Suitable installation fastening methods should be employed to ensure the mounting points are not damaged when subjected to vibration and or movement.
- The external flexible cable or cord of this luminaire cannot be replaced; if the cord is damaged, the luminaire shall be destroyed.
- The light source contained in this luminaire shall only be replaced by the manufacturer or his service agent or similarly qualified person.
- This luminaire cannot be disassembled by non-professional.
- This luminaire must be installed by a qualified electrician in accordance with local rules and codes.
- This luminaire is not suitable for covering with thermally insulating material.
- The light source of this luminaire is not replaceable; when the light source reaches its end of life the whole luminaire shall be replaced.
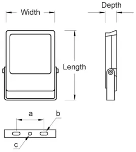
Dimensions:
| Model | Length (mm) | Width (mm) | Depth (mm) | a (mm) | b (mm) | c (mm) |
| FLE30WxK | 180 | 120 | 42 | 70 | 6×12 | 06.5 |
| FLE50WxK | 211 | 142 | 42 | 85 | 6×14 | 8 |
| FLE100WxK | 270 | 185 | 45 | 100 | 9×18 | Os |
| FLE150WxK | 344 | 238 | 48 | 150 | 9×18 | 9 |
| FLE200WxK | 420 | 285 | 48 | 170 | 10×20 | 11 |
“x” denotes CCT, 3 = 3000K ; 4 = 4000K ; 5 = 5000K ; 6 = 6000K
Installation:
- Loosen trunnion arm bolts, adjust to the desired angle and fasten the bolt using a spanner.

- Mount the fitting to the wall or ground and connect to the power supply.

- Turn ON power.

Maintenance:
The supply must be isolated before opening or accessing the luminaire. Product maintenance is critical to the product’s designed performance. Davis Lighting is not responsible for any product not maintained in accordance with the recommended procedure or intervals. It is recommended that a bi-annual cleaning cycle be implemented. Inspect optically surfaces for damage or crack. Products supplied with visors or covers must not be operated with a damaged visor or cover; it is recommended damaged visors or covers be replaced by a competent person immediately. Seals and electrical components such as wirings are to be checked for deterioration.
FLE-210702






















