| Document: LPN00872X0001A0_B | Date 9-06-2022 |
| Created By: TMT |
INSTALLATION INSTRUCTIONS
C-FL-A-FLW Series


1/2″ FITTER


2″ ADJUSTABLE FITTER YOKE
CAUTIONS
IMPORTANT SAFEGUARDS
When using electrical equipment, basic safety precautions should always be followed including the following:
READ AND FOLLOW ALL SAFETY INSTRUCTIONS
- DANGER- Risk of shock- Disconnect power before installation.
- This luminaire must be installed in accordance with the NEC or your local electrical code. If you are not familiar with these codes and requirements, consult a qualified electrician.
- Suitable for Wet Locations.
SAVE THESE INSTRUCTIONS
FOR FUTURE REFERENCE
MOUNTING USING YOKE
- Mount S3L,S5L,S8L and S11L Fixtures, using (2) customer supplied 5/16″ (8mm) fasteners and washers appropriate for the mounting surface. Mount S17L and S22L fixtures using (2) customer supplied 3/8″ (10mm) fasteners and washers. The slots or holes in the lower yoke itself can be used as a template for locating holes in mounting surface.
- Aim fixture by loosening the bolts on both sides of yoke and rotating the fixture to desired tilt angle. Re-tighten bolts.
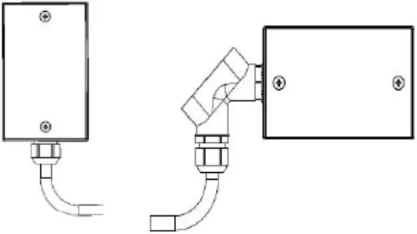
- Route the fixture’s 18AWG power cord to the junction box where the supply leads can be accessed. The fixture cord has a 0.3125″ (8 mm) outside diameter. A UL listed watertight cord grip suitable for use on 0.3125″ (8 mm) diameter wet location flexible cord shall be supplied (by others) to install cord onto outdoor junction box.
NOTE: To reduce risk of water entering junction box, teflon tape or silicone sealant should be used on the threaded portion of the cord grip. It is recommended that the watertight cord grip be installed so that the fixture cord exists the junction box toward the ground. If the junction box does not allow for the cord to exit toward the ground, the use of an elbow suitable for wet location use is recommended so that the cord can exit toward the ground. See Figure 1. - See Wattage, Color Temperature, and Photocell Settings section to set wattage, CCT, and to enable or disable photocell (if present).
- Wire as indicated in Electrical Connections section.
MOUNTING USING 1/2” FITTER
NOTE: Fixture can be mounted to any metal 1/2” NPSM threaded mounting (supplied by others).
NOTE: When mounting the fixture in an inverted position (1/2” fitter above fixture), mount fixture to a watertight junction box and cover. Also, caulk the conduit openings, around the junction box cover, and the wire entry end of the 1/2” fitter with a high grade caulking material, such as silicone rubber, to ensure water does not enter fixture through 1/2” fitter.
- Route fixture leads through hole in mount.
- Thread mounting onto end of fitter on fixture and secure with locknut. Using thread sealant on the threads will ensure a watertight seal.
- See Wattage, Color Temperature, and Photocell Settings section to set wattage, CCT, and to enable or disable photocell (if present).
- Wire as indicated in Electrical Connections section.
- Aim fixture by loosening screw on knuckle of fitter and rotating fixture to desired tilt angle. Re-tighten screw.
FIGURE 1

MOUNTING USING 2″ ADJUSTABLE FITTER
NOTE: Fixture is intended to be mounted on 2-3/8” (60 mm) O.D. heavy wall pipe or tenon.
- Remove (2) screws holding fitter cover in place. Remove fitter cover to expose splice chamber of fitter.
- Route supply leads through end of mounting pipe or tenon, through open end of fitter, and into splice compartment of fitter.
- Slip lower fitter over pipe or tenon, being careful not to pinch any leads.
- Strain relief is required for electrical connections in 2″ adjustable fitter mounts at heights of 25′ (7.6 m) and above. Tie a knot in the supply wires above the hole form the lower fitter into the splice chamber to reduce the strain on the connections. Make sure the knot will not slip through the hole.
- Aim fixture by rotating on pipe or tenon to desired direction. Securely tighten (2) Allen head set screws on fitter to 140 in-lbs (16 N-m).
- See Wattage, Color Temperature, and Photocell Settings section to set wattage, CCT, and to enable or disable photocell (if present).
- Wire as indicated in Electrical Connections section.
- Loosen (DO NOT REMOVE) the bolt holding the two halves of the fitter together. Tilt fixture to desired angle and re-tighten bolt to 19 ft-lbs (25 N-m).
- Carefully tuck all leads and splices into splice chamber and replace cover. Re-tighten screws to 25 in-lbs (3 N-m).
WATTAGE, COLOR TEMPERATURE, and PHOTOCELL SETTINGS
NOTE: Factory Settings Are 100% Wattage And 4000K.
NOTE: Photocell and photocell activation switch only present on S3L, S5L, and S8L products.
- Remove the selector switch cap on the side of the fixture housing using a large straight blade screwdriver. See Figure 2.
- Locate the selector switches under the cap and select wattage and color temperature by sliding the dip switches to the desired values. See Figure 3.
- For S3L, S5L, and S8L products, position photocell switch to “ON” position to enable photocell switching of fixtures. Position photocell switch to “OFF” position to disable photocell.
- Replace the selector switch cap and retighten using a large straight blade screwdriver.
FIGURE 2

- Selector Switch Cap
FCC NOTICE
CAUTION: Changes or modifications not expressly approved could void your authority to use this equipment.
This device complies with part 15 of the FCC Rules. Operation is subject to the following two conditions: (1) This device may not cause harmful interference, and (2) this device must accept any interference received, including interference that may cause undesired operation.
This equipment has been tested and found to comply with the limits for a Class A digital device, pursuant to part 15 of the FCC Rules. These limits are designed to provide reasonable protection against harmful interference when the equipment is operated in a commercial environment. This equipment generates, uses, and can radiate radio frequency energy and, if not installed and used in accordance with the instruction manual, may cause harmful interference to radio communications. Operation of this equipment in a residential area is likely to cause harmful interference in which case the user will be required to correct the interference at his own expense.
CAN ICES-003 (A)/NMB-003 (A)
ELECTRICAL CONNECTIONS
Fixture is equipped with universal volt driver 120-277V
(ie. 120V, 208V, 240V or 277V)
PHASE TO NEUTRAL WIRING 120/277V
- Connect supply ground to fixture ground (green or bare copper) lead.
- Connect supply common to fixture neutral (white) lead.
- Connect supply Vin to fixture hot (black) lead.
Tuck all wires carefully into wiring chamber ensuring that no wires are pinched.
PHASE TO PHASE WIRING 208/240V
- Connect supply ground to fixture ground (green or bare copper) lead.
- Connect supply L1 (Hot) to fixture neutral (white) lead.
- Connect supply L2 (Hot) to fixture hot (black) lead.
Tuck all wires carefully into wiring chamber ensuring that no wires are pinched.
FIGURE 3

- Photocell Activation (Only Present on S3L, S5L, and S8L)
- Color Temperature
- Wattage
http://lighting.cree.com/warranty | 1-800-236-6800

















