Contents hide
PORTOR LIGHTING PT-FLS1 SERIES LED Flood Light

READ THESE INSTRUCTIONS COMPLETELY AND CAREFULLY
- TO REDUCE THE RISK OF DEATH, PERSONAL INJURY OR PROPERTY DAMAGE FROM FIRE, ELECTRIC SHOCK, FALLING PARTS, CUTS/ABRASIONS, AND OTHER HAZARDS, PLEASE READ ALL WARNINGS AND INSTRUCTIONS INCLUDED WITH AND ON THE FIXTURE, BOX, AND ALL FIXTURE LABELS.
- INSTALLATION AND SERVICE OF LUMINAIRES SHOULD BE PERFORMED BY A QUALIFIED LICENSED ELECTRICIAN.
- MAINTENANCE OF THE LUMINAIRES SHOULD BE PERFORMED BY PERSON(S) FAMILIAR WITH THE LUMINAIRE’S CONSTRUCTION AND OPERATION, AND ANY aHAZARDS INVOLVED. REGULAR FIXTURE MAINTENANCE PROGRAMS ARE RECOMMENDED.
- DO NOT INSTALL DAMAGED PRODUCT! THIS LUMINAIRE HAS BEEN PROPERLY PACKED SO THAT NO PARTS SHOULD HAVE BEEN DAMAGED DURING TRANSIT. INSPECT TO CONFIRM. ANY PART DAMAGED OR BROKEN DURING OR AFTER ASSEMBLY SHOULD BE REPLACED.
RISK OF ELECTRIC SHOCK
- Turn off power before installation or servicing.
- Verify that supply voltage is correct by comparing it with the luminaire label information or wiring diagram.
- Make sure all electrical and grounded connections in accordance with the National Electrical Code (NEC) and local code requirements.
- All wiring connections should be capped with UL approved recognized wire connectors.
RISK OF INJURY
- Wear gloves and safety glasses at all times when removing, installing, servicing or performing maintenance.
- Avoid direct eye exposure to the light source when fixture is on.
RISK OF BURN
- Allow fixture to cool before handling. Do not touch enclosure or light source.
- Do not exceed maximum wattage marked on luminaire label.
- Follow all manufacturer’s warnings, recommendations, and restrictions for: driver type, burning position, mounting locations/methods, replacement and recycling.
RISK OF FIRE
- Keep combustible and other materials that can burn, away from lamp/lens.
- Do not operate in close proximity to persons, combustible materials, or substances affected by heat or drying.
GENERAL WIRING DIAGRAM

DIFFERENT MOUNTING OPTIONS

KNUCKLE MOUNT
- Step 1: Take the fixture out of the package.
- Step 2: Match the hole of rubber mat with bracket, pass wire through and fix it with screws. (Figure 1)
- Step 3: Pass the wire through from the other bracket and fix it with screws. (Figure 2)
- Step 4: Loosen screws; Adjust fixture angles as per actual demands and tighten screws later; Angles of the fixture is adjustable (pass the bracket through mounting surface, fix it with screws, then connect the wires as per proper wiring requirements. See general wiring diagram. (Figure 3)
- Step 4: For surface mount installation (J-box sold separately). Pass the rubber wire through the mounting head of the bracket and secure it with an inner hexagon screw. (Figure 4)

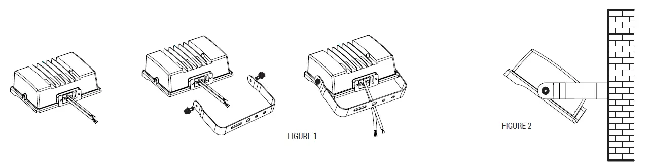
U-BRACKET MOUNT
- Step 1: Take the fixture out of the package.
- Step 2: Tighten the brackets and screws.(Figure 1)
- Step 3: Loosen screws; Adjust fixture angles as per actual demands and tighten screws later; Angles of the fixture is adjustable (pass the bracket through mounting surface, fix it with screws, then connect the wires as per proper wiring requirements. See general wiring diagram. (Figure 2)

SLIPFITTER MOUNT (ONLY FOR 105W AND 140W)
- Step 1: Take the fixture out of the package.
- Step 2: Tighten the brackets and screws.(Figure 1)
- Step 3: Pass the rubber wire through the mounting head of the bracket and secure it with an inner hexagon screw. (Figure 2)
- Step 4: Run the rubber wire through the other holder and tighten it with the hexagon socket screw (Figure3)
- Step 5: Loosen screws; Adjust fixture angles as per actual demands and tighten screws later; Angles of the fixture is adjustable (pass the bracket through mounting surface, fix it with screws, then connect the wires as per proper wiring requirements. See general wiring diagram. (Figure 4)

WARNING
MIN 75 °C SUPPLY CONDUCTORS
THIS PRODUCT MUST BE INSTALLED IN ACCORDANCE WITH THE APPLICABLE INSTALLATION CODE BY A PERSON FAMILIAR WITH THE CONSTRUCTION AND OPERATION OF THE PRODUCT AND THE HAZARDS INVOLVED SUITABLE FOR OPERATION IN AMBIENT NOT EXCEEDING 50°C.



















