LIGHTING THE WAY FOR SIXTY YEARS
ASSEMBLY INSTRUCTION
MODEL#FRE-422-BF
FRE-422-BF Fremont 2 Light Wall Mount
![]() | ![]() |

All electrical components must be installed by a licensed electrician in accordance with the National Electric Code and the appropriate local electrical codes.

You will need 2- Candelabra Base Bulb 40 Watts Recommended 60 Watts Max.
USE LED BULBS FOR EXTENDED USE This fixture is Dry rated
How to install
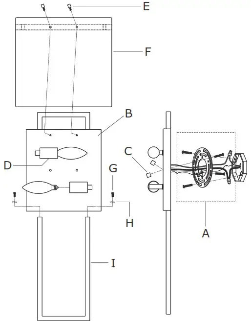
- Attach the decorative arm to the bottom of backplate with the lock washers and screws.
- Install the mounting plate to the outlet box using two outlet box screws.
- Install backplate onto the mounting plate, and secure with the ball nut.
- Install the bulbs(not included) into the socket.
- Install the fabric shade onto the backplate, and secure with the finial.
WARNING: This product can expose you to Lead which is known to the state of California to cause cancer and/or birth defects or reproductive harm. For more information go to www.P65Warnings.ca.gov
Part Number
Part Numbers

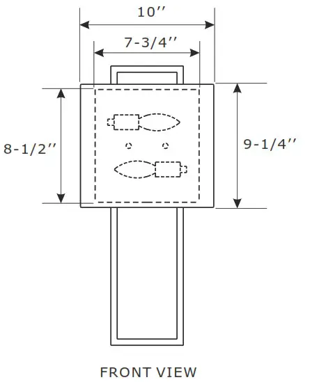
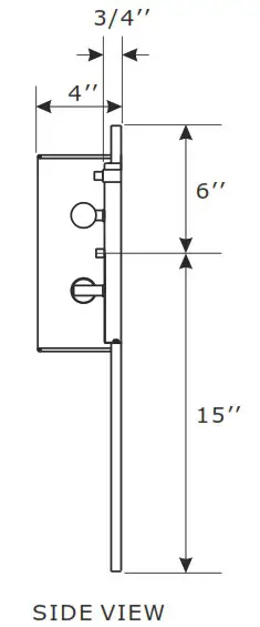
| A. (1)-Mounting hardware B. (1)-Backplate L8-1/2’’xW7-3/4’’xH3/4’’ #XRF422BFBKP8.5IN C. (2)-Ball nut #XRF422BFBANUT D. (2)-Socket E. (2)-Finial #XRF422BFFIN | F. (1)-Fabric shade L10’’xW9-1/4’’x4’’ #XRF422SHA10IN G. (2)-Screw H. (2)-Lock washer I. (1)-Decorative arm #XRF422BFARM |





















