LIGHTING THE WAY FOR SIXTY YEARS
FRE-422-PN Fremont Two Light Wall Mount
Instruction Manual
ASSEMBLY INSTRUCTION MODEL#FRE-422-PN
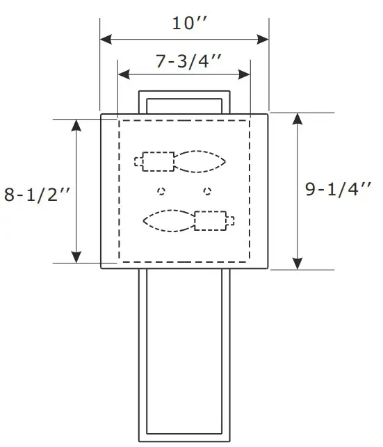
FRONT VIEW
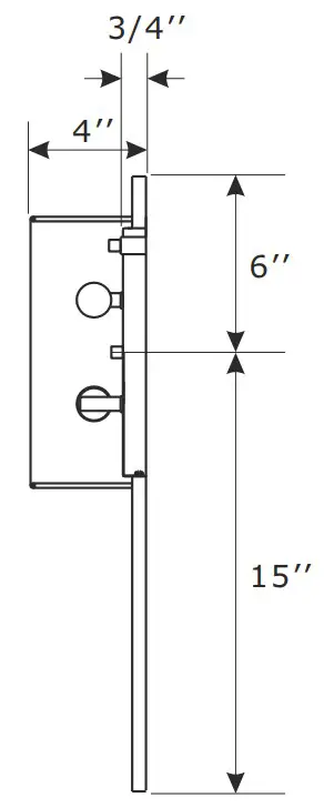
SIDE VIEW
All electrical components must be installed by a licensed electrician in accordance with the National Electric Code and the appropriate local electrical codes.
You will need 2- Candelabra Base Bulb 40 Watts Recommended 60 Watts Max.
USE LED BULBS FOR EXTENDED USE This fixture is Dry rated
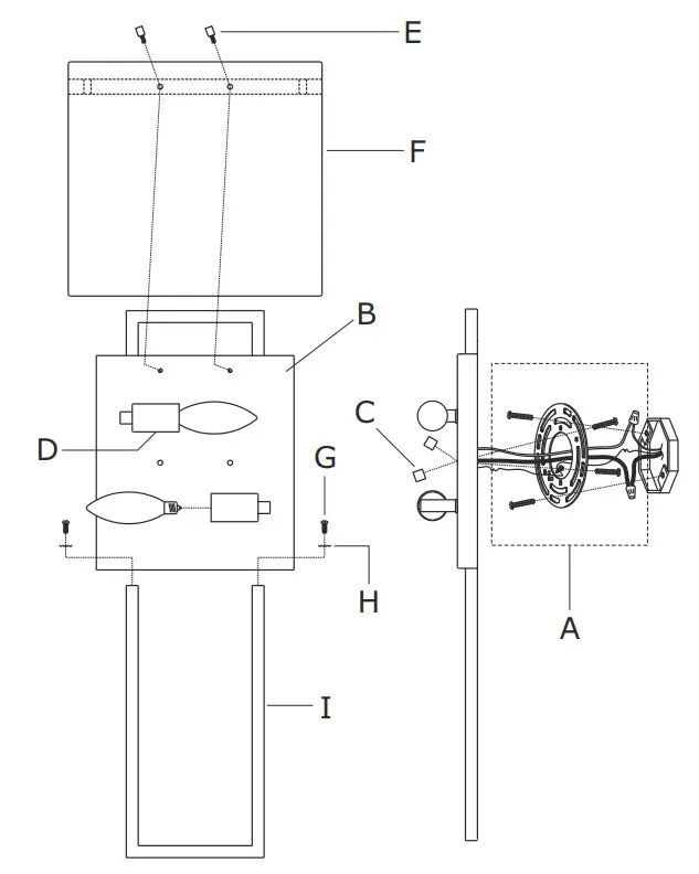
How to install
- Attach the decorative arm to the bottom of backplate with the lock washers and screws.
- Install the mounting plate to the outlet box using two outlet box screws.
- Install backplate onto the mounting plate, and secure with the ball nut.
- Install the bulbs(not included) into the socket.
- Install the fabric shade onto the backplate, and secure with the finial.
WARNING: This product can expose you to Lead which is known to the state of California to cause cancer and/or birth defects or reproductive harm. For more information go to www.P65Warnings.ca.gov
Part Number
Part Numbers
A. (1)-Mounting hardware
B. (1)-Backplate L8-1/2’’xW7-3/4’’xH3/4’’ #XRF422PNBKP8.5IN
C. (2)-Ball nut #XRF422PNBANUT
D. (2)-Socket
E. (2)-Finial #XRF422PNFIN
F. (1)-Fabric shade L10’’xW9-1/4’’x4’’ #XRF422SHA10IN
G. (2)-Screw
H. (2)-Lock washer
I. (1)-Decorative arm #XRF422PNARM


















