CRYSTORAMA DUM-9801-GE Dumont Outdoor 1 Light Wall Mount

Product Information
Assembly Instructions for Model #DUM-9801-GE
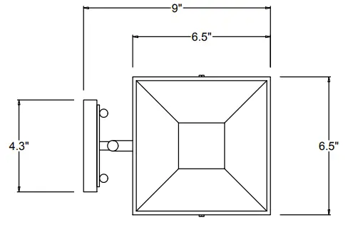
Model #DUM-9801-GE is an electrical product that requires installation by a licensed electrician in accordance with the National Electric Code and the appropriate local electrical codes. The product comes with a mounting plate, back plate, top cage, arm,socket, metal frame, glass panels, ball nuts, wire nut, green ground screw, and outlet box screws. The product requires a medium bulb with a recommended wattage of 40 and a maximum wattage of 60. Please note that the bulb is not included. The product is suitable for use with LED bulbs for extended use.
WARNING: This product can expose you to Lead, which is known to the State of California to cause cancer and/or birth defects or reproductive harm. For more information go to www.P65Warnings.ca.gov
Product Usage Instructions
Installation Instructions:
- Attach the mounting plate to the outlet box using two outlet box screws.
- Install the back plate onto the mounting plate. Secure it with 4 ball nuts.
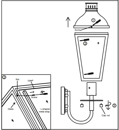
- Remove the top cage by loosening the screws and install the bulb onto the socket. Put the top cage back.
- All electrical components must be installed by a licensed electrician in accordance with the National Electric Code and the appropriate local electrical codes.
Glass Replacement Instructions:
- Remove the screws on the top of the cage and remove the cage.
- If necessary, remove the frame from the arm by loosening the cap nuts on the bottom of the cage.
- Remove the L-shaped metal strap by unscrewing the screws.
- Smooth out the silicone glue along the glass channel, prior to placing in the new glass panel.
- Put the new glass panel on and secure it with the L-shaped metal strap and screws.
ASSEMBLY INSTRUCTION


All electrical components must be installed by a licensed electrician in accordance with the National Electric Code and the appropriate local electrical codes.


You will need I-Medium Bulb 40 Watts Recommended 60 Watts Max Bulb not included
USE LED BULBS FOR EXTENDED USE
This fixture is WET rated
How to Install
- .Attach the mounting plate to the outlet box using two outlet box screws.
- .1nstall the back plate onto the mounting plate. Secure it with 4 ball nuts.
- .Remove the top cage by loosening the screws and install the bulb onto the socket.Put the top cage back.
How to change glass
- Remove the screws on the top of the cage and remove the cage.
- .1f necessary,Remove the frame from the arm by loosening the cap nuts on the bottom of the cage.
- Remove the L-shaped metal strap by unscrewing the screws.
- Smooth out the silicone glue along the glass channel,prior to placing in the new glass panel.
- Put the new glass panel on and secure it with the L-shaped metal strap and screws.
Sketch Map
WARNING: This product can expose you to Lead, which is known to the State of California to cause cancer and/or birth defects or reproductive harm. For more information go to www.P65Warnings.ca.gov
PART NUMBER


- A.Mounting Hardware
(3)Wire Nut (1)Mounting Plate
(1)Green Ground Screw
(4)Outlet box screw - B.(l )Back GEBKP51N nut;
- C. XM09801GEBANUT
- D.(l )Arm
- E.(l )Socket
- F.(1)Metal frame
- H.(1)Top cage


















