CRYSTORAMA DUM-9804-GE Dumont Outdoor 4 Light Wall Mount

WARNING | |
Electrical Danger | Turn Power Off |
All electrical components must be installed by a licensed electrician in accordance with the National Electric Code and the appropriate local electrical codes.

You will need 4-Medium Bulb 40 Watts Recommended 60 Watts Max
Bulb not included
USE LED BULBS FOR EXTENDED USE
This fixture is WET rated
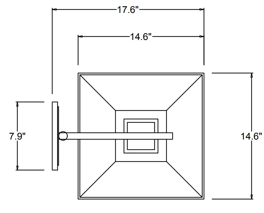
Dimension


How to change glass
- Remove the screws on the top of the cage and Pull the top scroll arm out of the nipple to remove the top cage.
- Remove the L-shaped metal strap by unscrewing the screws.
- Smooth out the silicone glue along the glass channel, prior to placing in the new glass panel.
- Put the new glass panel on and secure it with the L-shaped metal strap and screws.
Sketch Map
WARNING: This product can expose you to Lead, which is known to the State of California to cause cancer and/or birth defects or reproductive harm. For more information go to www.P65Warnings.ca.gov
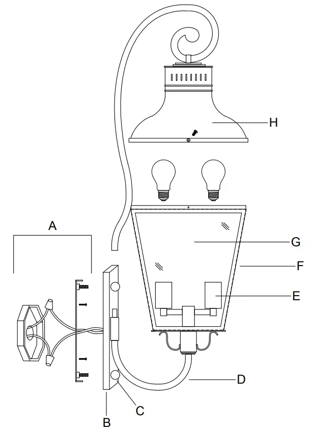
Part Number
Part Numbers
A. Mounting Hardware
(3) Wire Nut
(1) Mounting Plate
(1) Green Ground Screw
(4) Outlet box screw
B. (1) Back plate;Ø11.8″x7.9″x0.7h;XMO9803GEBKP11.8IND.(1)Arm
C. (4) Ball nut;XMO9801GEBANUT
E. (4) Socket
F. (1)Bottom cage
G. (4) Glass; XMO9804GEGLA14.6IN
H. (1) Top cage

G-Glass Size




















