CRYSTORAMA DUM-9802-GE 3 Light Graphite Outdoor Wall Mount

Product Information
The product model number is DUM-9802-GE. It is an electrical lighting fixture that requires installation by a licensed electrician in compliance with the National Electric Code and local electrical codes. The product uses 3-Candelabra Bulbs with a recommended wattage of 40 Watts and a maximum wattage of 60 Watts. Please note that the bulbs are not included.
WARNING:
This product contains Lead, which is known to the State of California to cause cancer and/or birth defects or reproductive harm. For more information, please visit www.P65Warnings.ca.gov.
Product Usage Instructions
- Attach the mounting plate to the outlet box using two outlet box screws.
- Install the back plate onto the mounting plate and secure it with 4 ball nuts.
- To install a bulb, remove the top cage by loosening the screws and placing the bulb onto the socket. Put the top cage back in place.
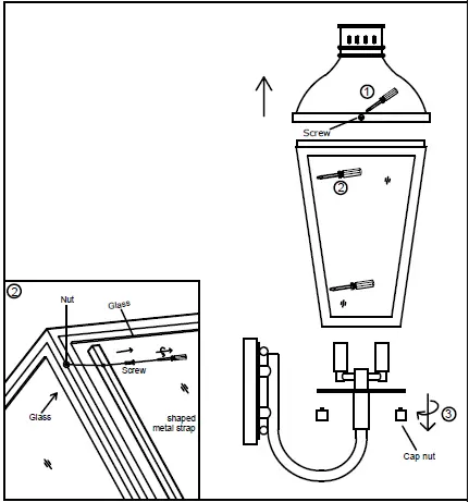
- To change the glass panel:
- Remove the screws on the top of the cage and take off the cage.
- If necessary, loosen the cap nuts on the bottom of the cage to remove the frame from the arm.
- Unscrew the screws to remove the L-shaped metal strap.
- Apply silicone glue along the glass channel before placing the new glass panel.
- Secure the new glass panel with the L-shaped metal strap and screws.
Please refer to the sketch map for visual representation of the product parts and their corresponding part numbers.
WARNING
- Electrical Danger
- Turn Power Off
All electrical components must be installed by a licensed electrician in accordance with the National Electric Code and the appropriate local electrical codes.
You will need 3-Candelabra Bulb 40 Watts Recommended 60 Watts Max Bulb not included USE LED BULBS FOR EXTENDED USE This fixture is WET rated.
How to Install
- Attach the mounting plate to the outlet box using two outlet box screws.
- Install the back plate onto the mounting plate. Secure it with 4 ball nuts.
- Remove the top cage by loosening the screws and install the bulb onto the socket.Put the top cage back.

How to change glass
- Remove the screws on the top of the cage and remove the cage.
- If necessary, Remove the frame from the arm by loosening the cap nuts on the bottom of the cage.
- Remove the L-shaped metal strap by unscrewing the screws.
- Smooth out the silicone glue along the glass channel, prior to placing it in the new glass panel.
- Put the new glass panel on and secure it with the L-shaped metal strap and screws.
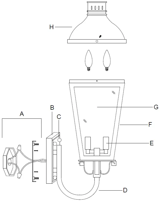
Sketch Map

Part Number
- A. Mounting Hardware
- (3) Wire Nut
- (1) Mounting Plate
- (1) Green Ground Screw
- (4) Outlet box screw
- B. (1)Back plate; Ø6.9″x5.4″x1″h; XMO9802GEBKP6.9IN
- C. (4)Ball nut;XMO9801GEBANUT
- D. (1)Arm
- E. (3)Socket
- F. (1)Metal frame
- G. (4)Glass;XMO9802GEGLA11.5IN
- H.(1)Top cage

Dimension

WARNING:
This product can expose you to Lead, which is known to the State of California to cause cancer and/or birth defects or reproductive harm. For more information go to www.P65Warnings.ca.gov.



















