LIGHTING THE WAY FOR SIXTY YEARS
ASSEMBLY INSTRUCTION MODEL #ROY-802-BK
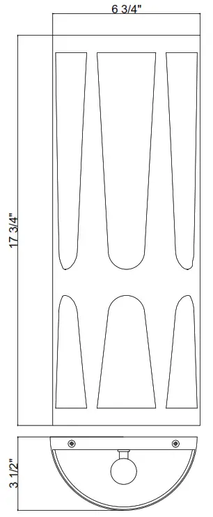
ROY-802-BK Royston Two Light Wall Mount

![]()
All electrical components must be installed by a licensed electrician in accordance with the National Electric Code and the appropriate local electrical codes
![]()
You will need 2- Candelabra Base Bulb 40 Watts recommended 60 Watts Max.
USE LED BULBS FOR EXTENDED USE
The fixture is Damp rated
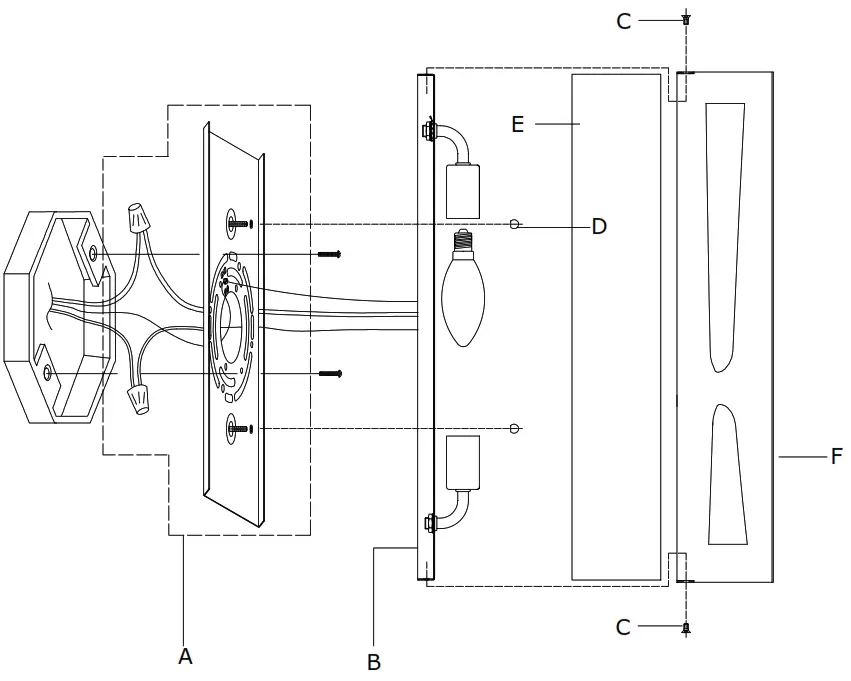
HOW TO INSTALL
Place the fixture parts on a soft cloth-covered platform before installation of fixture.
- Attach the wall bracket to the outlet box using screws.
- Install the bulb(not included) into the socket.
- Install the backplate over the outlet box and then secure with screws and ball nuts. Make the wire connection.
- Lay the metal frame flat, place the glass panel inside, and fold the four metal clips on the frame to secure the glass.
- Place the frame over the backplate and secure with screws.
Place the glass panel in the metal frame.
Fold the four iron pieces on the metal frame to secure the glass in place.
![]()
WARNING: This product can expose you to Lead, which is known to the State of California to cause cancer and/or birth defects or reproductive harm. For more information go to www.p65warnings.ca.gov
Part Number
Part Numbers
A. (1)-Mounting hardware Wire connector x2.
Wall bracket x1.
Screw x4.
Nut x2.
B. (1)-Backplate
C. (4)-Screw
D. (2)-Ball nut-XSN800BKBANUT
E. (1)-Glass panel ; W6 1/2″,H17 1/2″ -XSN802GLA17.5IN
F. (1)-Metal Frame


















