VISUAL COMFORT RL2816 Hayles Medium Sconce Instruction Manual
Assembly Instructions
NOTICE:
This light fixture should be installed in accordance with all applicable, local installation codes, and by a person familiar with the construction and operation of it, as well as the hazards involved. Inspect item and contents carefully. If any damage or defect is found, do not install. Retain all packaging material until installation is complete and approved
TOOLS REQUIRED (NOT INCLUDED):
| Phillips Screwdriver | Slotted Screwdriver | Drill |
| Pencil | Hammer |

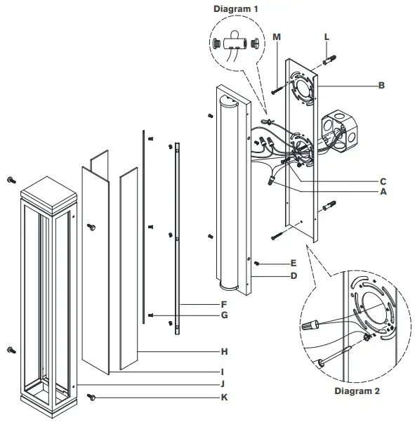
- Carefully remove all parts from the box. Place on a clean, soft surface.
- Remove mounting plate (B) from fixture (D) by removing screws (E).
- Using mounting plate (B) as a guide, line up with the junction box and mark anchor positions.
- Using a drill bit slightly smaller than the anchor, drill holes in the marked positions. Install anchors (L) into the holes using hammer.
- Install mounting plate (B) to the junction box and secure with mounting screws (C), then secure wood screws (M) to anchors (L).
- Run support cable through hole on back of mounting plate (B). Loosen cable lock and install to end of support cable. Insert other end of cable through the cable lock and tighten ends with a screwdriver to secure. (see diagram 1)
- Wrap fixture ground wire (bare copper) around the green grounding screw (see diagram 2). Tighten. Continue fixture ground wire and connect to supply ground wire (usually green or bare copper) using wire nut (A).}
NOTE: It is imperative that the fixture is grounded. - Connect fixture neutral wire (white) to the supply neutral wire (usually white) using wire nut (A).
- Connect fixture hot wire (black) to the supply hot wire (usually black) using wire nut (A).
CAUTION: Do not reverse the hot and neutral connections. - Make sure all wire connections are tight, then carefully tuck into the junction box.
- Install fixture (D) to mounting plate (B) by securing with screws (E).
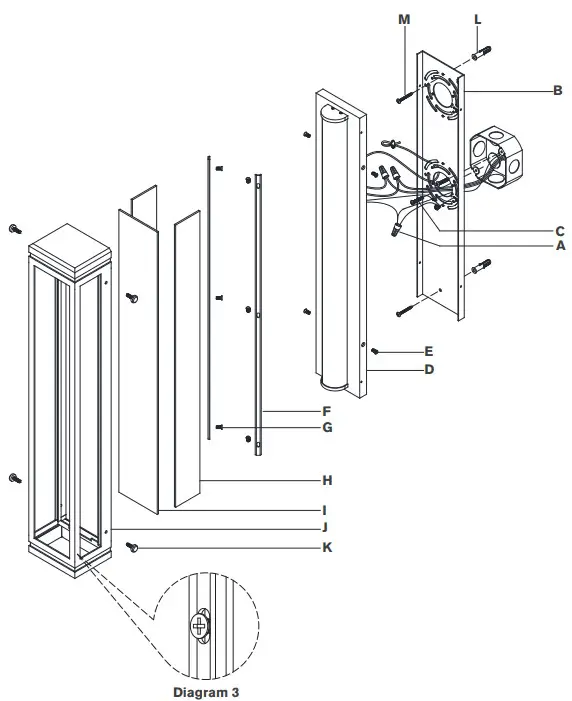
- Remove metal bars (F) from fixture frame (J) by removing screws (G).
- Install glass panels (H & I) to fixture frame (J) and secure with metal bars (F) using screws (G). See diagram 3.
NOTE: Do not overtighten otherwise glass could become damaged. - Install fixture frame (J) to fixture (D) and secure with thumbscrews (K).

Care Instructions: Clean only with a soft dry cloth or feather duster. Do not use abrasive or chemical agents.








