ED8900NE Stile Escutcheon Lever Trim
Instructions
ED8900NE Stile Escutcheon Lever Trim
INSTRUCTION FOR NARROW STILE ESCUTCHEON LEVER TRIM
| (ANSI Function 08) | (ANSI Function 14) | (ANSI Function 02) | |
![]() | ![]() | ![]() | ![]() |
| Entrance – Key Locks/Unlocks Lever | Passage – No Cylinder Lever Always Active | Dummy – With Dummy Cylinder | Storeroom – Key Unlocks Lever |
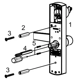
NOTE: 03 & 08 function – Standard collar height fits 1-1″ Mortise Cylinder only , other Mortise Cylinder height should use proper size collar. 
Step 1. Trim shipped with lever in the neutral (non-handed) position.
Step 2. Rotate lever to desired hand. Insert (2) lever handing hex screws together before tighten. Tghten these (2) screws with hex wrench.
Step 3. Install (2) thru-bolts. Insert spindle base on door thickness and fix set screw. Suitable for door thickness
(45-60mm)
After setting, please ensure the (2) lever handing screws are tighten to avoid lever operating problems.
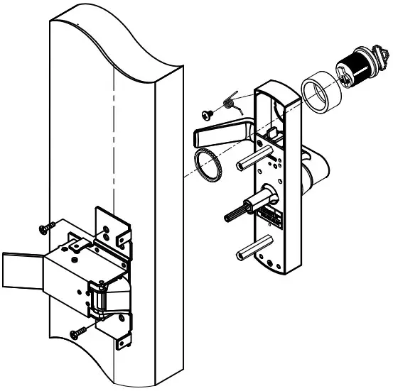
Cylinder installation: (follow
)
Standard collar height fits
mortise cylinder.


2021.01 changed to CHN 21 Ver81011
I-34EL-21A-US-BLANK



















