portway 1170-1015825 Rochester 7 Chrome Door Trim

IMPORTANT NOTE – BREAK IN FIRES
To prevent damaging the reducer bricks when new for the first 20 hours burning only use gentle small, controlled wood fires (NO COAL) during which the first three fires must be small kindling fires only. This is required to prevent thermal shock occuring which will damage the reducer bricks. After the first three fires gently increase the size of the wood logs and the duration of burn time.
Rochester Stove Reducing Bricks Installation Instructions
The 2 off stove bricks must be mechanically secured to the stove when being installed, failure to do so could lead to a dangerous situation. Check all items in the kit are present as detailed on page 3 before commencing fitment. To fit the reducing bricks please proceed as follows:-
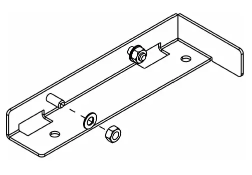
- Fit M6 nut and washer to studs on L/H & R/H mounting brackets as shown. Ensure nuts are not fully tightened down to base of thread. See figure 1 below.

- Fit retaining brackets assembled in item 1 above and the M6 x 12mm Hex Head Bolts & washers supplied.

- Use M8 x 70mm bolt with washer and nut to secure reducer brick to mounting bracket as shown below in figure 3. Repeat process for other reducer brick.

- Fit reducer brick assembly to mounting bracket behind washer and tighten M6 nut to secure as shown below in figure 4.

NOTE : A 10mm nut runner or socket will be required for this. - Figure 5 below shows reducer brick correctly fitted in position, repeat procedure for R/H/S reducer brick.

Reducer Brick Kit Contents
- 2 off Rochester Stove reducer bricks
- 1 off L/H lower reducer brick bracket
- 1 off R/H lower reducer brick bracket
- 2 off Upper reducer brick bracket
- 2 off M8 x 70mm bolts
- 2 off 10mm washers
- 2 off M8 hex nut
- 4 off M6 washers
- 4 off M6 hex steel nuts
- 4 off M6 x 12mm hex head bolts & 20mm washers
- 1 off Instruction sheet


















