HAGER I-ED02734 Grade 1 Exit Trim

WHAT’S INCLUDE


| Part | Description | QTY | |
| 1 | Exit Trim Assembly | 1 | |
| 2 | Screw Pack, 4500 Trim | 1 | |
| AA | Handing Pin | 1 | |
| BB | Screw, 1/4”-20 x 3/4” Pan Head Combo Drive Machine | 4 | |
| CC | Screw, 1/4”-20 x 1.25” Pan Head Combo Drive Machine | 4 | |
| 3 | Power Pack Assy | 1 | |
| 4 | AA Batteries | 4 | |
| 5 | Screw Pack, Power Pack, Exit Trim | 1 | |
| Screw, #12 x 3/4” Pan Head Phillips Drive Sheet Metal | 1 | ||
| 6 | Main Gasket | 1 | |
| 7 | Wire Harness, Control to Reader Board | 1 | |
| 8 | Instruction Sheets | 1 | |
| 9 | Template | 1 | |
SVR Block Kit
Required to install battery pack for SVR exit devices:


| Part | Description | QTY | |
| 10 | SVR Spacer Block, Power Pack | 1 | |
| 11 | 6 Wire Extension | 1 | |
| 12 | 2 Wire Extension | 1 | |
| 13 | 8 Wire Extension | 1 | |
| 14 | Power Pack to SVR Block Screws | 1 | |
| EE | Screws, #12 x 1/2” Thread Forming | 4 | |
Safety Information
Carefully read the instructions before installing and using this lock.
WARNING: If the door needs to be drilled, be familiar with how to safely use your tools, and understand all the door preparation steps before proceeding.
FINISH & CARE NOTES: Either remove the locks or do not install them prior to painting your door to protect the finish. Periodically clean the locks with mild soap and a soft cloth. Do not use abrasives or harsh chemicals when cleaning or using the lock.
Required Tools
Prepare Door
Skip the prep steps if the door has already been prepared.
Mark the Horizontal Centerline and Vertical Centerline on the door face based on the exit device installation instructions. Align the template and mark the door, drill the holes per template instructions.
NOTE: Drill from both sides to avoid splintering the finished surface of wood doors. Not all holes are thru.
Prepare Exit Escutcheon
- Remove back plate from Exit Escutcheon

- Hand Escutcheon

- Unstow the wires.
- Remove spring cage if necessary to orient arrows to match downward motion of the lever. Reattach with screws provided.
- Orient lever to desired handing. RHR shown, LHR opposite side of the escutcheon
- Insert handing pin AA as shown.
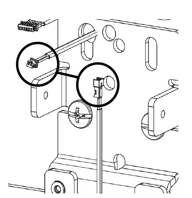
- Plug in the Wire Harness #7 into the Reader Board as shown.

- Close up escutcheon and install Main Gasket.

- Route wires through wiring hole shown
- Install Main Gasket #6
- Adjust Telescopic Actuating Shaft for Door Thickness

- The shaft clicks into place and is adjustable to the following door thicknesses:
- 1-3/4” [44.5] (As shipped)
- 2” [50.8]
- 2-1/4” [57.2]
- 2-1/2” [63.5]
- 3” [76.2]
- The shaft clicks into place and is adjustable to the following door thicknesses:
Install Exit Trim and Power Pack, RIM
- Install exit trim onto the exterior side of the door routing the 2 Pin black wire into the lower wiring hole and the rest of the wires into the upper wiring hole as shown.

- Install the SVR exit device head onto the interior side of the door using the (4) BB screws (1/4”-20 x 3/4”) provided and route the 2 Pin wire with black shrink wrap through the hole shown.

- Remove the cover of Power Pack #3
- Install Power Pack #3 using (4) DD screws (#12 x 3/4”) provided. Be sure to route the remaining wires through the lower power pack wiring hole.

- CONNECT READER AND EXIT DEVICE

- Plug in the Reader (6 pin), 9V power (2 pin), and Exit Trim and Device (8 pin) wire harnesses as shown above.
- Plug in the 2 Pin plug with the black shrink wrap to the RX wire in the RIM head as shown below.
Install Exit Trim and Power Pack, SVR
- Install exit trim onto the exterior side of the door routing the 2 Pin black wire into the lower wiring hole and the rest of the wires into the upper wiring hole as shown.
- Install the SVR exit device head onto the interior side of the door using the (4) BB screws (1/4”-20 x 3/4”) provided and route the 2 Pin wire with black shrink wrap through the hole shown.

- Plug the 2, 6, and 8 Pin Extension harnesses #11, 12, & 13 into their respective wires in the upper wire bundles.
- Route the extension wires through the lower half of the SVR Spacer Block #10 until about 3” (3.5”?) are sticking out of the block. Stow the remainder under the block.
- Mount the SVR block #10 to the door using (4) EE screws.

- Plug in the Reader (6 pin), 9V power (2 pin), and Exit Trim and Device (8 pin) wire harnesses as shown below.
- Plug in the 2 Pin plug with the black shrink wrap to the RX wire in the SVR head as shown below.

Setup Trim
- INSTALL 4 AA BATTERIES

Install the 4 AA batteries in the battery holder. Follow batterie orientation notes in the holder.- What happens when batteries installed? Lights? Sounds
- SETUP LOCK
- Setup procedure
- COMMISSION LOCK
- GO TO COMMISSIONING PROCEDURE
- GIVE QR CODE
- INSTALL COVER
- Install cover, using T10 screw driver
SHOW SELECTION OF OTHER PRODUCTS THAT CAN BE USED WITH THIS LOCK:
FCC Statement
This equipment has been tested and found to comply with the limits for a Class B digital device, pursuant to part 15 of the FCC Rules. These limits are designed to provide reasonable protection against harmful interference in a residential installation. This equipment generates, uses and can radiate radio frequency energy and, if not installed and used in accordance with the instructions, may cause harmful interference to radio communications. However, there is no guarantee that interference will not occur in a particular installation. If this equipment does cause harmful interference to radio or television reception, which can be determined by turning the equipment off and on, the user is encouraged to try to correct the interference by one or more of the following measures:
- Reorient or relocate the receiving antenna,
- Increase the separation between the equipment and receiver,
- Connect the equipment into an outlet on a circuit different from that to which the receiver is connected,
- Consult the dealer or an experienced radio/TV technician for help.
Changes or modifications to the device not expressly approved by the party responsible for compliance could void the user’s authority to operate the equipment.
Canada
This device contains licence-exempt transmitter(s)/receiver(s) that comply with Innovation, Science and Economic Development Canada’s license-exempt RSS(s). Operation is subject to the following two conditions:
- This device may not cause interference.
- This device must accept any interference, including interference that may cause undesired
To comply with RF exposure requirements, a minimum separation distance of 20cm must be maintained between the user’s body and the device.
Hager Companies 139 Victor Street, St. Louis, MO 63104 (800) 325-9995 www.hagerco.com





























