AL-KO GT 1825 Cordless Lawn Trimmer
FEATURES
![]() | GT 1825 |
![]() | 113924 |
![]() | 25 cm |
![]() | 2,12 kg |
![]() | 150 W |
![]() | 8000 – 9000 min-1 |
![]() | 113349 |
![]() | LpA = 74 dB(A), K = 3 dB(A) |
![]() | LwA = 85 dB(A), K = 1,9 dB(A) |
![]() | < 2,5 m/s2 (K = 1,5 m/s2) |
![]() | B50 Li (PBA 18V 2.5Ah W-B) | B75 Li (PBA 18V 4.0Ah W-C) | B100 Li (PBA 18V 5.0Ah W-C) | B125 Li (PBA 18V 6.0Ah W-C) |
![]() | 113893 | 113894 | 113895 | 113896 |
![]() | 18 V | |||
![]() | 2,5 Ah | 4,0 Ah | 5,0 Ah | 6,0 Ah |
![]() | B50 Li (PBA 18V 2.5Ah W-B) | B75 Li (PBA 18V 4.0Ah W-C) | B100 Li (PBA 18V 5.0Ah W-C) | B125 Li (PBA 18V 6.0Ah W-C) |
![]() | 45 Wh | 72 Wh | 90 Wh | 108 Wh |
![]() | C50 Li: ≈ 60 min FC100 Li: ≈ 36 min | C50 Li: ≈ 95 min FC100 Li: ≈ 39 min | C50 Li: ≈ 105 min FC100 Li: ≈ 46 min | C50 Li: ≈ 130 min FC100 Li: ≈ 62 min |
![]() | 0 °C – +45 °C | |||
![]() | -20 °C – +50 °C | |||
![]() | C50 Li (AL 1830 CV) | FC100 Li (AL 1880 CV) |
![]() | 113897|113898 (UK) | 113899|113900 (UK) |
![]() | 220 – 240 V AC, 50/60 Hz | |
![]() | 14,4 V – 18 V DC | |
![]() | 3 A | 8 A |
![]() | 0 °C – +45 °C | |
![]() |
| |
SPECIAL SAFETY INSTRUCTIONS
This appliance can be used by children of 8 years and older and by persons with reduced physical, sensory or mental capabilities, or those lacking experience and knowledge, if they are supervised or have been instructed with regard to the safe use of the appliance and the ensuing risks. Children must not be allowed to play with the appliance. Cleaning and maintenance must not be carried out by children without supervision.
People with very strong and complex restrictions may have needs that exceed the instructions described here.
ABOUT THESE OPERATING INSTRUCTIONS
- The German version is the original operating instructions. All additional language versions are translations of the original operating instructions.
- Always safeguard these operating instructions so that they can be consulted if you need any information about the appliance.
- Only pass on the appliance to other persons together with these operating instructions.
- Comply with the safety and warning information in these operating instructions.
Symbols on the title page
| Symbol | Meaning |
![]() | It is essential to read through these operating instructions carefully be- fore start-up. This is essential for safe working and trouble-free handling. |
![]() | Operating instructions |
![]() | Handle Li-Ion rechargeable batteries with care! In particular, observe the notes on transport, storage and disposal in these operating instructions! |
Legends and signal words
DANGER! Denotes an imminently dangerous situation which will result in fatal or serious injury if not avoided.
WARNING! Denotes a potentially dangerous situation which can result in fatal or serious injury if not avoided.
CAUTION! Denotes a potentially dangerous situation which can result in minor or moderate injury if not avoided.
IMPORTANT! Denotes a situation which can result in material damage if not avoided.
NOTE Special instructions for ease of understanding and handling.
PRODUCT DESCRIPTION
These operating instructions describe a handguided battery lawn trimmer.
The appliance may only be used together with the lithium-ion rechargeable batteries and chargers specified in the technical data. See the separate operating manuals for further information on rechargeable batteries and chargers:
- Operating manual 443130: Rechargeable batteries
- Operating manual 443131: Chargers
IMPORTANT! Danger of damage to the appliance and battery. If the appliance is operated with unsuitable batteries, both the device and the batteries may be damaged. - Operate the appliance only with the specified rechargeable batteries.
Intended use
This lawn trimmer allows you to cut grass that cannot be reached by a lawn mower, e.g. on small lawns, under bushes, around trees, on slopes, on lawn edges or around walls and building corners.
This appliance is intended solely for use in noncommercial applications. Any other use as well as unauthorised conversions or modifications are regarded as contrary to the intended use and will result in voiding of the warranty as well as loss of conformity; the manufacturer will thus decline any responsibility for damage and/or injury suffered by the user or third parties.
Possible foreseeable misuse
The appliance is not designed for use as a brush cutter, i.e. It is not suitable for mowing thicker herbaceous plants, young undergrowth and shrubs.
The tool is designed neither for commercial use in public parks and sports facilities, nor for use in farming and forestry.
Residual risks
Even during correct use of the appliance, there is always a certain residual risk that cannot be excluded. Depending on the use, the following potential risks can be derived from the type and construction of the appliance:
- Throwing out of cuttings, soil and small stones.
- Inhalation of cuttings particles if no breathing protection is worn.
- Lacerations from reaching into the rotating cutting appliance.
Safety and protective devices
WARNING! Risk of injury. Defective and disabled safety and protective devices can result in serious injury.
- Have any defective safety and protective devices repaired.
- Never disable safety and protective devices.
Unlocking button
The unlocking button releases the ON/OFF switch. This prevents inadvertent starting of the appliance by accidentally pressing just the ON/ OFF switch.
Guard plate
Protects the operator from the rotating cutting line and objects flying out.
Protective bracket
Protects plants and persons from the rotating cutting line. Also the cutting line is protected against excessive wear on walls during trimming.
Symbols on the appliance
Safety signs
| Symbol | Meaning |
![]() | Pay special attention when handling this appliance! |
![]() | Read the operating instructions be- fore starting operation! |
![]() | Wear eye and ear protectors! |
![]() | Do not expose the appliance to rain! |
![]() | Risk of objects being thrown out! |
![]() | Keep bystanders away! |
![]() | Remove the rechargeable battery before starting adjustment, cleaning or maintenance work. |
![]() | The distance between the attachment and persons not involved in the work must be at least 15 m in the entire area around the user. |
Operating signs
| Symbol | Meaning |
![]() | Tighten/loosen the telescopic pole. |
| Extending/shortening the telescopic pole. | |
![]() | Pull the unlocking lever at the auxiliary handle. |
Product overview (01)
The product overview provides an overview of the appliance.
| No. | Component | |
| Basic appliance | ||
| 1 | Upper hand grip | |
| 2 | ON/OFF switch | |
| 3 | Unlocking button | |
| 4 | Charge status display | |
| 5 | Auxiliary handle with unlocking lever | |
| 6 | Locking sleeve | |
| 7 | Telescopic pole | |
| Motor head | ||
| 8 | Locking button for cutter head | |
| 9 | Cutter head with motor | |
| 10 | Plant protection bar | |
| 11 | Jockey wheel | |
| 12 | Spool | |
| 13 | Guard plate with line cutter | |
| Accessories | ||
| 14 | Operating instructions | |
| 15 | Charger with mains plug* | |
| 16 | Rechargeable battery* | |
*Not included in the scope of supply, but can be purchased under the following article numbers:
See Technical data
Adjustable telescopic handle
The lawn trimmer is equipped with an adjustable telescopic handle. This allows the appliance to be set to individual body sizes, and allows the motor head to be swivelled.
Swivelling and adjustable cutter head
The lawn trimmer has a swivelling cutter head with an adjustable angle.
Automatic tip
An automatic tip function is integrated into the spool head, allowing the cutting line to be extended while the motor is running.
Scope of supply
The items listed here are included in the standard scope of supply. Check that all items are present:
| No. | Component |
| 1 | Lawn trimmer GT 1825 |
| 2 | Guard plate with screws |
| 3 | Replacement spool |
| 4 | Operating instructions |
NOTE The rechargeable battery and charging unit are not included in the scope of delivery and must therefore be purchased separately.
SAFETY INSTRUCTIONS
Safety instructions for the lawn trimmer
Operator
- Carefully read the safety instructions. Familiarise yourself with the operating and adjustment elements and the intended use of the appliance.
- Never allow children or persons unfamiliar with these instructions to use the appliance.
National regulations may limit the age of the operator. - Do not operate the appliance while under the influence of alcohol, drugs or medication.
- The user is responsible for accidents involving other people and their property.
Preparation
- Before operation, always check that protective devices and covers are undamaged, present or correctly fitted. Damaged protective devices and covers must be replaced, missing protective devices and covers must be correctly fitted.
- Never put the appliance into operation while people, especially children or pets, are in the immediate vicinity.
- Before working, remove any dangerous objects from the working area, e.g. branches, pieces of glass or metal, stones.
Operation
- Always wear eye protection, sturdy shoes and long trousers when working with the appliance.
- Do not work with the appliance in bad weather conditions, especially when thunderstorms are approaching.
- Only use the appliance in daylight or good artificial light.
- Never use the appliance if protective devices and covers are damaged or not present.
- Do not overreach. Keep proper footing and balance at all times. Walk and never run.
Make sure you are standing safely, particularly on slopes. - Do not touch any moving parts as long as the appliance is switched on. All moving parts must have come to a complete standstill after switching off and disconnection from the power supply.
- Never use the appliance with damaged protective devices or without installed protective devices, e.g. baffle plates and/or grass catchers. Appliances with mains cable: Do not use the appliance if the mains cable is damaged or worn.
- Always disconnect the appliance from the power supply, i.e. remove rechargeable batteries or non-rechargeable batteries:
■ before leaving the appliance unattended
■ before removing blockages in the appliance
■ before checking, cleaning or working on the appliance
■ whenever the appliance starts to vibrate in an unusual way - Always make sure that the ventilation openings on the appliance are free of foreign objects.
- After contact with dangerous objects and foreign bodies, inspect the appliance for damage. Have the appliance repaired if it has been damaged.
Maintenance and storage
- Before carrying out maintenance or cleaning work, disconnect the appliance from the power supply i.e. activate switch-on lock, remove rechargeable batteries or non-rechargeable batteries.
- Always wear protective gloves during maintenance, care and cleaning work.
- Only use the spare parts and accessories recommended by the manufacturer.
- Regularly check and maintain the appliance.
The appliance may only be repaired at one of the manufacturer’s service centres. - Keep the appliance out of the reach of children when not in use.
Safety in the workplace
- Before working, remove any dangerous objects from the working area, e.g. branches, glass or metal pieces, stones.
- Work only in daylight or under very bright artificial light.
- Operate the appliance only on solid and level ground and not on sharp inclines.
- Pay attention to stability.
Safety of persons, animals and property
- Note that the user is responsible for accidents and damage that may befall other persons or their property.
- Use the appliance only for the purposes for which it is intended. Any non-intended use can lead to injury and property damage.
- Switch on the appliance only when there are no other persons or animals in the working area.
- Maintain a safe distance to persons or animals, or switch off the appliance if persons or animals approach.
Appliance safety
- Use the appliance only under the following conditions:
■ The appliance is not soiled.
■ The appliance show no signs of damage.
■ All controls function properly. - Do not overload the device. It is intended for light work in the private sector. Overload can lead to damage to the appliance.
- Never operate the appliance with worn or defective parts. Always replace defective parts with original spare parts from the manufacturer. If the appliance is operated with worn or defective parts, guarantee claims against the manufacturer are excluded.
- Repair work is only allowed to be carried out by expert workshops or our service centres.
Vibration load
- Danger due to vibration
The actual magnitude of the vibration emissions during the use of the appliance may deviate from that stated by the manufacturer.
Observe the following influencing factors before or during use:
■ Is the appliance being used as intended?
■ Is the material being cut or processed in the proper manner?
■ Is the appliance in a proper condition of use?
■ Is the cutting tool properly sharpened or is the correct cutting tool installed?
■ Are the handle grips and any optional vibration grips mounted, and are they firmly attached to the appliance? - Only operate the tool at the motor speed required for the respective work. Avoid using the maximum speed in order to reduce noise and vibrations.
- The noise and vibrations of the tool may increase due to improper use and maintenance. This leads to health damage. In this case, immediately switch off the tool and have it repaired by an authorised service workshop.
- The degree of stress due to vibration depends on the work to be performed or on the use of the tool. Estimate the stress and plan appropriate work breaks. This considerably reduces stress due to vibration over the entire working time.
- Extensive use of the tool exposes the operator to vibrations, which can lead to circulatory issues (“white fingers”). To avoid this risk, wear gloves and keep your hands warm. If any symptoms of “white fingers” occur, immediately consult a physician. These symptoms include: Numbness, loss of feeling, tingling, itching, pain, reduced muscular strength, changes in the colour or condition of the skin. Normally these conditions affect the fingers, hands or pulse. The risk increases at low temperatures.
- Take long breaks during your working day so you can recover from the noise and the vibrations. Plan your work in such a way that the use of appliances that generate strong vibrations is spread over several days.
- If you notice an unpleasant sensation or discolouration of the skin on your hands when using the tool, stop work immediately. Take sufficient work breaks. Without sufficient breaks, a hand/arm vibration syndrome can occur.
- Minimise your risk of being exposed to vibrations. Maintain the tool according to the instructions in the operating instructions.
- If the tool is used frequently, contact your dealer to purchase anti-vibration accessories (e.g. handles).
- Avoid working with the tool at temperatures below 10 °C. Define how the vibration load can be limited in a work plan.
Noise pollution
A certain level of noise exposure from this appliance is inevitable. Carry out noisy work at approved and specified time periods. Observe rest periods as necessary and restrict the duration of the work to a minimum. For your personal protection and protection of persons in the vicinity, appropriate hearing protection must be worn.
Safety notes for rechargeable battery and charger
- Remove the batteries from the appliance before charging.
- Do not use different battery types or new and used batteries together in the appliance.
- Install the batteries in the appliance with the correct polarity.
- Remove the batteries from the appliance before putting it into storage for an extended period.
- Do not short-circuit the terminals of the appliance or battery.
Operating instructions
Please observe the safety instructions for the rechargeable battery and the charger in the separate operating instructions.
See:
- Operating instructions 443130: Rechargeable batteries
- Operating instructions 443131: Chargers
INSTALLATION
WARNING! Danger if assembly is not carried out completely! Use of an incompletely assembled appliance can result in serious injury.
- Operate the appliance only when it is fully assembled!
- Do not insert the battery into the appliance until it is fully assembled!
Installing the guard plate (02)
- Insert the guard plate (02/1) onto the cutter head (02/2). Ensure that the line is hanging (02/3) freely.
- Secure the guard plate on the cutter head with the screws provided (02/4).
START-UP
Removing transport guard from line cutter
Remove the transport guard from the line cutter before putting the appliance into operation for the first time.
Charging the rechargeable battery
Observe the temperature range for charging, see technical data.
NOTE For detailed information, see the separate operating instructions for the rechargeable battery and the charger:
- Operating manual 443130: Rechargeable batteries
- Operating manual 443131: Chargers
Fitting and removing the rechargeable battery (03)
IMPORTANT! Danger of damage to the rechargeable battery. If the rechargeable battery is left in the appliance after use, it may damage the rechargeable battery.
- Immediately after use, pull the rechargeable battery out of the appliance and store in a frost-protected area.
- Only insert the rechargeable battery in the appliance immediately before starting work.
Installing the battery
- Push rechargeable battery (03/1) into the battery slot until it engages (03/a).
Removing the battery
- Press and hold the unlocking button (03/2) on the rechargeable battery.
- Pulling out the rechargeable battery (03/b).
OPERATION
WARNING! Risk of injury due to detaching appliance parts. Appliance parts detaching during operation can lead to serious injury.
- Before turning the appliance on, check that all the parts of the appliance are firmly tightened.
- Attach cutting tools so that they cannot detach during operation.
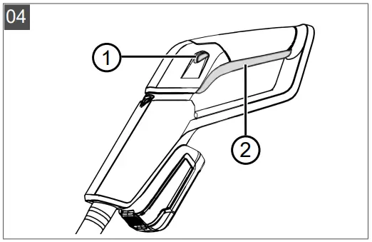
Switching the appliance on and off (04)
- Stand securely.
- Hold the appliance with both hands. Do not rest the cutter head on the ground when doing this.
- Hold auxiliary handle (01/5) in one hand and upper grip (01/1) in the other hand.
- Press unlocking button (04/1).
- Press ON/OFF switch (04/2) and hold. The appliance starts. The unlocking button can be released.
- Allow the lawn trimmer to run at idling speed for a few moments. This causes the cutting line to be cut off to the correct length.
- The appliance switches off if the ON/OFF switch is released.
WARNING! Danger of cutting injuries. After the appliance has been switched off, the spool head continues to rotate for a few seconds.
Reaching into the spool head during this time can result in cutting injuries.
- Wait until the spool head has come to a complete standstill.
Adjusting auxiliary handle (05)
The angle of the handle can be individually adjusted using the unlocking lever in the auxiliary handle.
- Pull unlocking lever (05/1) outwards (05/a).
- Tilt (05/b) auxiliary handle (05/2).
- Release unlocking lever.
Prolonging the cutting line during operation
The cutting line shortens during operation and frays out.
- When the ON/OFF switch is pressed and the spool is rotating: Tap spool head on the lawn from time to time. This unwinds a piece of new cutting line from the spool and the line cutter cuts off the used line end.
Adjusting telescopic pole (06)
The telescopic pole is infinitely adjustable. The length can thus be adapted individually to your height. The telescopic pole can be lengthened or shortened by 10 cm.
- Turn locking sleeve (06/1) in the direction of the open padlock (06/a) until the clamp is released.
- Lengthen or shorten (06/b) telescopic pole (06/2) individually according to your height.
- Tighten the locking sleeve (06/a).
Swivelling cutter head (07, 08)

For trimming lawn edges, for example, it is possible to swivel the cutter head through 180° (07, 08).
- Pull telescopic handle (07/1) slightly upwards (07/a).
- At the same time, turn cutter head (07/2) through 180° (07/b) until it engages.
- Allow the telescopic handle to slide down and engage (07/a).
Tilting cutter head (09)
By changing the pivot angle, it is also possible to trim areas that are difficult to access, e.g. under benches, overhangs, etc.
- Press the locking button (09/1) and hold (09/a).
- Tilt cutter head (09/2) to the desired angle and allow to engage (09/b).
- Release the locking button.
Checking the charge status of the rechargeable battery
Charge status indicator (01/4) is located on the top of the basic appliance.
It has three segments. The segments light up or flash, depending on the battery charge status.
| Segment | Battery charge level |
| 3 segments lit: | Rechargeable battery fully charged. |
| 2 segments lit: | Rechargeable battery 2/3 charged. |
| 1 segment lit: | Rechargeable battery 1/3 charged. |
| 1 segment flashing: | Rechargeable battery almost flat. The appli- ance will switch off shortly. |
WORKING BEHAVIOUR AND WORKING TECHNIQUE (10 – 12)



- Switch on the appliance before approaching the grass to be cut and then lower slowly to avoid overloading.
- Tilt the appliance slightly forwards (approx. 30°) to mow with the tip of the cutting line.
Walk forwards slowly (10). - When mowing, swivel the appliance evenly to the right and left (11).
- Long grass must be mown in several passes.
Always proceed from top to bottom (11). - The appliance cuts best at very high speed.
Therefore, do not overload the appliance by cutting long grass. - If the appliance is overloaded in long grass, the line will be blocked. Immediately lift the appliance so it releases. Otherwise, the motor could be permanently damaged.
- Do not move the appliance directly against hard obstacles (e.g. walls), but mow sideways. This protects the cutting line (12).
- Keep the appliance away from delicate plants. Fold the plant protection bar into the horizontal position.
- Allow the appliance to rest on the jockey wheel when trimming lawn edges. This will prevent excessive wear of the cutting line when trimming lawn edges.
MAINTENANCE AND CARE
WARNING! Danger of cuts and lacerations. Danger of cuts and lacerations when reaching into sharp-edged, moving appliance parts and into cutting tools.
- Before maintenance, care and cleaning work, always switch off the appliance. Remove the rechargeable battery.
- Always wear protective gloves during maintenance, care and cleaning work.
NOTE Repair work is only allowed to be carried out by expert workshops or our service centres. - Do not get the appliance wet or expose it to moisture. Do not spray with water.
- After each use, clean the housing and cutting blades with a brush or cloth. Do not use water and/or aggressive cleaning agents or solvents – risk of corrosion and damage to the plastic parts.
- After every use, remove the rechargeable battery and inspect the appliance for damage.
- Do not use the appliance if the blade of the line cutter is missing or damaged.
- Always keep the guard plate, spool head and motor clear of mowing residues.
- Inspect all bolts for tightness.
- Inspect the electrical contacts of the appliance for corrosion, clean with a fine wire brush if necessary and then spray with a contact spray.
Changing the spool (13)
Replacement spool: set of 2 (Article No.: 113349) Precondition: The appliance must be switched off and the rechargeable battery removed from the appliance.
Inserting and removing the spool
- Press (13/a) the two unlocking buttons (13/1) at the same time and remove cover (13/2).
- Remove empty spool (13/3).
- Insert (13/b) a new spool (13/4). Ensure that spring (13/5) is installed again.
- Thread the cutting line outwards through opening (13/6) of the spool head.
- Fit cover (13/2) and press on until it engages.
- Install the rechargeable battery in the appliance.
HELP IN CASE OF MALFUNCTION
CAUTION! Risk of injury. Sharp-edged and moving appliance parts can lead to injury.
- Always wear protective gloves during maintenance, care and cleaning work!
NOTE For malfunctions that are not listed in this table or that you cannot resolve yourself, please contact our customer service.
| Malfunction | Cause | Remedy |
| Additional cutting line is not supplied. | Spool is empty. | Change the spool. |
| Engine does not start. | Rechargeable battery is flat. | Charge the battery. |
| Rechargeable battery miss- ing or rechargeable battery not seated correctly. | Install the battery correctly. | |
| Power supply is interrupted. | 1. Remove the battery. 2. Clean the plug contacts of the appliance. | |
| The motor protection switch has switched off the motor due to overload. | Wait until the motor protection switch enables the motor again. | |
| Motor keeps cutting out. | Appliance errors | Contact a service centre of the manufacturer. |
| The ON/OFF switch is defective. | Contact a service centre of the manufacturer. | |
| Motor running, but the cutting line does not move. | Appliance errors | Contact a service centre of the manufacturer. |
| Appliance vibrates unusually. | Spool is contaminated. | Clean the spool, renew it if necessary. |
| Appliance errors | Contact a service centre of the manufacturer. | |
| Rechargeable battery operating time is significantly shorter. | Grass is too long or too wet. | ■ Cut the grass at a greater height. ■ Let the grass dry. |
| Cutting height is too low. | Cut the grass at a greater height. | |
| The service life of the battery has expired. | Replace the battery. Use only genuine accessories from the manufacturer. | |
| Rechargeable battery can- not be charged. | Rechargeable battery contacts are dirty. | Contact a service centre of the manufacturer. |
| Battery or charger is defective. | Order spare parts. Contact a service centre of the manufacturer. | |
| Battery is too hot. | Allow the battery to cool down. |
STORAGE
Thoroughly clean the appliance after each use and – if present – attach all covers. Store the appliance in a dry, lockable place out of the reach of children.
- Hang up the lawn trimmer by its handle. This avoids placing unnecessary load on the cutter head.
Carry out the following jobs before intervals in work lasting for longer than 30 days: - Thoroughly clean the appliance and store it in a dry place.
Storing the rechargeable battery and charging unit
NOTE For detailed information, heed the separate operating instructions for the rechargeable battery and for the charging unit.
TRANSPORT
Before transporting, carry out the following measures:
- Switch off the appliance.
- Remove the rechargeable battery from the appliance.
- Pack the battery properly (see below).
Rechargeable battery “B125 Li” (Art. No. 113896)
NOTE The nominal energy of the rechargeable battery is more than 100 Wh. Therefore, observe the following transport instructions.
The li-ion rechargeable battery contained in the appliance is subject to the hazardous goods law, but can be transported under simplified conditions:
- The rechargeable battery can be transported on public roads by the private user without further conditions provided it is packaged for retail sale and the transport serves personal purposes.
- Commercial users who carry out the transport in connection with their main activity (e.g. delivery from and to building sites, or demonstrations) can also take advantage of this simplification.
In both cases, it is essential to take the mandatory precautions mentioned above to prevent any leakage of the contents. In other cases, it is essential to comply with the regulations of the hazardous goods law. In the case of non-compliance, severe penalties can be imposed on the sender and possibly the transporter.
Additional notes on transport and shipment
- Only transport or send the li-ion rechargeable battery in an undamaged condition.
- For transporting the rechargeable battery, only use the original cardboard box or a suitable hazardous goods cardboard box (not required for rechargeable batteries with a nominal energy less than 100 Wh).
- Tape off exposed rechargeable battery contacts to avoid a short circuit.
- Secure the rechargeable battery against shifting in the packaging to avoid damage to the rechargeable battery.
- Ensure the correct marking and documentation of the shipment for transport or shipping (e.g. by parcel service or freight forwarding).
- Check in advance that transport with the selected service provider is possible and indicate the shipment.
We recommend involving a hazardous goods specialist in preparation of the shipment. Also heed any further national regulations.
DISPOSAL
Information on the German Electrical and Electronic Equipment Act (ElectroG)
Electrical and electronic appliances do not belong in household waste, but should be collected and disposed of separately.- Used batteries or rechargeable batteries that are not installed permanently in the old appliance must be removed before disposal. Their disposal is regulated by the battery law.
- Owners or users of electrical and electronic appliances are obliged by law to return them after use.
- The end user bears personal responsibility for deleting his personal data from the old appliance to be disposed of.
The symbol of the crossed-through rubbish bin means that electrical and electronic appliances may not be disposed of in the household rubbish. Electrical and electronic appliances can be handed in at the following places at no charge:
- Public service disposal or collection points (e.g. municipal building yards)
- Points of sale of electrical appliances (stationary and online) provided traders are obliged to take them back or offer this voluntarily.
These statements only apply to appliances that are installed and sold in the countries of the European Union and are subject to European Directive 2012/19/EU. Different provisions may apply to the disposal of electrical and electronic appliances in countries outside the European Union.
Information on the German Battery Act (BattG)
Used batteries and rechargeable batteries do not belong in household waste, but should be collected and disposed of separately.- For safe removal of batteries or rechargeable batteries from the electrical appliance and for information on their type or chemical system, follow the further information within the operating or installation instructions.
- Owners or users of batteries and rechargeable batteries are obliged by law to return them after use. Return is limited to the handover of customary household quantities.
Used batteries can contain harmful substances or heavy metals that can cause damage to the environment and human health. Reuse of the used batteries and use of the resources contained therein contributes to the protection of these two essential commodities.
The symbol of the crossed-through rubbish bin means that batteries and rechargeable batteries may not be disposed of in household rubbish.
In addition, if the symbol Hg, Cd or Pb appears under the rubbish bin, this stands for the following:
- Hg: Battery contains more than 0.0005 % mercury
- Cd: Battery contains more than 0.002 % cadmium
- Pb: Battery contains more than 0.004 % lead Rechargeable batteries and batteries can be handed in at the following places at no charge:
- Public service disposal or collection points (e.g. municipal building yards)
- Points of sale of batteries and rechargeable batteries
- Disposal points of the common take-back system for the used batteries of appliances
- Disposal point of the manufacturer (if not a member of the common take-back system)
These statements apply only to rechargeable batteries and batteries that are sold in the countries of the European Union and that are subject to European Directive 2006/66/EU. Different provisions can apply to the disposal of rechargeable batteries and batteries in countries outside the European Union.
AFTER-SALES/SERVICE
In the event of questions of warranty, repair or spare parts, please contact your nearest ALKO Service Centre. These can be found on the Internet at: www.al-ko.com/service-contacts
GUARANTEE
We will resolve any material or manufacturing faults on the appliance during the legal warranty period for claims relating to faults, in accordance with our choice either to repair or replace. The legal warranty period is determined by the legislation of the country in which the appliance was purchased.
Our warranty promise applies only if:
- These operating instructions are heeded
- The appliance is handled correctly
- Original spare parts have been used
The warranty becomes void in the case of:
- Unauthorized repair attempts
- Unauthorized technical modifications
- Non-intended use
The guarantee excludes:
- Paint damage that can be attributed to normal wear and tear
- Wear parts that are marked with a frame
on the spare parts card
The guarantee period commences with purchase by the first end user. The date on the proof of purchase is decisive. In the event of a guarantee claim, please take this guarantee declaration and the original proof of purchase, and contact your dealer or the nearest authorized customer service center.
This statement does not affect the purchaser’s statutory claims for defects against the vendor.
Customer Service
Russia
Импортер в Российской Федерации
ООО «АЛ-КО КОБЕР», 107553, г.Москва, ул.Большая Черкизовская, д.24а, стр.1, пом.76, тел.
8-800-550-1931, [email protected]
Ukraine
ТОВ АЛ-КО КОБЕР
вул. Броварська 156, 07442
с. Велика Димерка, Броварській район,
Київська область, Україна
Телефон/факс: +38 044 392-07-08 / 09
UK
Imported by: AL-KO Gardentech UK Ltd, Murray way, Wincanton, Somerset, BA9 9RS / UK | +44 (0) 1963
828055
[email protected] | www.alko-garden.uk
AL-KO GERÄTE GmbH | Head Quarter | Ichenhauser Str. 14 | 89359 Kötz | Deutschland
Telefon: (+49)8221/203-0 | E-Mail: [email protected] | www.al-ko.com
AL-KO Service: www.al-ko.com/service-contacts







































Electrical and electronic appliances do not belong in household waste, but should be collected and disposed of separately.
Used batteries and rechargeable batteries do not belong in household waste, but should be collected and disposed of separately.












