makita UR006G Cordless Grass Trimmer

Pictorial Instructions













































SPECIFICATIONS
| Model: | UR006G | UR007G | |
| Handle type | Bike handle | Loop handle | |
| No load speed (at each rotation speed level) | Cutter blade Plastic blade (305 mm) | 3: 0 – 7,000 min-1 2: 0 – 5,500 min-1 1: 0 – 4,600 min-1 | |
| Nylon cutting head Plastic blade (255 mm) | 3: 0 – 5,500 min-1 2: 0 – 5,000 min-1 1: 0 – 4,600 min-1 | ||
| Overall length (without cutting tool and battery) | 1,815 mm | ||
| Nylon cord diameter | 2.4 mm | ||
| Applicable cutting tool and cutting diameter | 2-tooth blade (P/N 198345-9) | 255 mm | |
| 3-tooth blade (P/N 195299-1) | 255 mm | ||
| 4-tooth blade (P/N 196895-8) | 255 mm | ||
| Nylon cutting head (P/N 197993-1) | 430 mm | ||
| Plastic blade (P/N 198383-1) (P/N 199868-0) | 255 mm | ||
| Rated voltage | D.C. 36 V – 40 V max | ||
| Net weight | 5.7 – 6.3 kg | 5.3 – 5.9 kg | |
| Protection degree | IPX4 | ||
- Due to our continuing program of research and development, the specifications herein are subject to change without notice.
- Specifications may differ from country to country.
- The weight may differ depending on the attachment(s), including the battery cartridge. The lightest and heavi-est combination, according to EPTA-Procedure 01/2014, are shown in the table.
Applicable Battery Cartridge and Charger
| Battery cartridge | BL4020 / BL4025* / BL4040* / BL4050F* * : Recommended battery |
| Charger | DC40RA / DC40RB / DC40RC |
- Some of the battery cartridges and chargers listed above may not be available depending on your region of residence.
WARNING: Only use the battery cartridges and chargers listed above. Use of any other battery cartridges and chargers may cause injury and/or fire.
Recommended Cord Connected Power Source
| Portable power pack | PDC01 / PDC1200 |
- The cord connected power source(s) listed above may not be available depending on your region of residence.
- Before using the cord connected power source, read instruction and cautionary markings on them.
Noise
Model UR006G
| Cutting tool | Sound pressure level (LpA) dB(A) | Sound power level (LWA) dB(A) | Applicable standard | ||
| LpA dB(A) | Uncertainty (K) dB(A) | LWA dB(A) | Uncertainty (K) dB(A) | ||
| 2-tooth blade | 80.8 | 1.0 | 95.4 | 0.8 | ISO22868 (ISO11806-1) |
| 4-tooth blade | 82.9 | 0.8 | 99.2 | 0.5 | ISO22868 (ISO11806-1) |
| Nylon cutting head | 81.7 | 0.9 | 92.7 | 1.6 | ISO22868 |
| (ISO11806-1)/ | |||||
| EN50636-2-91 | |||||
| Plastic blade | 77.0 | 2.3 | 88.4 | 2.4 | ISO22868 |
| (ISO11806-1)/ | |||||
| EN50636-2-91 | |||||
Model UR007G
| Cutting tool | Sound pressure level (LpA) dB(A) | Sound power level (LWA) dB(A) | Applicable standard | ||
| LpA dB(A) | Uncertainty (K) dB(A) | LWA dB(A) | Uncertainty (K) dB(A) | ||
| 2-tooth blade | 80.8 | 1.0 | 95.4 | 0.8 | ISO22868 (ISO11806-1) |
| 4-tooth blade | 82.9 | 0.8 | 99.2 | 0.5 | ISO22868 (ISO11806-1) |
| Nylon cutting head | 81.7 | 0.9 | 92.7 | 1.6 | ISO22868 |
| (ISO11806-1)/ | |||||
| EN50636-2-91 | |||||
| Plastic blade | 77.0 | 2.3 | 88.4 | 2.4 | ISO22868 |
| (ISO11806-1)/ | |||||
| EN50636-2-91 | |||||
- Even if the sound pressure level listed above is 80 dB (A) or less, the level under working may exceed 80 dB (A). Wear ear protection
NOTE: The declared noise emission value(s) has been measured in accordance with a standard test method and may be used for comparing one tool with another.
NOTE: The declared noise emission value(s) may also be used in a preliminary assessment of exposure.
WARNING: Wear ear protection.
WARNING: The noise emission during actual use of the power tool can differ from the declared value(s) depending on the ways in which the tool is used especially what kind of workpiece is processed.
WARNING: Be sure to identify safety measures to protect the operator that are based on an estimation of exposure in the actual conditions of use (taking account of all parts of the operating cycle such as the times when the tool is switched off and when it is running idle in addition to the trigger time).
Vibration
Applicable standard : ISO22867(ISO11806-1) Model UR006G
| Cutting tool | Left hand | Right hand | ||
| ah,W (m/s2) | Uncertainty K (m/s2) | ah,W (m/s2) | Uncertainty K (m/s2) | |
| 2-tooth blade | 2.5 | 1.5 | 2.5 | 1.5 |
| 4-tooth blade | 2.5 | 1.5 | 2.5 | 1.5 |
| Nylon cutting head | 2.5 | 1.5 | 2.5 | 1.5 |
| Plastic blade | 2.5 | 1.5 | 2.5 | 1.5 |
Model UR007G
| Cutting tool | Left hand | Right hand | ||
| ah,W (m/s2) | Uncertainty K (m/s2) | ah,W (m/s2) | Uncertainty K (m/s2) | |
| 2-tooth blade | 2.5 | 1.5 | 2.5 | 1.5 |
| 4-tooth blade | 2.5 | 1.5 | 2.5 | 1.5 |
| Nylon cutting head | 2.5 | 1.5 | 2.5 | 1.5 |
| Plastic blade | 2.5 | 1.5 | 2.5 | 1.5 |
NOTE: The declared vibration total value(s) has been measured in accordance with a standard test method and may be used for comparing one tool with another.
NOTE: The declared vibration total value(s) may also be used in a preliminary assessment of exposure.
WARNING: The vibration emission during actual use of the power tool can differ from the declared value(s) depending on the ways in which the tool is used especially what kind of workpiece is processed.
WARNING: Be sure to identify safety measures to protect the operator that are based on an estimation of exposure in the actual conditions of use (taking account of all parts of the operating cycle such as the times when the tool is switched off and when it is running idle in addition to the trigger time).
Symbols
The followings show the symbols which may be used for the equipment. Be sure that you understand their meaning before use.
- Take particular care and attention.
- Read instruction manual.
- 15m(50FT) Keep distance at least 15 m.
- Danger; be aware of thrown objects.
- Caution; kickback
- Wear a helmet, goggles and ear protection.
- Wear safety glasses.
- Wear ear protection.
- Wear protective gloves.
- Wear sturdy boots with nonslip soles.
- Stilettoed safety boots are recommended.
Only for EU Countries
Due to the presence of hazardous components in the equipment, waste electrical and electronic equipment, accumulators and batteries may have a negative impact on the environment and human health. Do not dispose of electrical and electronic appliances or batteries with household waste! In accordance with the European Directive on waste electrical and electronic equipment and on accumulators and batteries and waste accumulators and batteries, as well as their adaptation to national law, waste electrical equipment, batteries and accumulators should be stored separately and delivered to a separate collection point for municipal waste, operating in accordance with the regulations on environmental protection.
This is indicated by the symbol of the crossed-out wheeled bin placed on the equipment.
- Guaranteed sound power level according to EU Outdoor Noise Directive.
- Sound power level according to Australia NSW Noise Control Regulation
EC Declaration of Conformity
For European countries only
The EC declaration of conformity is included as Annex A to this instruction manual.
SAFETY WARNINGS
General power tool safety warnings
WARNING: Read all safety warnings, instructions, illustrations and specifications provided with this power tool. Failure to follow all instructions listed below may result in electric shock, fire and/or serious injury.
Save all warnings and instructions for future reference.
The term “power tool” in the warnings refers to your mains-operated (corded) power tool or battery-operated (cordless) power tool.
Important safety instructions for the tool
WARNING: Read all safety warnings and all instructions. Failure to follow the warnings and instructions may result in electric shock, fire and/or serious injury.
Save all warnings and instructions for future reference.
Intended use
- This tool is only intended for cutting grass, weeds, bushes and undergrowth. It should not be used for any other purpose such as edging or hedge cutting as this may cause injury.
General Instructions
- Never allow people unfamiliar with these instructions, people (including children) with reduced physical, sensory or mental capabilities, or lack of experience and knowledge to use the tool. Children should be supervised to ensure that they do not play with the tool.
- Before starting the tool, read this instruction manual to become familiar with the handling of the tool.
- Do not lend the tool to a person with insufficient experience or knowledge regarding handling of brush cutters and string trimmers.
- When lending the tool, always attach this instruction manual.
- Handle the tool with the utmost care and attention.
- Never use the tool after consuming alcohol or drugs, or if feeling tired or ill.
- Never attempt to modify the tool.
- Follow the regulations about handling of brush cutters and string trimmers in your country.
Personal Protective Equipment
- Wear safety helmet, protective goggles and protective gloves to protect yourself from flying debris or falling objects.
- Wear ear protection such as ear muffs to pre-vent hearing loss.
- Wear proper clothing and shoes for safe operation, such as a work overall and sturdy, non-slip shoes. Do not wear loose clothing or jewelry. Loose clothes, jewelry or long hair can be caught in moving parts.
- When touching the cutting blade, wear protective gloves. Cutting blades can cut bare hands severely.
Work Area Safety
- Operate the tool under good visibility and day-light conditions only. Do not operate the tool in darkness or fog.
- Do not operate the tool in explosive atmospheres, such as in the presence of flammable liquids, gases or dust. The tool creates sparks which may ignite the dust or fumes.
- During operation, never stand on an unstable or slippery surface or a steep slope. During the cold season, beware of ice and snow and always ensure secure footing.
- During operation, keep bystanders or animals at least 15 m away from the tool. Stop the tool as soon as someone approaches.
- Never operate the tool while people, especially children, or pets are nearby.
- Before operation, examine the work area for stones or other solid objects. They can be thrown or cause dangerous kickback and result in serious injury and/or property damage.
- WARNING: Use of this product can create dust containing chemicals which may cause respiratory or other illnesses. Some examples of these chemicals are compounds found in pesticides, insecticides, fertilizers and herbicides. Your risk from these exposures varies, depending on how often you do this type of work. To reduce your exposure to these chemicals: work in a well ventilated area, and work with approved safety equipment, such as those dust masks that are specially designed to filter out microscopic particles.
Electrical and Battery Safety
- Do not expose the tool to rain or wet conditions. Water entering the tool will increase the risk of electric shock.
- Do not use the tool if the switch does not turn it on and off. Any tool that cannot be con-trolled with the switch is dangerous and must be repaired.
- Prevent unintentional starting. Ensure the switch is in the off-position before installing a battery pack, picking up or carrying the tool. Carrying the tool with your finger on the switch or energizing the tool that have the switch on invites accidents.
- Do not dispose of the battery(ies) in a fire. The cell may explode. Check with local codes for possible special disposal instructions.
- Do not open or mutilate the battery(ies). Released electrolyte is corrosive and may cause damage to the eyes or skin. It may be toxic if swallowed.
- Do not charge battery in rain, or in wet locations.
- Avoid dangerous environment. Don’t use the tool in dump or wet locations or expose it to rain. Water entering the tool will increase the risk of electric shock.
- Do not charge the battery outdoors.
- Do not handle charger, including charger plug, and charger terminals with wet hands.
- Do not replace the battery with wet hands.
- Do not replace the battery in the rain.
- Do not wet the terminal of battery with liquid such as water, or submerge the battery. Do not leave the battery in the rain, nor charge, use, or store the battery in a damp or wet place. If the terminal gets wet or liquid enters inside of battery, the battery may be short circuited and there is a risk of overheat, fire, or explosion.
- After removing the battery from the tool or charger, be sure to attach the battery cover to the battery and store it in a dry place.
- If the battery cartridge gets wet, drain the water inside and then wipe it with a dry cloth. Dry the battery cartridge completely in a dry place before use.
- When you use the tool on muddy ground, wet slope, or slippery place, pay attention to your footing.
Putting into Operation
- Before assembling or adjusting the tool, remove the battery cartridge.
- Before handling the cutter blade, wear protective gloves.
- Before installing the battery cartridge, inspect the tool for damages, loose screws/nuts or improper assembly. Sharpen blunt cutter blade. If the cutter blade is bent or dam-aged, replace it. Check all control levers and switches for easy action. Clean and dry the handles.
- Never attempt to switch on the tool if it is dam-aged or not fully assembled. Otherwise serious injury may result.
- Adjust the shoulder harness and hand grip to suit the operator’s body size.
- When inserting a battery cartridge, keep the cutting attachment clear of your body and other object, including the ground. It may rotate when starting and may cause injury or damage to the tool and/or property.
- Remove any adjusting key, wrench or blade cover before turning the tool on. An accessory left attached to a rotating part of the tool may result in personal injury.
- The cutting tool has to be equipped with the guard. Never run the tool with damaged guards or without guards in place!
- Make sure there are no electrical cables, water pipes, gas pipes etc. that could cause a hazard if damaged by use of the tool..
Operation
- In the event of an emergency, switch off the tool immediately.
- If you feel any unusual condition (e.g. noise, vibration) during operation, switch off the tool and remove the battery cartridge. Do not use the tool until the cause is recognized and solved.
- The cutting attachment continues to rotate for a short period after turning the tool off. Don’t rush to contact the cutting attachment.
- During operation, use the shoulder harness. Keep the tool on your right side firmly.
- Do not overreach. Keep proper footing and balance at all times. Watch for hidden obstacles such as tree stumps, roots and ditches to avoid stumbling.
- Always be sure of your footing on slopes.
- Walk, never run.
- Never work on a ladder or tree to avoid loss of control.
- If the tool gets heavy impact or fall, check the condition before continuing work. Check the controls and safety devices for malfunction. If there is any damage or doubt, ask our authorized service center for the inspection and repair.
- Do not touch the gear case during and immediately after the operation. The gear case becomes hot during operation and can cause burn injury.
- Take a rest to prevent loss of control caused by fatigue. We recommend taking a 10 to 20-min-ute rest every hour.
- When you leave the tool, even if it is a short time, always remove the battery cartridge. The unattended tool with the battery cartridge installed may be used by unauthorized person and cause serious accident.
- If grass or branches get caught between the cutting attachment and guard, always turn the tool off and remove the battery cartridge before cleaning. Otherwise the cutting attachment may rotate unintentionally and cause serious injury.
- Never touch moving hazardous parts before the moving hazardous parts have come to a complete stop and the battery cartridge is removed.
- If the cutting attachment hits stones or other hard objects, immediately turn the tool off. Then remove the battery cartridge and inspect the cutting attachment.
- Check the cutting attachment frequently during operation for cracks or damages. Before the inspection, remove the battery cartridge and wait until the cutting attachment stops completely. Replace damaged cutting attachment immediately, even if it has only superficial cracks.
- Never cut above waist height.
- Before starting the cutting operation, wait until the cutting attachment reaches a constant speed after turning the tool on.
- When using a cutting blade, swing the tool evenly in half-circle from right to left, like using a scythe.
- Hold the tool by insulated gripping surfaces only, because the cutter blade may contact hidden wiring. Cutter blades contacting a “live” wire may make exposed metal parts of the tool
“live” and could give the operator an electric shock. - Do not start the tool when the cutting tool is tangled with cut grass.
- Before starting the tool, be sure that the cut-ting tool is not touching the ground and other obstacles such as a tree.
- During operation always hold the tool with both hands. Never hold the tool with one hand during use.
- Do not operate the tool in bad weather or if there is a risk of lightning.
- When you use the tool on muddy ground, wet slope, or slippery place, pay attention to your footing.
- Avoid working in poor environment where increased user fatigue is expected.
- Do not use the tool in bad weather where visibility is limited. Failure to do so may cause fall or incorrect operation due to low visibility.
- Do not submerge the tool into a puddle.
- Do not leave the tool unattended outdoors in the rain.
- When wet leaves or dirt adhere to the suction mouth (ventilation window) due to rain, remove them.
- Do not use the tool in the snow.
Cutting Tools
- Do not use a cutting tool which is not recommended by us.
- Use an applicable cutting attachment for the job in hand.
- Nylon cutting heads (string trimmer heads)and plastic blades are suitable for trimming lawn grass.
- Cutting blades are suitable for cutting weeds, high grasses, bushes, shrubs, underwood, thicket, and the like.
- Never use other blades including metal multi-piece pivoting chains and flail blades. It may result in serious injury.
- Only use the cutting tool that are marked with a speed equal or higher than the speed marked on the tool.
- Always keep your hands, face, and clothes away from the cutting tool when it is rotating. Failure to do so may cause personal injury.
- Always use the cutting attachment guard properly suited for the cutting attachment used.
- When using cutting blades, avoid kickback and always prepare for an accidental kickback. See the section for Kickback.
- When not in use, attach the blade cover onto the blade. Remove the cover before operation.
Kickback (Blade Thrust)
- Kickback (blade thrust) is a sudden reaction to a caught or bound cutting blade. Once it occurs, the tool is thrown sideway or toward the operator at great force and it may cause serious injury.
- Kickback occurs particularly when applying the blade segment between 12 and 2 o’clock to solids, bushes and trees with 3 cm or larger diameter.
- To avoid kickback:
- Apply the segment between 8 and 11 o’clock.
- Never apply the segment between 12 and 2 o’clock.
- Never apply the segment between 11 and 12 o’clock and between 2 and 5 o’clock, unless the operator is well trained and experienced and does it at his/her own risk.
- Never use cutting blades close to solids, such as fences, walls, tree trunks and stones.
- Never use cutting blades vertically, for such operations as edging and trimming hedges.
► Fig.3
Vibration
- People with poor circulation who are exposed to excessive vibration may experience injury to blood vessels or the nervous system. Vibration may cause the following symptoms
to occur in the fingers, hands or wrists: “Falling asleep” (numbness), tingling, pain, stabbing sensation, alteration of skin color or of the skin. If any of these symptoms occur, see a physician! - To reduce the risk of “white finger disease”, keep your hands warm during operation and well maintain the tool and accessories.
Transport
- Before transporting the tool, turn it off and remove the battery cartridge. Attach the cover to the cutting blade.
- When transporting the tool, carry it in a horizontal position by holding the shaft.
- When transporting the tool in a vehicle, properly secure it to avoid turnover. Otherwise damage to the tool and other baggage may result.
Maintenance
- Have your tool serviced by our authorized service center, always using only genuine replacement parts. Incorrect repair and poor maintenance can shorten the life of the tool and increase the risk of accidents.
- Before doing any maintenance or repair work or cleaning the tool, always turn it off and remove the battery cartridge.
- Always wear protective gloves when handling the cutting blade.
- Always clean dust and dirt off the tool. Never use gasoline, benzine, thinner, alcohol or the like for the purpose. Discoloration, deformation or cracks of the plastic components may result.
- After each use, tighten all screws and nuts.
- Do not attempt any maintenance or repair not described in the instruction manual. Ask our authorized service center for such work.
- Always use our genuine spare parts and accessories only. Using parts or accessories supplied by a third party may result in the tool breakdown, property damage and/or serious injury.
- Request our authorized service center to inspect and maintain the tool at regular interval.
- Always keep the tool in good working condition. Poor maintenance can result in inferior performance and shorten the life of the tool.
- Keep handles dry, clean and free from oil and grease. Keep all cooling air inlets clear of debris.
- Do not wash the tool with high pressure water.
- When washing the tool, do not let water enter the electrical mechanism such as battery, motor, and terminals.
- When storing the tool, avoid direct sunlight and rain, and store it in a place where it does not get hot or humid.
- Perform inspection or maintenance in a place where rain can be avoided.
- After using the tool, remove the adhered dirt and dry the tool completely before storing. Depending on the season or the area, there is a risk of malfunction due to freezing.
Storage
- Before storing the tool, perform full cleaning and maintenance. Remove the battery cartridge. Attach the cover to the cutting blade.
- Store the tool in a dry and high or locked location out of reach of children.
- Do not prop the tool against something, such as a wall. Otherwise it may fall suddenly and cause an injury.
First aid
- Always have a first-aid kit close by. Immediately replace any item taken from the first aid kit.
- When asking for help, give the following information:
- Place of the accident
- What happened
- Number of injured persons
- Nature of the injury
- Your name
SAVE THESE INSTRUCTIONS.
WARNING: DO NOT let comfort or familiarity with product (gained from repeated use) replace strict adherence to safety rules for the subject product. MISUSE or failure to follow the safety rules stated in this instruction manual may cause serious personal injury.
Important Safety Instructions for Battery Cartridge
- Before using battery cartridge, read all instructions and cautionary markings on (1) battery charger, (2) battery, and (3) product using battery.
- Do not disassemble or tamper the battery cartridge. It may result in a fire, excessive heat, or explosion.
- If operating time has become excessively shorter, stop operating immediately. It may result in a risk of overheating, possible burns and even an explosion.
- If electrolyte gets into your eyes, rinse them out with clear water and seek medical attention right away. It may result in loss of your eyesight.
- Do not short the battery cartridge:
- Do not touch the terminals with any conductive material.
- Avoid storing battery cartridge in a container with other metal objects such as nails, coins, etc.
- Do not expose battery cartridge to water or rain.
A battery short can cause a large current flow, overheating, possible burns and even a breakdown.
- Do not store and use the tool and battery cartridge in locations where the temperature may reach or exceed 50 °C (122 °F).
- Do not incinerate the battery cartridge even if it is severely damaged or is completely worn out. The battery cartridge can explode in a fire.
- Do not nail, cut, crush, throw, drop the battery cartridge, or hit against a hard object to the battery cartridge. Such conduct may result in a fire, excessive heat, or explosion.
- Do not use a damaged battery.
- The contained lithium-ion batteries are subject to the Dangerous Goods Legislation requirements. For commercial transports e.g. by third parties, forwarding agents, special requirement on pack-aging and labeling must be observed. For preparation of the item being shipped, consulting an expert for hazardous material is required. Please also observe possibly more detailed national regulations. Tape or mask off open contacts and pack up the battery in such a manner that it cannot move around in the packaging.
- When disposing the battery cartridge, remove it from the tool and dispose of it in a safe place. Follow your local regulations relating to disposal of battery.
- Use the batteries only with the products specified by Makita. Installing the batteries to non-compliant products may result in a fire, excessive heat, explosion, or leak of electrolyte.
- If the tool is not used for a long period of time, the battery must be removed from the tool.
- During and after use, the battery cartridge may take on heat which can cause burns or low temperature burns. Pay attention to the handling of hot battery cartridges.
- Do not touch the terminal of the tool immediately after use as it may get hot enough to cause burns.
- Do not allow chips, dust, or soil stuck into the terminals, holes, and grooves of the battery cartridge. It may result in poor performance or breakdown of the tool or battery cartridge.
- Unless the tool supports the use near high-voltage electrical power lines, do not use the battery cartridge near a high-voltage elec-trical power lines. It may result in a malfunction or breakdown of the tool or battery cartridge.
- Keep the battery away from children.
SAVE THESE INSTRUCTIONS.
CAUTION: Only use genuine Makita batteries. Use of non-genuine Makita batteries, or batteries that have been altered, may result in the battery bursting causing fires, personal injury and damage. It will also void the Makita warranty for the Makita tool and charger.
Tips for Maintaining Maximum Battery Life
- Charge the battery cartridge before completely dis-charged. Always stop tool operation and charge the battery cartridge when you notice less tool power.
- Never recharge a fully charged battery cartridge. Overcharging shortens the battery service life.
- Charge the battery cartridge with room temperature at 10 °C – 40 °C (50 °F – 104 °F). Let a hot battery cartridge cool down before charging it.
- When not using the battery cartridge, remove it from the tool or the charger.
- Charge the battery cartridge if you do not use it for a long period (more than six months).
PARTS DESCRIPTION
| 1 | Speed indicator | 2 | ADT indicator (ADT = Automatic Torque Drive Technology) | 3 | Caution lamp | 4 | Main power button |
| 5 | Reverse button | 6 | Battery cartridge | 7 | Lock-off lever | 8 | Switch trigger |
| 9 | Hanger | 10 | Handle | 11 | Barrier (country specific) | 12 | Protector |
| 13 | Protector extension (for nylon cutting head / plastic blade) | 14 | Shoulder harness | – | – | – | – |
FUNCTIONAL DESCRIPTION
WARNING: Always be sure that the tool is switched off and the battery cartridge is removed before adjusting or checking function on the tool. Failure to switch off and remove the battery cartridge may result in serious personal injury from accidental start-up.
Installing or Removing Battery Cartridge
CAUTION: Always switch off the tool before installing or removing of the battery cartridge.
CAUTION: Hold the tool and the battery cartridge firmly when installing or removing battery cartridge. Failure to hold the tool and the battery cartridge firmly may cause them to slip off your hands and result in damage to the tool and battery cartridge and a personal injury.
Fig.5: 1. Red indicator 2. Button 3. Battery cartridge
To remove the battery cartridge, slide it from the tool while sliding the button on the front of the cartridge. To install the battery cartridge, align the tongue on the battery cartridge with the groove in the housing and slip it into place. Insert it all the way until it locks in place with a little click. If you can see the red indicator as shown in the figure, it is not locked completely.
CAUTION: Always install the battery cartridge fully until the red indicator cannot be seen. If not, it may accidentally fall out of the tool, causing injury to you or someone around you.
CAUTION: Do not install the battery cartridge forcibly. If the cartridge does not slide in easily, it is not being inserted correctly.
Tool / Battery Protection System
The tool is equipped with a tool/battery protection system. This system automatically cuts off power to the motor to extend tool and battery life. The tool will automatically stop during operation if the tool is placed under one of the following conditions:
| Caution Lamp | Status | ||
| Color | On | Blinking | |
| Green | Overload | ||
| Red | (tool) / (battery) | Overheat | |
| Red | Over discharge | ||
Overload Protection
If the tool gets into one of the following situation, the tool automatically stops and the caution lamp starts blinking in green:
- The tool is overloaded by entangled weeds or other debris.
- The cutting tool is locked or kicked back.
- The main power button is turned on while the switch trigger is being pulled.
In this situation, release the switch trigger and remove entangled weeds or debris if necessary. After that, pull the switch trigger again to resume.
CAUTION: If you need to remove the entangled weeds on the tool or release the locked cutting tool, be sure to turn the tool off before you start.
Overheat protection for tool or battery
If the tool or battery cartridge is overheated, the tool stops automatically. When the tool is overheated, the caution lamp lights up in red. When the battery cartridge is overheated, the caution lamp blinks in red. Let the tool and/or battery cool down before turning the tool on again.
Over discharge protection
When the battery capacity becomes low, the tool stops automatically and the caution lamp starts blinking in red. If the tool does not operate even when the switches are operated, remove the battery cartridge from the tool and charge it.
Indicating the remaining battery capacity
Press the check button on the battery cartridge to indicate the remaining battery capacity. The indicator lamps light up for a few seconds.
Fig.6: 1. Indicator lamps 2. Check button

NOTE: Depending on the conditions of use and the ambient temperature, the indication may differ slightly from the actual capacity.
NOTE: The first (far left) indicator lamp will blink when the battery protection system works.
Main Power Switch
Tap the main power button to turn on the tool. To turn off the tool, press and hold the main power button until the speed indicator goes off.
Fig.7: 1. Speed indicator 2. Main power button
NOTE: The tool will automatically turned off if it is left without any operations for a certain period of time.
Switch Action
WARNING: For your safety, this tool is equipped with lock-off lever which prevents the tool from unintended starting. NEVER use the tool if it runs when you simply pull the switch trigger without pressing the lock-off lever. Return the tool to our authorized service center for proper repairs BEFORE further usage.
WARNING: NEVER tape down or defeat purpose and function of lock-off lever.
CAUTION: Before installing the battery cartridge into the tool, always check to see that the switch trigger actuates properly and returns to the “OFF” position when released. Operating a tool with a switch that does not actuate properly can lead to loss of control and serious personal injury.
CAUTION: Never put your finger on the main power button and switch trigger when carrying the tool. The tool may start unintentionally and cause injury.
NOTICE: Do not pull the switch trigger hard with-out pressing the lock-off lever. This can cause switch breakage.
To prevent the switch trigger from being accidentally pulled, a lock-off lever is provided. To start the tool, depress the lock-off lever and pull the switch trigger. The tool speed increases by increasing pressure on the switch trigger. Release the switch trigger to stop.
UR006G
Fig.8: 1. Lock-off lever 2. Switch trigger
UR007G
Fig.9: 1. Lock-off lever 2. Switch trigger
Speed Adjusting
You can select the tool speed by tapping the main power button. Each time you tap the main power button, the level of speed will change. The tool automatically adjusts the rotation speed according to the cutting tool attached to the tool.
Fig.10: 1. Speed indicator 2. Main power button

Automatic Torque Drive Technology
When you turn on the Automatic Torque Drive Technology (ADT), the tool runs at optimum rotation speed and torque for the condition of grass being cut. The tool automatically detects the cutting tool attached and chooses a suitable rotation speed. To start ADT, press and hold the reverse button until the ADT indicator turns on. To stop ADT, press and hold the reverse button until the ADT indicator turns off.
► Fig.11: 1. ADT indicator 2. Reverse button
WARNING: Switch off the tool and remove the battery cartridge before you remove entangled weeds or debris which the reverse rotation function can not remove. Failure to switch off and
remove the battery cartridge may result in serious personal injury from accidental start-up.
This tool has a reverse button to change the direction of rotation. It is only for removing weeds and debris entangled in the tool. To reverse the rotation, tap the reverse button and pull the switch trigger while depressing the lock-off lever when the cutting tool is stopped. The speed indicators and ADT indicator start blinking, and the cutting tool rotates in reverse direction when you pull the switch trigger. To return to regular rotation, release the trigger and wait until the cutting tool stops.
► Fig.12: 1. Speed indicator 2. ADT indicator 3. Reverse button
NOTE: During the reverse rotation, the tool operates only for a short period of time and then automatically stops.
NOTE: Once the tool is stopped, the rotation returns to regular direction when you start the tool again.
NOTE: If you tap the reverse button while the cutting tool is still rotating, the tool comes to stop and to be ready for reverse rotation.
Electric brake
This tool is equipped with an electric brake. If the tool consistently fails to quickly stop after the switch trigger is released, have the tool serviced at our service center.
CAUTION: This brake system is not a substitute for the protector. Never use the tool without the protector. An unguarded cutting tool may result in serious personal injury.
Electronic function
Constant speed control
The speed control function provides the constant rotation speed regardless of load conditions.
Soft start feature
Soft start because of suppressed starting shock.
ASSEMBLY
WARNING: Always be sure that the tool is switched off and battery cartridge is removed before carrying out any work on the tool. Failure to switch off and remove the battery cartridge may result in serious personal injury from accidental start-up.
WARNING: Never start the tool unless it is completely assembled. Operation of the tool in a partially assembled state may result in serious personal injury from accidental start-up.
Installing the handle
For UR006G
- Insert the shaft of the handle into the grip. Align the screw hole in the grip with the one in the shaft. Tighten the screw securely.
► Fig.13: 1. Grip 2. Screw 3. Shaft
NOTICE: Note the direction of the grip. The screw holes will not be aligned if the grip is not inserted in the correct direction. - Adjust the handle position, and then tighten the
knob to fix the handle.
► Fig.14: 1. Knob
For UR007G
- Attach the upper and lower clamps on the damper.
- Put the handle on the upper clamp and fix it with hex socket head bolts as illustrated.
► Fig.15: 1. Hex socket head bolt 2. Handle 3. Upper clamp 4. Damper 5. Lower clamp
Attaching the barrier
For the loop handle model only (country specific) If the barrier is included in your model, attach it to the handle using the screw on the barrier.
► Fig.16: 1. Barrier 2. Screw
CAUTION: After assembling the barrier, do not remove it. The barrier works as a safety part to prevent you from contacting the cutting blade accidentally.
Hex wrench storage
CAUTION: Be careful not to leave the hex wrench inserted in the tool head. It may cause injury and/or damage to the tool.
When not in use, store the hex wrench as illustrated to keep it from being lost.
UR006G
► Fig.17: 1. Hex wrench
UR007G
► Fig.18: 1. Hex wrench
Correct Combination of The Cutting Tool and The Protector
CAUTION: Always use the correct combination of cutting tool and the protector. A wrong combination may not protect you from the cutting tool, flying debris, and stones. It can also affect the balance of the tool and result in an injury.

Installing the Protector
WARNING: Never use the tool without the guard or with the guard improperly installed. Failure to do so can cause serious personal injury.
NOTE: The type of the protector supplied as the standard accessory varies depending on the countries.
For Cutter Blade
Attach the protector to the clamp using bolts.
► Fig.19: 1. Clamp 2. Protector
For Nylon Cutting Head / Plastic Blade
CAUTION: Take care not to injure yourself on the cutter for cutting the nylon cord.
Attach the protector to the clamp using bolts. After that, install the protector extension. Insert the protector extension to the protector and then snap the clips on.
Make sure that the tabs on the protector extension fit into the slots on the protector.
► Fig.20: 1. Protector 2. Clip 3. Protector extension 4. Cutter 5. Slot 6. Tab
To remove the protector extension from the protector, unclasp the clips by inserting the hex wrench as illustrated.
► Fig.21: 1. Hex wrench 2. Clip
Installing the Cutting Tool
CAUTION: Always use the supplied wrenches to remove or to install the cutting tool.
CAUTION: Be sure to remove the hex wrench inserted into the tool head after installing the cutting tool.
NOTE: The type of the cutting tool(s) supplied as the standard accessory varies depending on the countries. The cutting tool is not included in some countries.
NOTE: Turn the tool upside down so that you can replace the cutting tool easily.
Cutter Blade
CAUTION: When handling a cutter blade, always wear gloves and put the blade cover on the blade.
CAUTION: The cutter blade must be well polished, and free of cracks or breakage. If the cutter blade hits a stone during operation, stop the tool and check the cutter blade immediately.
CAUTION: Always use the cutter blade with the diameter described in the section for specifications.
- Put the blade cover on the cutter blade.
2-tooth blade ► Fig.22
3-tooth blade ► Fig.23
4-tooth blade ► Fig.24 - Insert the hex wrench through the hole in the gear case to lock the spindle. Rotate the spindle until the hex wrench is fully inserted.
► Fig.25: 1. Nut 2. Cup 3. Clamp washer 4. Cutter blade 5. Spindle 6. Receive washer 7. Hex wrench - Mount the cutter blade onto the receive washer so that the arrows on the cutter blade and protector are pointing in the same direction.
► Fig.26: 1. Arrow - Put the clamp washer and cup onto the cutter blade and then tighten the nut securely by the box wrench.
► Fig.27: 1. Box wrench 2. Hex wrench 3. Loosen 4. Tighten
NOTE: Tightening torque : 20 – 30 N•m - Remove the hex wrench from the gear case. To remove the cutter blade, follow the installation procedures in reverse.
Nylon Cutting Head
NOTICE: Be sure to use genuine Makita nylon cutting head.
► Fig.28: 1. Nylon cutting head 2. Spindle 3. Hex wrench 4. Loosen 5. Tighten
- Insert the hex wrench through the hole in the gear case to lock the spindle. Rotate the spindle until the hex wrench is fully inserted.
- Place the nylon cutting head onto the spindle and tighten it securely by hand.
- Remove the hex wrench from the gear case. To remove the nylon cutting head, follow the installation procedures in reverse.
Plastic Blade
NOTICE: Be sure to use genuine Makita plastic blade.
► Fig.29: 1. Plastic blade 2. Spindle 3. Hex wrench 4. Loosen 5. Tighten
- Insert the hex wrench through the hole in the gear case to lock the spindle. Rotate the spindle until the hex wrench is fully inserted.
- Place the plastic blade onto the spindle and tighten it securely by hand.
- Remove the hex wrench from the gear case. To remove the plastic blade, follow the installation procedures in reverse.
OPERATION
Attaching the Shoulder Harness
WARNING: Be extremely careful to maintain control of the tool at all times. Do not allow the tool to be deflected toward you or anyone in the work vicinity. Failure to keep control of the tool could result in serious injury to the bystander and the operator.
CAUTION: Always use the shoulder harness attached to the tool. Before operation, adjust the shoulder harness according to the user size to prevent fatigue.
CAUTION: Before operation, make sure that the shoulder harness is properly attached to the hanger on the tool.
CAUTION: When you use the tool in combination of the backpack-type power supply such as portable power pack, do not use the shoulder harness included in the tool package, but use the
hanging band recommended by Makita.
If you put on the shoulder harness included in the tool package and the shoulder harness of the backpack- type power supply at the same time, removing the tool or backpack-type power supply is difficult in case of an emergency, and it may cause an accident or injury. For the recommended hanging band, ask Makita Authorized Service Centers.
For UR006G
- Put on the shoulder harness and fasten the buckle.
► Fig.30 - .Clasp the hook on the shoulder harness to tool’s hanger.
► Fig.31: 1. Hook 2. Hanger - Adjust the shoulder harness to a comfortable working position.
► Fig.32
The shoulder harness features a means of quick release. Simply squeeze the sides of the buckle while holding the tool to release the tool from the shoulder harness.
► Fig.33: Buckle
For UR007G
Clasp the hook on the shoulder harness to tool’s ring and hanger.
► Fig.34: 1Ring 2. Hook 3. Hanger
Put on the shoulder harness on your left shoulder. Adjust the shoulder harness to a comfortable working position.
► Fig.35
The shoulder harness features a means of quick release. Simply squeeze the sides of the buckle while holding the tool to release the tool from the shoulder harness.
► Fig.36: Buckle
Adjusting the hanger position
For UR006G only
For more comfortable handling of the tool, you can change the hanger position.
- Loosen the hex socket head bolt on the hanger, and slide the hanger to a comfortable working position.
► Fig.37: 1. Hanger 2. Hex socket head bolt - Adjust the hanger position as shown in the figure and then tighten the hex socket head bolt.
► Fig.38
- The hanger position from the ground
- The cutting tool position from the ground
- The horizontal distance between the hanger and the unguarded part of the cutting tool Correct handling of the tool
WARNING: Always position the tool on your right-hand side. Correct positioning of the tool allows for maximum control and will reduce the risk of serious personal injury caused by kickback.
WARNING: Be extremely careful to maintain control of the tool at all times. Do not allow the tool to be deflected toward you or anyone in the work vicinity. Failure to keep control of the tool could result in serious injury to the bystander and the operator.
WARNING: To avoid accident, leave more than 15m (50 ft) distance between operators when two or more operators work in one area. Also, arrange a person to observe the distance between operators. If someone or an animal enters the working area, immediately stop the operation.
CAUTION: If the cutting tool accidentally impacts a rock or hard object during operation, stop the tool and inspect for any damage. If the cutting tool is damaged, replace it immediately. Use of a damaged cutting tool may result in serious personal injury.
CAUTION: Remove the blade cover from the cutter blade when cutting the grass.
Correct positioning and handling allow optimum control and reduce the risk of injury caused by kickback.
UR006G
► Fig.39
UR007G
► Fig.40
When using a nylon cutting head (bump & feed type) The nylon cutting head is a dual string trimmer head provided with a bump & feed mechanism. To feed out the nylon cord, tap the cutting head against the ground while rotating.
► Fig.41: 1. Most effective cutting area
NOTICE: The bump feed will not operate properly if the nylon cutting head is not rotating.
NOTE: If the nylon cord does not feed out while tapping the head, rewind/replace the nylon cord by following the procedures in the section for the maintenance.
MAINTENANCE
WARNING: Always be sure that the tool is switched off and battery cartridge is removed before attempting to perform inspection or maintenance on the tool. Failure to switch off and remove the battery cartridge may result in serious personal injury from accidental start-up.
NOTICE: Never use gasoline, benzine, thinner, alcohol or the like. Discoloration, deformation or cracks may result.
To maintain product SAFETY and RELIABILITY, repairs, any other maintenance or adjustment should be performed by Makita Authorized or Factory Service Centers, always using Makita replacement parts.
Cleaning the Tool
Clean the tool by wiping off dust, dirt, or cut off grass with a dry cloth or one dipped in soapy water and wrong out. To avoid overheating of the tool, be sure to remove the cut off grass or debris adhered to the vent of the tool.
Replacing the Nylon Cord
WARNING: Use only the nylon cord with diameter specified in this instruction manual. Never use heavier line, metal wire, rope or the like. Failure to do so may cause damage to the tool and result in serious personal injury.
WARNING: Always remove the nylon cutting head from the tool when replacing the nylon cord.
WARNING: Make sure that the cover of the nylon cutting head is secured to the housing properly as described in this instruction manual. Failure to properly secure the cover may cause the nylon cutting head to fly apart resulting in serious personal injury.
Replace the nylon cord if it is not fed any more. The method of replacing the nylon cord varies depending on the type of the nylon cutting head.
95-M10L
► Fig.42
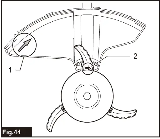
Replacing the Plastic Blade
Replace the plastic blade if it is worn out or broken.
► Fig.43
When installing the plastic blade, align the direction of the arrow on the blade with that of the protector.
► Fig.44: 1. Arrow on the protector 2. Arrow on the blade
TROUBLESHOOTING
Before asking for repairs, conduct your own inspection first. If you find a problem that is not explained in the manual, do not attempt to dismantle the tool. Instead, ask Makita Authorized Service Centers, always using Makita replacement parts for repairs.
| State of abnormality | Probable cause (malfunction) | Remedy |
| Motor does not run. | Battery cartridge is not installed. | Install the battery cartridge. |
| Battery problem (under voltage) | Recharge the battery cartridge. If recharging is not effective, replace battery cartridge. | |
| The drive system does not work correctly. | Ask your local authorized service center for repair. | |
| Motor stops running after a little use. | Battery’s charge level is low. | Recharge the battery cartridge. If recharging is not effective, replace battery cartridge. |
| Overheating. | Stop using of tool to allow it to cool down. | |
| The tool does not reach maximum RPM. | Battery cartridge is installed improperly. | Install the battery cartridge as described in this manual. |
| Battery power is dropping. | Recharge the battery cartridge. If recharging is not effective, replace battery cartridge. | |
| The drive system does not work correctly. | Ask your local authorized service center for repair. | |
| Cutting tool does not rotate: stop the machine immediately! | Foreign object such as a branch is jammed between the guard and the cutting tool. | Remove the foreign object. |
| Cutting tool is loosely attached. | Tighten the cutting tool securely. | |
| The drive system does not work correctly. | Ask your local authorized service center for repair. | |
| Abnormal vibration: stop the machine immediately! | Broken, bent or worn cutting tool | Replace the cutting tool. |
| Cutting tool is loosely attached. | Tighten the cutting tool securely. | |
| The drive system does not work correctly. | Ask your local authorized service center for repair. | |
| Cutting tool and motor cannot stop: Remove the battery immediately! | Electric or electronic malfunction. | Remove the battery cartridge and ask your local authorized service center for repair. |
OPTIONAL ACCESSORIES
WARNING: Only use the recommended accessories or attachments indicated in this manual. The use of any other accessory or attachment may result in serious personal injury.
CAUTION: These accessories or attachments are recommended for use with your Makita tool specified in this manual. The use of any other accessories or attachments might present a risk of injury to persons. Only use accessory or attachment for its stated purpose.
If you need any assistance for more details regarding these accessories, ask your local Makita Service Center.
- Cutter blade
- Nylon cutting head
- Nylon cord (cutting line)
- Plastic blade
- Protector
- Makita genuine battery and charger
NOTE: Some items in the list may be included in the tool package as standard accessories. They may differ from country to country.

















