makita DUR192L Cordless Grass Trimmer

SPECIFICATIONS
| Model: | DUR192L | |
| Type of handle | Loop handle | |
| No load speed | 2: 0 – 6,000 min-1 1: 0 – 4,500 min-1 | |
| Overall length (without cutting tool) | 1,670 mm | |
| Nylon cord diameter | 2.0 mm | |
| Applicable cutting tool and cutting diameter | Nylon cutting head P/N: 198893-8 / 191D89-4 | 300 mm |
| Rated voltage | D.C. 18 V | |
| Net weight | 2.7 – 3.0 kg | |
Due to our continuing program of research and development, the specifications herein are subject to change without notice.Specifications may differ from country to country. The weight may differ depending on the attachment(s), including the battery cartridge. The lightest and heaviest combination, according to EPTA Procedure.
Applicable battery cartridge and charger
| Battery cartridge | BL1815N / BL1820B / BL1830B / BL1840B / BL1850B / BL1860B |
| Charger | DC18RC / DC18RD / DC18RE / DC18SD / DC18SE / DC18SF / DC18SH |
Some of the battery cartridges and chargers listed above may not be available depending on your region of
Recommended battery adapter
| Battery adapter | PDC01 |
The battery adapter(s) listed above may not be available depending on your region of .Before using the battery adapter, read instruction and cautionary markings on the battery.
Noise
| Cutting tool | Sound pressure level (LpA) dB(A) | Sound power level (LWA) dB(A) | Applicable standard | ||
| LpA dB(A) | Uncer- tainty (K) dB(A) | LWA dB(A) | Uncer- tainty (K) dB(A) | ||
| Nylon cutting head | 74.8 | 0.4 | 87.8 | 1.9 | ISO22868 |
| ISO11806-1 | |||||
| EN50636-2-91 | |||||
WARNING
Wear ear protection
The noise emission during actual use of the power tool can differ from the declared value depending on the ways in which the tool is used especially what kind of workpiece is processed. Be sure to identify safety measures to protect the operator that are based on an estimation of exposure in the actual conditions of use taking account of all parts of the operating cycle such as the times when the tool is switched off and when it is running idle in addition to the trigger time.
Vibration
| Cutting tool | Left hand | Right hand | Applicable standard | ||
| ah,W (m/s2) | Uncertainty K (m/s2) | ah,W (m/s2) | Uncertainty K (m/s2) | ||
| Nylon cutting head | 2.5 | 1.5 | 2.5 | 1.5 | ISO22867 ISO11806-1 |
NOTE
The declared vibration total value(s) has been measured in accordance with a standard test method and may be used for comparing one tool with another. The declared vibration total value(s) may also be used in a preliminary assessment of exposure.
WARNING
The vibration emission during actual use of the power tool can differ from the declared value depending on the ways in which the tool is used especially what kind of workpiece is processed. Be sure to identify safety measures to protect the operator that are based on an estimation of exposure in the actual conditions of use taking account of all parts of the operating cycle such as the times when the tool is switched off and when it is running idle in addition to the trigger time.
Symbols
The followings show the symbols which may be used for the equipment. Be sure that you understand their meaning before use

Take particular care and attention.

Read instruction manual.

Keep distance at least 15 m.

Danger; be aware of thrown objects.

Never use metal and plastic blade.

Wear eye and ear protection.

Do not expose to moisture.

Only for EU countries
Do not dispose of electric equipment or battery pack together with household waste material! In observance of the European Directives, on Waste Electric and Electronic Equipment and Batteries and Accumulators and Waste Batteries and Accumulators and their implementation in accordance with national laws, electric equipment and batteries and battery pack that have reached the end of their life must be collected separately and returned to an environmentally compatible recycling facility.
EC Declaration of Conformity
For European countries only
The EC declaration of conformity is included as Annex A.
SAFETY WARNINGS
General power tool safety warnings
Failure to follow all instructions listed below may result in electric shock, fire and/or serious injury. Save all warnings and instructions for future reference. The term power tool in the warnings refers to your mains operated corded power tool or battery operated cordless power tool.
Important safety instructions for the tool
WARNING
Failure to follow the warnings and instructions may result in electric shock, fire and/or serious injury. DO NOT let comfort or familiarity with product gained from repeated use replace strict adherence to safety rules for the subject product. MISUSE or failure to follow the safety rules stated in this instruction manual may cause serious personal injury.
Intended use
Weeds, bushes and undergrowth. It should not be used for any other purpose such as edging or hedge cutting as this may cause injury.
General instructions
- Never allow people unfamiliar with these instructions, people including children with reduced physical, sensory or mental capabil-ities, or lack of experience and knowledge to use the tool. Children should be supervised to ensure that they do not play with the tool.
- Before starting the tool, read this instruction manual to become familiar with the handling of the tool.
- Do not lend the tool to a person with insuffi-cient experience or knowledge regarding handling of brushcutters and string trimmers.
- When lending the tool, always
- Handle the tool with the utmost care and attention.
- Never use the tool after consuming alcohol or drugs, or if feeling tired or ill.
- Never attempt to modify the tool.
- Follow the regulations about handling of brushcutters and string trimmers in your country.
Personal protective equipment
- Wear protective goggles to protect yourself from flying debris or falling objects.
- Wear ear protection such as ear muffs to prevent hearing loss.
- Wear proper clothing and shoes for safe operation, such as a work overall and sturdy, non-slip shoes. Do not wear loose clothing or jewelry. Loose clothes, jewelry or long hair can be caught in moving parts.
Work area safety
- Operate the tool under good visibility and day-light conditions only. Do not operate the tool in darkness or fog.
- Do not operate the tool in explosive atmo-spheres, such as in the presence of flammable liquids, gases or dust. The tool creates sparks which may ignite the dust or fumes.
- During operation, never stand on an unstable or slippery surface or a steep slope. During the cold season, beware of ice and snow and always ensure secure footing.
- During operation, keep bystanders or animals at least 15 m away from the tool. Stop the tool as soon as someone approaches.
- Never operate the tool while people, especially children, or pets are nearby.
- Before operation, examine the work area for stones or other solid objects. They can be thrown and result in serious injury and/or property damage.
WARNING
Use of this product can create dust containing chemicals which may cause respiratory or other illnesses. Some examples of these chemicals are compounds found in pesticides, insecticides, fertilizers and herbicides. Your risk from these exposures varies, depending on how often you do this type of work. To reduce your exposure to these chemicals: work in a well ventilated area, and work with approved safety equipment, such as those dust masks that are specially designed to filter out microscopic particles.
Electrical and battery safety
- Do not expose the tool to rain or wet condi-tions. Water entering the tool will increase the risk of electric shock.
- Do not use the tool if the switch does not turn it on and off.
- Any tool that cannot be con-trolled with the switch is dangerous and must be repaired.
- Prevent unintentional starting. Ensure the switch is in the off position before installing a battery pack, picking up or carrying the tool.
- Carrying the tool with your finger on the switch or energising the tool that have the switch on invites accidents.
Avoid dangerous environment. - Don’t use the tool in dump or wet locations or expose it to rain. Water entering the tool will increase the risk of electric shock.
- Do not dispose of the batteries in a fire. The cell may explode.
- Check with local codes for possible special disposal instructions.
- Do not open or mutilate the batteries.
- Released electrolyte is corrosive and may cause damage to the eyes or skin. It may be toxic if swallowed.
- Do not charge battery in rain, or in wet locations.
- Recharge only with the charger specified by the manufacturer.
- A charger that is suitable for one type of battery pack may create a risk of fire when used with another battery pack.
- Use power tools only with specifically desig-nated battery packs.
- Use of any other battery packs may create a risk of injury and fire.
- When battery pack is not in use, keep it away from other metal objects, like paper clips, coins, keys, nails, screws or other small metal objects, that can make a connection from one terminal to another.
- Shorting the battery terminals together may cause burns or a fire.
- Under abusive conditions, liquid may be ejected from the battery; avoid contact.
- If contact accidentally occurs, flush with water.
- If liquid contacts eyes, seek medical help. Liquid ejected from the battery may cause irritation or burns.
Putting into operation
- Before assembling or adjusting the tool, remove the battery cartridge.
- Before installing the battery cartridge, inspect the tool for damages, loose screws/nuts or improper assembly. If the cutting tool is bent or damaged, replace it. Check all control levers and switches for easy action. Clean and dry the handles.
- Never attempt to switch on the tool if it is dam-aged or not fully assembled. Otherwise serious injury may result.
- Adjust the shoulder harness and hand grip to suit the operator’s body size if adjustable.
- When inserting a battery cartridge, keep the cutting attachment clear of your body and other object, including the ground. It may rotate when starting and may cause injury or damage to the tool and/or property.
- Remove any adjusting key, wrench before turning the tool on. An accessory left attached to a rotating part of the tool may result in personal injury.
- The cutting tool has to be equipped with the guard. Never run the tool with damaged guards or without guards in place.
- Make sure there are no electrical cables, water pipes, gas pipes etc. that could cause a hazard if damaged by use of the tool.
- The condition of the cutting tool, protective devices and shoulder strap must be checked before commencing work.
Operation
- In the event of an emergency, switch off the tool immediately.
- If you feel any unusual condition e.g. noise, vibration during operation, switch off the tool and remove the battery cartridge.
- Do not use the tool until the cause is recognized and solved.
- The cutting attachment continues to rotate for a short period after turning the tool off.
- Don’t rush to contact the cutting attachment.
- During operation, use the shoulder harness if supplied with the tool.
- Keep the tool on your right side firmly.
- Do not overreach. Keep proper footing and balance at all times.
- Watch for hidden obsta-cles such as tree stumps, roots and ditches to avoid stumbling.
- Always be sure of your footing on slopes
- Walk, never run
- Never work on a ladder or tree to avoid loss of control.
- If the tool gets heavy impact or fall, check the condition before continuing work.
- Check the controls and safety devices for malfunction. If there is any damage or doubt, ask our autho-rized service center for the inspection and repair.
- Take a rest to prevent loss of control caused by fatigue.
- We recommend taking a 10 to 20-min-ute rest every hour
- When you leave the tool, even if it is a short time, always remove the battery cartridge.
- The unattended tool with the battery cartridge installed may be used by unauthorized person and cause serious accident
- If grass or branches get caught between the cutting attachment and guard, always turn the tool off and remove the battery cartridge before cleaning.
- Otherwise the cutting attach-ment may rotate unintentionally and cause serious injury
- Never touch moving hazardous parts before the moving hazardous parts have come to a complete stop and the battery cartridge is removed.
- If the cutting attachment hits stones or other hard objects, immediately turn the tool off.
- Then remove the battery cartridge and inspect the cutting attachment.
- Check the cutting attachment frequently during operation for cracks or damages.
- Before the inspection, remove the battery cartridge and wait until the cutting attachment stops completely.
- Replace damaged cutting attachment immediately even if it has only superficial cracks.
- Never cut above waist height.
- Before starting the cutting operation, wait until the cutting attachment reaches a constant speed after turning the tool on.
- When using a cutting tool, swing the tool evenly in half-circle from right to left, like using a scythe.
- Hold the tool by insulated gripping surfaces only, because the cutting tool may contact hidden wiring. Cutting tool contacting a “live” wire may make exposed metal parts of the tool “live” and could give the operator an electric shock.
- Do not start the tool when the cutting tool is tangled with cut grass
- Before starting the tool, be sure that the cutting tool is not touching the ground and other obstacles such as a tree.
- During operation always hold the tool with both hands.
- Never hold the tool with one hand during use.
- Do not operate the tool in bad weather or if there is a risk of lightning.
- Operate the tool only if you are in good physical condition.
- Perform all work calmly and carefully.
- Use common sense and keep in mind that the operator or user is responsible for accidents or hazards occurring to other people or their property.
- Except in case of emergency, never drop or cast the tool to the ground or this may severely damage the tool.
- Never drag the tool on the ground when mov-ing from place to place, the tool may become damaged if moved in this manner.
- Don’t force the tool. It will do the job better and with less likelihood of a risk of injury at the rate for which it was designed.
Cutting tools
- Do not use a cutting tool which is not recom-mended by us.
- Use an applicable cutting attachment for the job in hand.
- Nylon cutting heads string trimmer heads are suitable for trimming lawn grass.
- Never use other blades including metal. multi piece pivoting chains and flail blades. It may result in serious injury.
- Only use the cutting tool that are marked with a speed equal or higher than the speed marked on the tool.
- Always keep your hands, face, and clothes away from the cutting tool when it is rotating. Failure to do so may cause personal injury.
- Always use the cutting attachment guard prop erly suited for the cutting attachment used.
- Take care against injury from any device fitted for trimming the filament line length. After extending new cutter line always return the machine to its normal operating position before switching on.
Vibration
People with poor circulation who are exposed to excessive vibration may experience injury to blood vessels or the nervous system. Vibration may cause the following symptoms to occur in the fingers, hands or wrists. Falling asleep numbness, tingling, pain, stabbing sen-sation, alteration of skin color or of the skin. If any of these symptoms occur, see a physician. To reduce the risk of white finger disease, keep your hands warm during operation and well maintain the tool and accessories.
Transport
- Before transporting the tool, turn it off and remove the battery cartridge.
- When transporting the tool, carry it in a hori-zontal position by holding the shaft.
- When transporting the tool in a vehicle, prop-erly secure it to avoid turnover. Otherwise damage to the tool and other baggage may result.
Maintenance
- Have your tool serviced by our authorized service center, always using only genuine replacement parts. Incorrect repair and poor maintenance can shorten the life of the tool and increase the risk of accidents.
- Before doing any maintenance or repair work or cleaning the tool, always turn it off and remove the battery cartridge.
- Always clean dust and dirt off the tool. Never use gasoline, benzine, thinner, alcohol or the like for the purpose.
- Discoloration, deformation or cracks of the plastic components may result.
- After each use, tighten all screws and nuts.
- Do not attempt any maintenance or repair not described in the instruction manual. Ask our authorized service center for such work.
- Always use our genuine spare parts and accessories only. Using parts or accessories supplied by a third party may result in the tool breakdown, property damage and/or serious injury.
- Request our authorized service center to inspect and maintain the tool at regular interval.
- Always keep the tool in good working condi-tion. Poor maintenance can result in inferior per-formance and shorten the life of the tool.
- Keep handles dry, clean and free from oil and grease. Keep all cooling air inlets clear of debris.
- After use, disconnect the battery cartridge from the tool and check for damage.
Storage
Before storing the tool, perform full cleaning and maintenance. Remove the battery cartridge. Store the tool in a dry and high or locked location out of reach of children. Do not prop the tool against something, such as a wall. Otherwise it may fall suddenly and cause an injury.
First aid
Always have a first-aid kit close by. Immediately replace any item taken from the first aid kit. When asking for help, give the following information
- Place of the accident
- What happened
- Number of injured persons
- Nature of the injury
- Your name
Important safety instructions for battery cartridge
Before using battery cartridge, read all instructions and cautionary markings on
- Battery charger
- Battery
- Product using battery
Do not disassemble or tamper with the battery cartridge. It may result in a fire, excessive heat, or explosion. If operating time has become excessively shorter, stop operating immediately. It may result in a risk of overheating, possible burns and even an explosion. If electrolyte gets into your eyes, rinse them out with clear water and seek medical attention right away. It may result in loss of your eyesight. Do not short the battery cartridge. Do not touch the terminals with any conductive material. Avoid storing battery cartridge in a container with other metal objects such as nails, coins, etc. Do not expose battery cartridge to water or rain. A battery short can cause a large current flow, overheating, possible burns and even a breakdown. Do not store and use the tool and battery cartridge in locations where the temperature may reach or exceed 50 °C (122 °F). Do not incinerate the battery cartridge even if it is severely damaged or is completely worn out. The battery cartridge can explode in a fire. Do not nail, cut, crush, throw, drop the battery cartridge, or hit against a hard object to the battery cartridge. Such conduct may result in a fire, excessive heat, or explosion. Do not use a damaged battery. The contained lithium-ion batteries are subject to the Dangerous Goods Legislation requirements. For commercial transports e.g. by third parties,forwarding agents, special requirement on packaging and labeling must be observed. For preparation of the item being shipped, consulting an expert for hazardous material is required. Please also observe possibly more detailed national regulations. Tape or mask off open contacts and pack up the battery in such a manner that it cannot move around in the packaging.When disposing the battery cartridge, remove it from the tool and dispose of it in a safe place. Follow your local regulations relating to
disposal of battery. Use the batteries only with the products specified by Makita. Installing the batteries to non-compliant products may result in a fire, excessive heat, explosion, or leak of electrolyte. If the tool is not used for a long period of time, the battery must be removed from the tool. During and after use, the battery cartridge may take on heat which can cause burns or low temperature burns. Pay attention to the handling of hot battery cartridges. Do not touch the terminal of the tool immediately after use as it may get hot enough to cause burns. Do not allow chips, dust, or soil stuck into the terminals, holes, and grooves of the battery cartridge. It may result in poor performance or breakdown of the tool or battery cartridge. Unless the tool supports the use near high-voltage electrical power lines, do not use the battery cartridge near high voltage electrical power lines. It may result in a malfunction or breakdown of the tool or battery cartridge. Keep the battery away from children.
CAUTION
Only use genuine Makita batteries. Use of non-genuine Makita batteries, or batteries that have been altered, may result in the battery bursting causing fires, personal injury and damage. It will also void the Makita warranty for the Makita tool and charger.
Tips for maintaining maximum battery life
- Charge the battery cartridge before completely discharged. Always stop tool operation and charge the battery cartridge when you notice
less tool power. - Never recharge a fully charged battery cartridge.
- Overcharging shortens the battery service life.
- Charge the battery cartridge with room temperature at 10 °C – 40 °C (50 °F – 104 °F). Let a hot battery cartridge cool down before charging it.
- When not using the battery cartridge, remove it from the tool or the charger.
- Charge the battery cartridge if you do not use it for a long period (more than six months.
PARTS DESCRIPTION

| 1 | Indicator lamps | 2 | Main power button | 3 | Battery cartridge | 4 | Lock-off lever |
| 5 | Switch trigger | 6 | Hanger | 7 | Handle | 8 | Pipes |
| 9 | Joint | 10 | Protector | 11 | Shoulder harness | – | – |
All the components listed in the table are to be assembled.
FUNCTIONAL DESCRIPTION
WARNING
Always be sure that the tool is switched off and the battery cartridge is removed before adjusting or checking function on the tool. Failure to switch off and remove the battery cartridge may result in serious personal injury from accidental start up.
Installing or removing battery cartridge
CAUTION
Always switch off the tool before installing or removing of the battery cartridge. Hold the tool and the battery car-tridge firmly when installing or removing battery cartridge. Failure to hold the tool and the battery cartridge firmly may cause them to slip off your hands and result in damage to the tool and battery cartridge and a personal injury.

- Red indicator
- Button
- Battery cartridge
To remove the battery cartridge, slide it from the tool while sliding the button on the front of the cartridge. To install the battery cartridge, align the tongue on the battery cartridge with the groove in the housing and slip it into place. Insert it all the way until it locks in place with a little click. If you can see the red indicator on the upper side of the button, it is not locked completely.
CAUTION
Always install the battery cartridge fully until the red indicator cannot be seen. If not, it may accidentally fall out of the tool, causing injury to you or someone around you.
Do not install the battery cartridge forcibly. If the cartridge does not slide in easily, it is not being inserted correctly.
Tool / battery protection system
The tool is equipped with a tool/battery protection system. This system automatically cuts off power to the motor to extend tool and battery life. The tool will automatically stop during operation and the indicator lamps light up if the tool is placed under one of the following conditions:


Overload protection
If the tool gets into one of the following situation, the tool automatically stops and the indicator lamp starts blinking in green: The tool or battery is overloaded by entangled
weeds or other debris. The cutting tool is locked. The main power button is turned on while the switch trigger is being pulled. In this situation, release the switch trigger and remove entangled weeds or debris if necessary. After that, pull the switch trigger again to resume.
CAUTION
If you need to remove the entangled weeds on the tool or release the locked cutting tool, be sure to turn the tool off before you start.
Overheat protection for tool or battery
When the tool or battery cartridge is overheated, the tool stops automatically and the indicator lamp lights up in red. Let the tool and/or battery cool down before
turning the tool on again.
Overdischarge protection
When the battery capacity becomes low, the tool stops automatically. The indicator lamp starts blinking in red. If the tool does not operate even when the switches are operated remove the battery cartridge from the tool and charge it.
Indicating the remaining battery capacity
Only for battery cartridges with the indicator

- Indicator lamps
Check button
Press the check button on the battery cartridge to indicate the remaining battery capacity. The indicator lamps light up for a few seconds.

NOTE
Depending on the conditions of use and the ambient temperature, the indication may differ slightly from the actual capacity. The first (far left) indicator lamp will brink when the battery protection system works.
Main power switch
Tap the main power button to turn on the tool. To turn off the tool, press and hold the main power button until the indicator lamps go off.

- Indicator lamps
- Main power button
NOTE
The tool will automatically turned off if it is left without any operations for a certain period of time.
Switch action
For your safety, this tool is equipped with lock-off lever which prevents the tool from unintended starting. NEVER use the tool if it runs when you simply pull the switch trigger without pressing the lock-off lever. Return the tool to our authorized service center for proper repairs BEFORE further usage.
WARNING
NEVER tape down or defeat purpose and function of lock-off lever.
CAUTION
Before installing the battery cartridge into the tool, always check to see that the switch trigger actuates properly and returns to the OFF position when released. Operating a tool with a switch that does not actuate properly can lead to loss of control and serious personal injury. Never put your finger on the main power button and switch trigger when carrying the tool. The tool may start unintentionally and cause injury.
NOTICE
Do not pull the switch trigger hard without pressing the lock-off lever. This can cause switch breakage. To prevent the switch trigger from being accidentally pulled, a lock-off lever is provided. To start the tool,depress the lockoff lever and pull the switch trigger. The tool speed increases by increasing pressure on the switch trigger. Release the switch trigger to stop.

- Lock-off lever
- Switch trigger
NOTE
The tool is automatically turned off after the tool is left for a certain period without any operations.
Speed adjusting
You can select the tool speed by tapping the main power button. Each time you tap the main power button, the level of speed will change.

- Indicator lamps
- Main power button

Electric brake
This tool is equipped with an electric brake. If the tool consistently fails to quickly stop after the switch trigger is released, have the tool serviced at our service center.
CAUTION
This brake system is not a substitute for the protector. Never use the tool without the protector. An unguarded cutting tool may result in serious personal injury.
Electronic function
Constant speed control
The speed control function provides the constant rotation speed regardless of load conditions.
Soft start feature
Soft start because of suppressed starting shock.
ASSEMBLY
WARNING
Always be sure that the tool is switched off and battery cartridge is removed before carrying out any work on the tool. Failure to switch off and remove the battery cartridge may result in serious personal injury from accidental start up. Never start the tool unless it is completely assembled. Operation of the tool in a partially assembled state may result in serious personal injury from accidental start up.
CAUTION
Do not disassemble the tool once you have installed all the main components
Installing main components
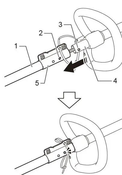
Pipe assembly
CAUTION
Avoid cutting the cable tie nylon fastener away until the folded pipes have been securely assembled. Straighten the two-folded pipes, and then align the
stopper pin on the upper pipe with the stopper hole in the joint.

- Upper pipe
- Stopper hole
- Stopper pin
- Joint
Insert the upper pipe into the joint while holding down the stopper pin. Make sure that the pin pops up through the stopper hole and securely locks the lower pipe.
Lower pipe- Stopper hole
- Stopper pin
- Upper pipe
- Joint
Securely tighten the hex socket head bolt to fix the joint.
- Joint
- Hex socket head bolt
Cut the cable tie (nylon fastener), and remove it from the tool.

Cable tie
Handle
Loosen the hex socket head bolt on the handle.

- Hex socket head bolt
- Handle
Set the angle and position of the handle and then tighten the bolt.
Adjusting handle and hanger position. Loosen the hex socket head bolt on the handle. Move the handle to a comfortable working position, and then tighten the bolt.

- Hex socket head bolt
- Handle
Loosen the hex socket head bolt on the hanger. Move the hanger to a comfortable working position and then tighten the bolt.
Hanger- Hex socket head bolt
Installing the protector
Never use the tool without the guard illustrated in place. Failure to do so can cause serious personal injury.
CAUTION
Take care not to injure yourself on the cutter for cutting the nylon cord. Attach the protector to the clamp using bolts.

- Hex socket head bolt
- Clamp
- Protector
- Cutter
Installing the cutting tool
Always use the supplied wrenches to remove or to install the cutting tool.
CAUTION
Be sure to remove the hex wrench inserted into the tool head after installing the cutting tool.
NOTE
The type of the cutting tool supplied as the standard accessory varies depending on the countries. The cutting tool is not included in some countries. Turn the tool upside down so that you can replace the cutting tool easily.
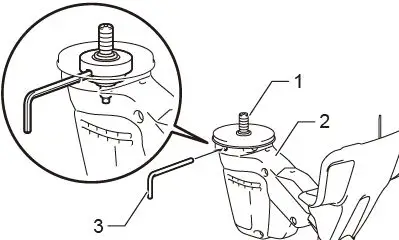
Nylon cutting head
NOTICE
Be sure to use genuine Makita nylon cutting head. Insert the hex wrench through the hole in the motor housing to lock the spindle. Rotate the spindle
until the hex wrench is fully inserted.

- Spindle
- Motor housing
- Hex wrench
NOTE
The holes in the motor housing are on the left side and right side. Place the nylon cutting head onto the spindle and tighten it securely by hand.

- Nylon cutting head
- Spindle
- Tighten
- Loosen
Remove the hex wrench from the motor housing. To remove the nylon cutting head, follow the installation procedures in reverse.
Hex wrench storage
CAUTION
Be careful not to leave the hex wrench inserted in the tool head. It may cause injury and/or damage to the tool. When not in use, store the hex wrench as shown in the
figure to keep it from being lost.

Hex wrench
OPERATION
Attaching the shoulder harness
CAUTION
When you use the tool in combination of the backpack-type power supply such as portable power pack, do not use the shoulder harness included in the tool package, but use the hanging band recommended by Makita. If you put on the shoulder harness included in the tool package and the shoulder harness of the backpack- type power supply at the same time, removing the tool or backpack-type power supply is difficult in case of an emergency, and it may cause an accident or injury. For the recommended hanging band, ask Makita Authorized Service Centers. Always use the shoulder harness attached to the tool. Before operation, adjust theshoulder harness according to the user size to prevent fatigue. Before operation, make sure that the shoulder harness is properly attached to the hanger on the tool. Wear the shoulder harness on your left shoulder.
Clasp the hook on the shoulder strap to tool’shanger.
Hook- Hanger
Adjust the shoulder harness to a comfortable working position.
The shoulder harness features a means of quick release. Simply squeeze the sides of the buckle to release the tool from the shoulder harness.
Correct handling of the tool
Always position the tool on your right hand side. Correct positioning of the tool allows for maximum control and will reduce the risk of serious
personal injury.
WARNING
Be extremely careful to maintain control of the tool at all times. Do not allow the tool to be deflected toward you or anyone in the work vicinity. Failure to keep control of the tool could result in serious injury to the bystander and the operator. To avoid accident, leave more than 15m (50 ft) distance between operators when two or more operators work in one area. Also, arrange a person to observe the distance between operators. If someone or an animal enters the working area, immediately stop the operation.
CAUTION
If the cutting tool accidentally impacts a rock or hard object during operation, stop the tool and inspect for any damage. If the cutting tool is damaged, replace it immediately. Use of a damaged cutting tool may result in serious personal injury. Correct positioning and handling allow optimum control and reduce the risk of injury.

When using a nylon cutting head (bump & feed type.The nylon cutting head is a dual string trimmer head provided with a bump & feed mechanism. To feed out the nylon cord, tap the cutting head against the ground while rotating.
Most effective cutting area
NOTICE
The bump feed will not operate properly if the nylon cutting head is not rotating. If the nylon cord does not feed out while tapping the head, rewind/replace the nylon cord by following the procedures in the section for the maintenance.
MAINTENANCE
Always be sure that the tool is switched off and battery cartridge is removed before attempting to perform inspection or maintenance on the tool. Failure to switch off and remove the battery cartridge may result in serious personal injury from accidental start-up.
NOTICE
Never use gasoline, benzine, thinner, alcohol or the like. Discoloration, deformation or cracks may result. To maintain product SAFETY and RELIABILITY, repairs, any other maintenance or adjustment should be performed by Makita Authorized or Factory Service Centers, always using Makita replacement parts.
Cleaning the tool
Clean the tool by wiping off dust, dirt, or cut off grass with a dry cloth or one dipped in soapy water and wrung out. To avoid overheating of the tool, be sure to remove
the cut off grass or debris adhered to the vent of the tool.
Replacing the nylon cord
Use only the nylon cord with diameter specified in this instruction manual. Never use heavier line, metal wire, rope or the like. Failure to do so may cause damage to the tool
and result in serious personal injury. Always remove the nylon cutting head from the tool when replacing the nylon cord. Make sure that the cover of the nylon cutting head is secured to the housing. Failure to properly secure the cover may cause the nylon cutting head to fly apart resulting in serious personal injury. Replace the nylon cord if it is not fed any more. The method of replacing the nylon cord varies depending on the type of the nylon cutting head.








TROUBLESHOOTING
Before asking for repairs, conduct your own inspection first. If you find a problem that is not explained do not attempt to dismantle the tool. Instead, ask Makita Authorized Service Centers, always using Makita replacement parts for repairs.
| State of abnormality | Probable cause (malfunction) | Remedy |
| Motor does not run. | Battery cartridge is not installed. | Install the battery cartridge. |
| Battery problem under voltage | Recharge the battery. If recharging is not effective, replace battery. | |
| The drive system does not work correctly. | Ask your local authorized service center for repair. | |
| Motor stops running after a little use. | Battery’s charge level is low. | Recharge the battery. If recharging is not effective,replace battery. |
| Overheating. | Stop using of tool to allow it to cool down. | |
| It does not reach maximum RPM. | Battery is installed improperly. | Install the battery cartridge as described in this manual. |
| Battery power is dropping | Recharge the battery. If recharging is not effective,replace battery. | |
| The drive system does not work correctly. | Ask your local authorized service center for repair. | |
| Cutting tool does not rotate stop the machine immediately. | Foreign object such as a branch is jammed between the guard and the cutting tool. | Remove the foreign object. |
| Cutting tool is loosely attached. | Tighten the cutting tool securely. | |
| The drive system does not work correctly. | Ask your local authorized service center for repair. | |
| Abnormal vibration: stop the machine immediately. | One end of the nylon cord has been broken. | Tap the nylon cutting head against the ground while it is rotating to cause the cord to feed. |
| Broken, bent or worn cutting tool | Replace the cutting tool. | |
| Cutting tool is loosely attached. | Tighten the cutting tool securely. | |
| The drive system does not work correctly. | Ask your local authorized service center for repair. | |
| Cutting tool and motor cannot stop: Remove the battery immediately. | Electric or electronic malfunction. | Remove the battery and ask your local authorized service center for repair. |
OPTIONAL ACCESSORIES





WARNING
Only use the recommended accessories or attachments. The use of any other accessory or attachment may result in serious personal injury.
CAUTION
These accessories or attachments are recommended for use with your Makita tool specified in this manual. The use of any other accessories or attachments might present a risk of injury to persons. Only use accessory or attachment for its stated purpose. If you need any assistance for more details regarding these accessories, ask your local Makita Service Center.
- Nylon cutting head
- Nylon cord (cutting line)
- Makita genuine battery and charger
NOTE
Some items in the list may be included in the tool package as standard accessories. They may differ from country to country.

Lower pipe
Hanger
Hook
Correct handling of the tool















