INSTRUCTION MANUAL
Cordless Grass Trimmer
DUR189

Read before use.
SPECIFICATIONS
| Model: | DUR189 | |
| No load speed (without cutting tool) | 4,000/5,000/6,000 min”‘ | |
| Overall length (without cutting tool) | 1,510 – 1,610 mm | |
| Nylon cord diameter | 2.0 – 2.4 mm | |
| Applicable cutting tool and cutting diameter | Nylon cutting head (P/N 198971-4 / 198972-2) | 300 mm |
| Plastic blade (P/N 198383-1 / 198384-9) | 255 mm | |
| Rated voltage | D.C. 18 V | |
| Net weight | 3.0 – 3.3 kg | |
- Due to our continuing program of research and development, the specifications herein are subject to change without notice.
- Specifications may differ from country to country.
- The weight may differ depending on the attachment(s), including the battery cartridge. The lightest and heaviest combinations, according to EPTA-Procedure 01/2014, are shown in the table.
Applicable battery cartridge and charger
| Battery cartridge | BL1815N / BL1820 / BL1820B / BL1830 / BL1830B / BL1840 / BL1840B / BL1850 / BL1850B / BL1860B |
| Charger | DC18RC / DC18RD / DC18RE / DC18SD / DC18SE / DC18SF / DC18SH |
- Some of the battery cartridges and chargers listed above may not be available depending on your region of residence.
WARNING: Only use the battery cartridges and chargers listed above. Use of any other battery cartridges and chargers may cause injury and/or fire.
Noise
Applicable standard: EN50636-2-91
| Model | Type | Sound pressure level average | |
| LhA(dB(A)) | Uncertainty K (dB(A)) | ||
| DUR189 | Nylon cutting head | 78 | 2.0 |
| Plastic blade | 78 | 4. | |
- Even if the sound pressure level listed above is 80 dB (A) or less, the level under working may exceed 80 dB (A). Wear ear protection.
Vibration
Applicable standard: EN50636-2-91
| Model | Type | Left hand | Right hand | ||
| ahw (m/s2) | Uncertainty K (nn/s2) | a (m/s2) | Uncertainty K (nn/s2) | ||
| DUR189 | Nylon cutting head | S2.5 | 0.4 | 3. | 0.1 |
| Plastic blade | 53. | 0.6 | 3. | 0.3 | |
NOTE: The declared vibration total value(s) has been measured in accordance with a standard test method and may be used for comparing one tool with another.
NOTE: The declared vibration total value(s) may also be used in a preliminary assessment of exposure.
WARNING: The vibration emission during actual use of the power tool can differ from the declared value(s) depending on the ways in which the tool is used especially what kind of workpiece is processed.
WARNING: Be sure to identify safety measures to protect the operator that is based on an estimation of exposure in the actual conditions of use (taking account of all parts of the operating cycle such as the times when the tool is switched off and when it is running idle in addition to the trigger time).
Symbols
The followings show the symbols which may be used for the equipment. Be sure that you understand their meaning before use.
![]() | Take particular care and attention. |
![]() | Read the instruction manual. |
![]() | Danger; be aware of thrown objects. |
![]() | The distance between the tool and bystanders must be at least 15 m. |
![]() | Keep bystanders away. |
![]() | Keep distance at least 15 m. |
![]() | Wear a helmet, goggles and ear protection. |
![]() | Wear protective gloves. |
![]() | Wear sturdy boots with nonslip soles. Steel-toed safety boots are recommended. |
![]() | Do not expose to moisture. |
![]() | Never use a metal blade. |
![]() | Only for EU countries Do not dispose of electric equipment or battery pack together with household waste material! In observance of the European Directives, on Waste Electric and Electronic Equipment and Batteries and Accumulators and Waste Batteries and Accumulators and their implementation in accordance with national laws, electric equipment and batteries and battery pack(s) that have reached the end of their life must be collected separately and returned to an environmentally compatible recycling facility. |
EC Declaration of Conformity
For European countries only
The EC declaration of conformity is included as Annex A to this instruction manual.
SAFETY WARNINGS
IMPORTANT SAFETY INSTRUCTIONS
WARNING: Read all safety warnings and all instructions. Failure to follow the warnings and instructions may result in electric shock, fire, and/or serious injury.
Save all warnings and instructions for future reference.
- Be familiar with the controls and proper use of the equipment.
- Cutting elements continue to rotate after the motor is switched off.
- Never allow children or people unfamiliar with the instructions to use the machine. Local regulations may restrict the age of the operator.
- Stop using the machine while people, especially children, or pets are nearby.
- Only use the machine in daylight or good artificial light. Avoid using the machine in bad weather conditions especially when there is a risk of lightning.
- Before using the machine and after any impact, check for signs of wear or damage and repair as necessary.
- Take care against injury from any device fitted for trimming the filament line length. After extending new cutter line always return the machine to its normal operating position before switching on.
- Never fit metal cutting elements.
- This appliance is not intended for use by persons (including children) with reduced physical, sensory or mental capabilities, or lack of experience and knowledge unless they have been given supervision or instruction concerning use of the appliance by a person responsible for their safety. Children should be supervised to ensure that they do not play with the appliance.
- Use the tool with the utmost care and attention.
- Operate the tool only if you are in good physical condition. Perform all work calmly and carefully. Use common sense and keep in mind that the operator or user is responsible for accidents or hazards occurring to other people or their property.
- Never operate the tool when tired, feeling ill or under the influence of alcohol or drugs.
- The tool should be switched off immediately if it shows any signs of unusual operation.
- Keep fingers away from the switch trigger when not operating the tool and when moving from one operating position to another.
Intended use of the tool
- Use the right tool. The cordless grass trimmer is only intended for cutting grass, light weeds. It should not be used for any other purpose such as hedge cutting as this may cause injury.
Personal protective equipment

- Dress Properly. The clothing worn should be functional and appropriate, i.e. it should be tight-fitting but not cause hindrance. Do not wear either jewelry or clothing which could become entangled with high grass. Wear protective hair covering to contain long hair.
- When using the tool, always wear sturdy shoes with a non-slip sole. This protects against injuries and ensures a good footing.
- Always wear protective goggles to protect your eyes from injury when using power tools. The goggles must comply with ANSI Z87.1 in the USA, EN 166 in Europe, or AS/NZS 1336 in Australia/New Zealand. In Australia/New Zealand, it is legally required to wear a face shield to protect your face, too.

It is an employer’s responsibility to enforce the use of appropriate safety protective equipment by the tool operators and by other persons in the immediate working area.
Electrical and battery safety
- Avoid dangerous environments. Don’t use the tool in damp or wet locations or expose it to rain. Water entering the tool will increase the risk of electric shock.
- Recharge only with the charger specified by the manufacturer. A charger that is suitable for one type of battery pack may create a risk of fire when used with another battery pack.
- Use power tools only with specifically designated battery packs. Use of any other battery packs may create a risk of injury and fire.
- When the battery pack is not in use, keep it away from other metal objects, like paper clips, coins, keys, nails, screws or other small metal objects, that can make a connection from one terminal to another. Shorting the battery terminals together may cause burns or a fire.
- Under abusive conditions, liquid may be ejected from the battery; avoid contact. If contact accidentally occurs, flush with water. If liquid contacts eyes, seek medical help. Liquid ejected from the battery may cause irritation or burns.
- Do not dispose of the battery(ies) in a fire. The cell may explode. Check with local codes for possible special disposal instructions.
- Do not open or mutilate the battery(ies). Released electrolyte is corrosive and may cause damage to the eyes or skin. It may be toxic if swallowed.
- Do not charge the battery in rain, or in wet locations.
Starting up the tool
- Make sure that there are no children or other people within a working range of 15 meters (50 ft), also pay attention to any animals in the working vicinity. Otherwise, stop using the tool.
- Before use always check that the tool is safe for operation. Check the security of the cutting tool and the guard and the switch trigger/lever for easy and proper action. Check for clean and dry handles and test the on/off function of the switch.
- Check damaged parts before further use of the tool. A guard or other part that is damaged should be carefully checked to determine that it will operate properly and perform its intended function. Check for alignment of moving parts, binding of moving parts, breakage of parts, mounting, and any other condition that may affect its operation. A guard or other part that is damaged should be properly repaired or replaced by our authorized service center unless indicated elsewhere in this manual.
- Switch on the motor only when hands and feet are away from the cutting tool.
- Before starting make sure that the cutting tool has no contact with hard objects such as branches, stones, etc. as the cutting tool will revolve when starting.
- Make sure there are no electrical cables, water pipes, gas pipes, etc. that could cause a hazard if damaged by the use of the tool.
Method of operation
- Never operate the machine with damaged guards or without the guards in place.
- Only use the tool in good light and visibility. During the winter season beware of slippery or wet areas, ice, and snow (risk of slipping). Always ensure a safe footing.
- Take care against injury to feet and hands from the cutting tool.
- Keep hands and feet away from the cutting means at all times and especially when switching on the motor.
- Never cut above waist height.
- Never stand on a ladder and run the tool.
- Never work on unstable surfaces. 8. Don’t overreach. Keep proper footing and balance at all times.
- Remove sand, stones, nails etc. found within the working range. Foreign particles may damage the cutting tool and can cause to be thrown away, resulting in a serious injury.
- Should the cutting tool hit stones or other hard objects, immediately switch off the motor and inspect the cutting tool.
- Before commencing cutting, the cutting tool must have reached full working speed.
- During operation always hold the tool with both hands. Never hold the tool with one hand during use. Always ensure a safe footing.
- All protective equipment such as guards supplied with the tool must be used during operation.
- Except in case of emergency, never drop or cast the tool to the ground or this may severely damage the tool.
- Never drag the tool on the ground when moving from place to place, the tool may become damaged if moved in this manner.
- Always remove the battery cartridge from the tool:
— whenever leaving the tool unattended;
— before clearing a blockage;
— before checking, cleaning or working on the tool;
— before making any adjustments, changing accessories or storing;
— whenever the tool starts vibrating unusually; — whenever transporting the tool. - Don’t force the tool. It will do the job better and with less likelihood of a risk of injury at the rate for which it was designed.
- Do not operate power tools in explosive atmospheres, such as in the presence of flammable liquids, gases, or dust. Power tools create sparks that may ignite dust or fumes.
- Take a rest to prevent loss of control caused by fatigue. We recommend taking a 10 to 20-minute rest every hour.
- Do not use the tool on steep slopes.
- The shoulder harness must be used during operation if supplied with the tool.
Maintenance instructions
- The condition of the cutting tool, protective devices, and shoulder harness must be checked before commencing work.
- Turn off the motor and remove the battery cartridge before carrying out maintenance, replacing the cutting tool, and cleaning the tool.
- After use, disconnect the battery cartridge from the tool and check for damage.
- Check for loose fasteners and damaged parts such as the nearly halfway cut-off state in the cutting tool.
- When not in use store the equipment in a dry location that is locked up or out of children’s reach.
- Use only the manufacturer’s recommended replacement parts and accessories.
- Always ensure that ventilation openings are kept clear of debris.
- Inspect and maintain the tool regularly, especially before/after use. Has the tool been repaired only by our authorized service center?
- Keep handles dry, clean, and free from oil and grease.
SAVE THESE INSTRUCTIONS.
WARNING: DO NOT let comfort or familiarity with the product (gained from repeated use) replace strict adherence to safety rules for the subject product. MISUSE or failure to follow the safety rules stated in this instruction manual may cause serious personal injury.
Important safety instructions for battery cartridge
- Before using the battery cartridge, read all instructions and cautionary markings on (1) battery charger, (2) battery, and (3) product using the battery.
- Do not disassemble or tamper with the battery cartridge. It may result in a fire, excessive heat, or explosion.
- If the operating time has become excessively shorter, stop operating immediately. It may result in a risk of overheating, possible burns, and even an explosion.
- If electrolyte gets into your eyes, rinse them out with clear water and seek medical attention right away. It may result in loss of your eyesight.
- Do not short the battery cartridge: (1) Do not touch the terminals with any conductive material. (2) Avoid storing battery cartridge in a container with other metal objects such as nails, coins, etc. (3) Do not expose the battery cartridge to water or rain. A battery short can cause a large current flow, overheating, possible burns, and even a breakdown.
- Do not store and use the tool and battery cartridge in locations where the temperature may reach or exceed 50 °C (122 °F).
- Do not incinerate the battery cartridge even if it is severely damaged or is completely worn out. The battery cartridge can explode in a fire.
- Do not nail, cut, crush, throw, drop the battery cartridge, or hit against a hard object to the battery cartridge. Such conduct may result in a fire, excessive heat, or explosion.
- Do not use a damaged battery.
- The contained lithium-ion batteries are subject to the Dangerous Goods Legislation requirements. For commercial transports e.g. by third parties, forwarding agents, the special requirements on packaging and labeling must be observed. For the preparation of the item being shipped, consulting an expert for hazardous material is required. Please also observe possibly more detailed national regulations. Tape or mask off open contacts and pack up the battery in such a manner that it cannot move around in the packaging.
- When disposing of the battery cartridge, remove it from the tool and dispose of it in a safe place. Follow your local regulations relating to the disposal of batteries.
- Use the batteries only with the products specified by Makita. Installing the batteries to non-compliant products may result in a fire, excessive heat, explosion, or leak of electrolyte.
- If the tool is not used for a long period of time, the battery must be removed from the tool.
- During and after use, the battery cartridge may take on heat which can cause burns or low-temperature burns. Pay attention to the handling of hot battery cartridges.
- Do not touch the terminal of the tool immediately after use as it may get hot enough to cause burns.
- Do not allow chips, dust, or soil stuck into the terminals, holes, and grooves of the battery cartridge. It may result in poor performance or breakdown of the tool or battery cartridge.
- Unless the tool supports the use of near high-voltage electrical power lines, do not use the battery cartridge near high-voltage electrical power lines. It may result in a malfunction or breakdown of the tool or battery cartridge.
- Keep the battery away from children.
SAVE THESE INSTRUCTIONS.
CAUTION: Only use genuine Makita batteries. Use of non-genuine Makita batteries, or batteries that have been altered, may result in the battery bursting causing fires, personal injury, and damage. It will also void the Makita warranty for the Makita tool and charger.
Tips for maintaining maximum battery life
- Charge the battery cartridge before completely discharging. Always stop tool operation and charge the battery cartridge when you notice less tool power.
- Never recharge a fully charged battery cartridge. Overcharging shortens the battery service life.
- Charge the battery cartridge with room temperature at 10 °C – 40 °C (50 °F – 104 °F). Let a hot battery cartridge cool down before charging it.
- When not using the battery cartridge, remove it from the tool or the charger. 5. Charge the battery cartridge if you do not use it for a long period (more than six months).
PARTS DESCRIPTION

| 1 | Battery cartridge | 2 | Lock-off lever | 3 | Switch trigger | 4 | Speed indicator |
| 5 | Auto speed control indicator | 6 | Power lamp | 7 | Main power button | 8 | Reverse button |
| 9 | Hanger | 10 | Lock sleeve | 11 | Handle | 12 | Protector (cutting tool guard) |
| 13 | Shoulder harness | – | – | – | – | – | – |
FUNCTIONAL DESCRIPTION
WARNING: Always be sure that the tool is switched off and the battery cartridge is removed before adjusting or checking the function on the tool. Failure to switch off and remove the battery cartridge may result in serious personal injury from accidental start-up.
Installing or removing battery cartridge
CAUTION: Always switch off the tool before installing or removing of the battery cartridge.
CAUTION: Hold the tool and the battery cartridge firmly when installing or removing the battery cartridge. Failure to hold the tool and the battery cartridge firmly may cause them to slip off your hands and result in damage to the tool and battery cartridge and a personal injury.
- Red indicator
- Button
- Battery cartridge
To remove the battery cartridge, slide it from the tool while sliding the button on the front of the cartridge.
To install the battery cartridge, align the tongue on the battery cartridge with the groove in the housing and slip it into place. Insert it all the way until it locks in place with a little click. If you can see the red indicator on the upper side of the button, it is not locked completely.
CAUTION: Always install the battery cartridge fully until the red indicator cannot be seen. If not, it may accidentally fall out of the tool, causing injury to you or someone around you.
CAUTION: Do not install the battery cartridge forcibly. If the cartridge does not slide in easily, it is not being inserted correctly.
Tool/battery protection system
The tool is equipped with a tool/battery protection system. This system automatically cuts off power to the motor to extend tool and battery life. The tool will automatically stop during operation if the tool or battery is placed under one of the following conditions:
Overload protection
If the tool is overloaded by entangled weeds or other debris,
and the middle indicators start blinking and the tool automatically stops. In this situation, turn the tool off and stop the application that caused the tool to become overloaded. Then turn the tool on to restart.
Overheat protection for tool or battery
There are two types of overheating; tool overheating and battery overheating. When the tool overheating occurs, all speed indicators blink. When the battery overheating occurs, the
indicator blinks. If overheating occurs, the tool stops automatically. Let the tool and/or battery cool down before turning the tool on again.
Over-discharge protection
When the battery capacity becomes low, the tool stops automatically and the
indicator blinks.
If the tool does not operate even when the switches are operated, remove the batteries from the tool and charge the batteries.
Indicating the remaining battery capacity
Only for battery cartridges with the indicator
- Indicator lamps
- Check button
Press the check button on the battery cartridge to indicate the remaining battery capacity. The indicator lamps light up for a few seconds.
NOTE: Depending on the conditions of use and the ambient temperature, the indication may differ slightly from the actual capacity.
NOTE: The first (far left) indicator lamp will blink when the battery protection system works.
Power switch action
WARNING: Before installing the battery cartridge on the tool, always check to see that the switch trigger actuates properly and returns to the “OFF” position when released. Operating a tool with a switch that does not actuate properly can lead to loss of control and serious personal injury.
CAUTION: Never put your finger on the switch when carrying. The tool may start unintentionally and cause injury.
Press and hold the main power button for some seconds to turn on the tool. To turn off the tool, press and hold the main power button again.
- Main power button
To prevent the switch trigger from being accidentally pulled, a lock-off lever is provided. To start the tool, grasp the handle (the lock-off lever is released by the grasp) and then pull the switch trigger. To stop the tool, release the switch trigger.
- Lock-off lever
- Switch trigger
NOTE: The tool is automatically turned off after the tool is left one minute without any operations.
Speed adjusting
You can adjust the tool speed by tapping the main power button. Each time you tap the main power button, the level of speed will change.
- Main power button

Reverse button for debris removal
WARNING: Switch off the tool and remove the battery cartridge before you remove entangled weeds or debris which the reverse rotation function can not remove. Failure to switch off and remove the battery cartridge may result in serious personal injury from accidental start-up.
This tool has a reverse button to change the direction of rotation. It is only for removing weeds and debris entangled in the tool. To reverse the rotation, tap the reverse button and pull the trigger when the tool’s head is stopped. The power lamp starts blinking, and the tool’s head rotates in the reverse direction when you pull the switch trigger. To return to regular rotation, release the trigger and wait until the tool’s head stops.
- Reverse button
NOTE: During the reverse rotation, the tool operates only for a short period of time and then automatically stops.
NOTE: Once the tool is stopped, the rotation returns to regular direction when you start the tool again.
NOTE: If you tap the reverse button while the tool’s head is still rotating, the tool comes to stop and to be ready for reverse rotation.
Nylon cutting head
Optional accessory
NOTICE: The bump feed will not operate properly if the head is not rotating.
- Most effective cutting area
The nylon cutting head is a dual string trimmer head provided with a bump & feed mechanism. To feed out the nylon cord, tap the cutting head against the ground while rotating.
NOTE: If the nylon cord does not feed out while tapping the head, rewind/replace the nylon cord by following the procedures described under “Maintenance”.
Adjusting the shaft length
WARNING: Before adjusting the shaft length, release the switch trigger and remove the battery cartridge from the tool. Failure to release the trigger and remove the battery cartridge may cause a personal injury.
CAUTION: Make sure to tighten the lock sleeve before operation. Otherwise, the tool may lose control and result in personal injury. To adjust the length of the shaft, turn the lock sleeve counterclockwise until the arrow mark on the lock sleeve indicates the unlock mark on the housing, and pull out or push in the shaft to the desired length. After adjustment, tighten the lock sleeve until the arrow mark on the lock sleeve indicates the lock mark on the housing.
- Shaft
- Lock sleeve
ASSEMBLY
WARNING: Always be sure that the tool is switched off and the battery cartridge is removed before carrying out any work on the tool. Failure to switch off and remove the battery cartridge may result in serious personal injury from accidental start-up.
WARNING: Never start the tool unless it is completely assembled. Operation of the tool in a partially assembled state may result in serious personal injury from accidental start-up.
Installing the handle
Fit the handle onto the shaft and secure it with the bolt and the knob.
- Handle
- Bolt
- Knob
- Cutting tool side
- Battery cartridge side
Make sure that the handle is located in the straight area of the shaft as shown in the figure.
Installing the protector
WARNING: Never use the tool without the protector illustrated in place. Failure to do so can cause serious personal injury.
CAUTION: Take care not to injure yourself on the cutter for cutting the nylon cord.
- Attach the protector and the protector holder to the motor housing as illustrated. Be sure to fit the projections and grooves on them to their counterparts.
1. Protector 2. Groove 3. Projection 4. Protector holder - Tighten the hex socket head bolts securely to fasten the protector and the protector holder.
1. Hex socket head bolt 2. Hex wrench
Installing the wire guard
CAUTION: Before adjusting the wire guard, wait for the cutting head comes to standstill. Do not adjust the wire guard with your foot.
To reduce the risk of damaging the objects in front of the cutting head, insert the wire guard so that it controls the cutting range of the mowing line.
Slightly expand the wire guard outward and then insert it into the holes on the protector.
- Wire guard
- Hole (on both sides)
NOTICE: Do not expand the wire guard outward too much. Otherwise, it may break.
When a wire guard is not in use, lift it for the idle position.
Installing nylon cutting head
Optional accessory
CAUTION: If the nylon cutting head accidentally impacts a rock or hard object during operation, stop the tool and inspect for any damage. If the nylon cutting head is damaged, replace it immediately. Use of a damaged cutting tool could result in serious personal injury.
CAUTION: Be sure to remove the hex wrench after installation.
NOTICE: Be sure to use a genuine Makita nylon cutting head.
1. Nylon cutting head 2. Metal guard 3. Spindle 4. Hex wrench 5. Tighten 6. Loosen
- Turn the tool upside down so that you can replace the cutting tool easily.
- Insert the hex wrench through the hole on the motor housing and rotate the spindle until the spindle is locked.
- Place the nylon cutting head onto the threaded spindle directly and tighten it by turning in the tightening direction as shown in the figure.
- Remove the hex wrench. To remove the nylon cutting head, turn it in the opposite direction while locking the spindle with the hex wrench.
Installing plastic blade
Optional accessory
CAUTION: If the plastic blade accidentally impacts a rock or hard object during operation, stop the tool and inspect for any damage. If the plastic blade is damaged, replace it immediately. Use of a damaged cutting tool could result in serious personal injury.
CAUTION: Be sure to remove the hex wrench after installation.
NOTICE: Be sure to use a genuine Makita plastic blade.
1. Plastic blade 2. Metal guard 3. Hex wrench 4. Tighten 5. Loosen
- Turn the tool upside down so that you can replace the cutting tool easily.
- Insert the hex wrench through the hole on the motor housing and rotate the spindle until the spindle is locked.
- Place the plastic blade onto the threaded spindle directly and tighten it by turning in the tightening direction as shown in the figure.
- Remove the hex wrench. To remove the plastic blade, turn it in the opposite direction while locking the spindle with the hex wrench.
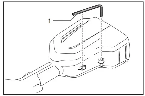
Hex wrench storage
CAUTION: Be careful not to leave the hex wrench inserted in the tool head. It may cause injury and/or damage to the tool.
When not in use, store the hex wrench as shown in the figure to keep it from being lost.
- Hex wrench
OPERATION
Correct handling of the tool
WARNING: Always position the tool on your right-hand side. Correct positioning of the tool allows for maximum control and will reduce the risk of serious personal injury caused by kickback.
WARNING: Be extremely careful to maintain control of the tool at all times. Do not allow the tool to be deflected toward you or anyone in the work vicinity. Failure to keep control of the tool could result in serious injury to the bystander and the operator.
WARNING: To avoid accidents, leave more than 15m (50 ft) distance between operators when two or more operators work in one area. Also, arrange a person to observe the distance between operators. If someone or an animal enters the working area, immediately stop the operation.
Attachment of shoulder harness
CAUTION: Always use the shoulder harness attached. Before the operation, adjust the shoulder harness according to the user size to prevent fatigue.
CAUTION: When you use the tool in a combination of the backpack-type power supply such as a portable power pack, do not use the shoulder harness included in the tool package, but use the hanging band recommended by Makita. If you put on the shoulder harness included in the tool package and the shoulder harness of the backpack-type power supply at the same time, removing the tool or backpack-type power supply is difficult in case of an emergency, and it may cause an accident or injury. For the recommended hanging band, ask Makita Authorized Service Centers. Connect the clasp of the shoulder harness to the hanger part of the housing. Put the shoulder harness on. Be sure that the buckles are locked completely in place.
1. Clasp 2. Hanger
Detachment
The buckle is provided with a means of quick release. Simply squeeze the sides of the buckle to release the tool.
1. Buckle
MAINTENANCE
WARNING: Always be sure that the tool is switched off and the battery cartridge is removed before attempting to perform inspection or maintenance on the tool. Failure to switch off and remove the battery cartridge may result in serious personal injury from accidental start-up.
NOTICE: Never use gasoline, benzene, thinner, alcohol or the like. Discoloration, deformation or cracks may result.
Replacing the nylon cord
WARNING: Use nylon cord with diameter specified in “SPECIFICATIONS” only. Never use heavier lines, metal wires, rope or the like. Use recommended nylon cord only, otherwise, it may cause damage to the tool and result in serious personal injury.
WARNING: Make sure that the cover of the nylon cutting head is secured to the housing properly as described below. Failure to properly secure the cover may cause the nylon cutting head to fly apart resulting in serious personal injury.
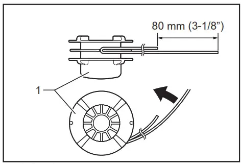
- Press on the housing latches inward to lift off the cover, then remove the spool.
1. Latch 2. Cover - Prepare approximately 3 m (9 ft) of new nylon cord. Fold the new nylon cord with one end to become approximately 80 mm (3-1/8″) longer than the other end. Then hook the new nylon cord into the notch in the center of the spool. Wind both ends firmly around the spool in the direction of the head rotation (right-hand direction indicated by RH on the side of the spool).

- Wind all but about 100 mm (3 – 15/16″) of the cords, leaving the ends temporarily hooked through a notch on the side of the spool.

- Mount the spool in the housing so that the grooves and protrusions on the spool match up with those in the housing. Keep the side with letters on the spool visible on the top. Now, unhook the ends of the cord from their temporary position and feed the cords through the eyelets to come out of the housing.
1. Spool 2. Housing 3. Eyelet - Align the protrusion on the underside of the cover with the slots of the eyelets. Then push the cover firmly onto the housing to secure it.

Replacing the plastic blade
Replace the plastic blade if it is worn out or broken.
When installing the plastic blade, align the direction of the arrow on the blade with that of the protector.
1. Arrow on the protector 2. Arrow on the blade
To maintain product SAFETY and RELIABILITY, repairs, any other maintenance or adjustment should be performed by Makita Authorized or Factory Service Centers, always using Makita replacement parts.
TROUBLESHOOTING
Before asking for repairs, conduct your own inspection first. If you find a problem that is not explained in the manual, do not attempt to dismantle the tool. Instead, ask Makita Authorized Service Centers, always using Makita replacement parts for repairs.
| State of abnormality | Probable cause (malfunction) | Remedy |
| Motor does not run. | The battery cartridge is not installed. | Install the battery cartridge. |
| Battery problem (under-voltage) | Recharge the battery. If recharging is not effective, replace the battery. | |
| The drive system does not work correctly. | Ask your local authorized service center for repair. | |
| Motor stops running after a little use. | Battery’s charge level is low. | Recharge the battery. If recharging is not effective, replace the battery. |
| Overheating. | Stop using of tool to allow it to cool down. | |
| It does not reach maximum RPM. | Battery is installed improperly. | Install the battery cartridge as described in this manual. |
| Battery power is dropping. | Recharge the battery. If recharging is not effective, replace the battery. | |
| The drive system does not work correctly. | Ask your local authorized service center for repair. | |
| Cutting tool does not rotate: s) stop the machine immediately! | A foreign object such as a branch is jammed between the protector and the cutting tool. | Remove the foreign object. |
| The drive system does not work correctly. | Ask your local authorized service center for repair. | |
| Abnormal vibration: R5 stop the machine immediately! | One end of the nylon cord has been broken. | Tap the nylon cutting head against the ground while it is rotating to cause the cord to feed. |
| Plastic blade(s) is broken. | Replace broken plastic blade(s) with new one(s). | |
| The drive system does not work correctly. | Ask your local authorized service center for repair. | |
| Cutting tool and motor cannot stop: 4 Remove the battery immediately! | Electric or electronic malfunction. | Remove the battery and ask your local authorized service center for repair. |
OPTIONAL ACCESSORIES
WARNING: Do not mount a metal blade on this tool and only use the recommended accessories or attachments indicated in this manual. The use of a metal blade or any other accessory or attachment may result in serious personal injury.
CAUTION: These accessories or attachments are recommended for use with your Makita tool specified in this manual. The use of any other accessories or attachments might present a risk of injury to persons. Only use accessory or attachment for its stated purpose. If you need any assistance for more details regarding these accessories, ask your local Makita Service Center.
- Nylon cutting head
- Nylon cord (cutting line)
- Plastic blade
- Makita genuine battery and charger
NOTE: Some items in the list may be included in the tool package as standard accessories. They may differ from country to country.
Makita Europe N.V.
Jan-Baptist Vinkstraat 2,
3070 Kortenberg, Belgium
Makita Corporation
3-11-8, Sumiyoshi-cho,
Anjo, Aichi 446-8502 Japan
www.makita.com
885634C224
EN 20200928













1. Protector 2. Groove 3. Projection 4. Protector holder
1. Hex socket head bolt 2. Hex wrench
1. Latch 2. Cover

1. Spool 2. Housing 3. Eyelet
















