MAX POWER CT325 Bow Thruster Instruction Manual
The use of qualified marine personnel, with experience in bow thruster installation, is strongly advised. Where possible, the boat manufacturer’s design departments, architects, and/or shipyards should be consulted, prior to installation taking place. For any boat requiring official classification, bodies of approval should also be consulted at the earliest opportunity.
In any case, all other bodies, governmental or otherwise, should be contacted to ensure conformity with legal regulations relating to the boat in question.
IT IS ESSENTIAL TO READ THE FOLLOWING MANUAL CAREFULLY BEFORE INSTALLING THE THRUSTER
NB : The thruster is delivered without accessories (fuse, fuse holder, control panel).
GENERAL INSTALLATION GUIDELINES
In order to install the thruster in the most efficient position, follow the instructions below:

- The minimum acceptable tunnel position is 236mm below the waterline
- The tunnel is ideally positioned when the distance between the waterline and the top of the installed tunnel is 315mm
- The tunnel must be installed as far forward as possible
NB: A thruster turbine installed above its ideal position towards its minimum depth will lead to a progressive loss of performance.
Whether vertical, inclined or horizontal, it is recommended to support the electric motor.
The electric motor generates heat when in operation. The zone in which the thruster is installed must therefore be dry and ventilated.
The batteries used by the thruster must be charged by both the main engine’s alternator and an appropriate battery charger.
If the thruster is installed using a dedicated battery bank, this must be as close as possible to the thruster in order to reduce voltage loss in the electric cables.
CAUTION: In no case should flammable products be stored near to the electric components of the motor.
The drive leg must be centered in the tunnel and under no circumstances should the propellers protrude out of the tunnel.
TUNNEL
Once the final tunnel position has been determined and all dimensions have been checked, mark the center-point of the tunnel on both sides of the hull and drill holes of 8 –10mm ∅ on either side.
Using a metal rod, construct a compass with a 168mm radius. Insert through the holes and trace the ellipses, as shown below.
After cutting the holes out following the elliptical guidelines, use an abrasive disc to prepare the inside and outside surfaces of the hull for laminating (approx. 10 to 15cm around the holes).
Position the tunnel in the hull, mark the positions of the different components, as well as the areas that require laminating, then remove the tunnel. It is advisable to drill the tunnel before laminating it into position. See section 3 “Motor Support and Drive leg” for more details.

Replace the tunnel. To secure its position apply reinforced fiberglass filler to all areas, both inside and out, taking care to entirely fill the space between the hull and the tunnel. Laminate using a minimum of 8 layers of ISOPHTALIC RESIN alternated with mat and roving.
In difficult to access areas (i.e. under the tunnel), it is possible to only apply reinforced filler.
Once the filler has set on the outside, finish with a waterproof under coat, followed by sanding and application of a waterproof finish coat.
In order to optimize the flow of water whilst sailing, and to avoid turbulence due to the tunnel, leave 1 to 4 cm of Finish these with several coats of reinforced filler in order to obtain the required hydrodynamic lines.
Once all laminating work is complete, apply a watertight barrier.
DO NOT LAMINATE THE AREA OF THE TUNNEL TO WHICH THE ELECTRICAL MOTOR SUPPORT WILL BE FIXED.

MOTOR SUPPORT AND DRIVE LEG
The motor support and the drive leg must be centered in the tunnel.
Locate and mark the intended position of the holes for the fixing screws and the leg hub.
You can use the motor support and the leg’s gasket to mark these holes.
In some cases, it will be easier to mark and drill these holes BEFORE laminating the tunnel.
After drilling, use the gasket to verify the holes’ axes and adjust them with a round file where necessary.
These holes must be completely clean before inserting the screws.
Position the leg, the gasket (between the leg and the tunnel) and the motor support,
and then tighten the two screws alternatively. Finally, mount the propeller(s) to control the general alignment.
If the general set-up is correct, remove the propeller(s), the leg and the gasket.
Apply a thin coating of silicon grease or sealing compound to both sides of the gasket (this must be resistant to hydrocarbons and water). Re-assemble all parts as before, positioning and then tightening the two 12mm screws alternatively, using a 8mm Allen key, (maximum torque: 50Nm).
Check that the propellers rotate freely, without resistance or friction.
It is imperative that the holes and the screws remain free of sealing compound, otherwise there is a risk of an incorrect assembly of the parts.
Caution: do not use graphite grease.
ELECTRIC MOTOR (12 / 24 volts)
The upper coupling (motor side) is adjusted in the factory. Position the lower coupling on the drive leg shaft and push it down as far as it will go (lightly grease the shaft
beforehand).
Place the flexible red coupler on the drive leg side coupling, (part n° 5 on the CT325 – Spare Parts diagram, page 13)
Now fit the electric motor onto the motor support and tighten the four 12mm Ø motor support screws alternatively (maximum torque: 40Nm).
Push the lower coupling up into place using a screwdriver et tighten the two 4 x 10mm
Allen screws (maximum torque: 10Nm).
The upper and lower couplings must be adjusted to leave 2mm of play (+/- 1mm)
between both of them.
Check that the propellers turn without resistance (a little resistance due to the motor is normal).
Ensure that air can flow freely to allow the motor to cool whilst in operation.
Please note that the motor side coupling is already in position and does not need adjusting.
PROPELLERS
Insert the drive pin and propellers.
Check that the propellers turn without resistance (a little resistance due to the motor is normal).
Check that the oil change screw and the anode are in place and correctly tightened.
Position the propeller blades so as they are not in horizontal alignment and not directly opposite each other.
Tighten the 24mm nut (maximum torque: 30Nm) while holding the propeller tightly with your hand.
Protect your hands during this operation to avoid risks of injuries caused by the edges of the propeller.
IMPORTANT: to prevent against calcium deposits that damage the seals, we recommend that you coat the shaft and stainless steel cover with silicon grease.
PROTECTION GRIDS
It is possible to install protection grills; however, installation of such grills will affect thruster performance.
ELECTRICAL INSTALLATION
CAUTION: an incorrect electrical installation will cause rapid deterioration or even failure of the thruster. Excessive voltage drop will cause premature wearing of the relays and brushes. Special attention should be given to the quality, capacity and condition of your batteries, as well as cable sections used. Last but not least, the installer is responsible to protect the electrical components of the thruster assembly against direct water contact.
Ensure that all electrical connections are correctly tightened.
Under no circumstances should any flammable products be stored next to the electrical components of the thruster.
It is essential to install a manual battery isolator and if possible an electric battery isolator at the base of the thruster motor power line.
When using a manual battery isolator, it must be visible, clearly marked & easily accessible.
Thruster motor power supply (24V):
These values are given as an indication, assuming that the batteries are charged at 100% and in charge that is 25,4V.
The performance data of the CT325 is measured with an approx. consumption of 980A and 22V at the motor’s connections.
Please refer to the characteristics given by the manufacturer of the batteries that will be used (see section 9 “Batteries”).
Power wiring:
- Measure the shortest and most direct route possible between the battery(ies) and the electric motor; remembering to allow for both “positive and negative” cables.
- The power cables must be located in a well ventilated area.
- The material of the cable insulation should be from PVC and with thermal rating 105 degrees Celsius and above.
Recommended cable sections:
| Cable lengths | CT325 |
| L ≤ 5 m (2,5 x 2) | 95mm² |
| 5< L ≤ 10 m (5 x 2) | 150mm² |
| 10 < L ≤ 15 m (7,5 x 2) | 240mm² |
| 15< L ≤ 20 m (10 x 2) | 300mm² |
For all connections, use M10 terminals for the cable sections chosen.
It is possible to reduce the cable section to facilitate easy connection but only over a short distance. In this case, appropriated crimp fittings should be used at the connections.
Please consult the “Electrical installation” diagram p. 11 for more information
MAIN POWER FUSE
Fuse sizes for over current protection are to be determined on the basis of the cable sections in the circuit and NOT the amperage drawn by the appliance (thruster motor) in the circuit.
| Thruster | Maximum Amperage | Max Power Fuse size |
| CT325 | 980A | 400A |
BATTERIES
Thrusters are high amperage consumers with instantaneous demands, thus, we recommend you use maintenance-free “starting” type batteries, with high CCA outputs.
For example: Exide Maxxima 900, 12V, capacity 55Ah / starting current 800CCA with 2400 CCA maximum total output (165 Ah needed for 10 min/day). In case of lithium batteries the amperage drawn by the thrusters must be regulated to 980A.
ELECTRONIC CONTROL BOX
Install a fused circuit breaker / switch in the boat’s main DC distribution panel marked
BOW THRUSTER. This circuit breaker / switch should ideally be supplied from a different battery bank to the one used for powering the thruster.
The supply to the control box must match the nominal voltage of the main relay and battery isolator.
The installer must protect the positive supply cable of the thruster’s control box by means of a 8A fuse. The size of the power cables (red & black) depends on the length of the cable run, the voltage drop in these cables should not exceed 5% of the nominal battery voltage.
For safety reasons, and in order to obtain all the functions provided by the thruster controller, an electric battery isolator needs to be installed in the thruster motor positive supply cable.
Max Power advises the use of an electric battery isolator ref. 634424.
If an electric battery isolator is not used, then simply seal-off the two grey wires coming
out of the control box. It is important to isolate the thruster motor power circuit by means of a manual battery isolator after having used the thruster.
Please refer to the drawing “Power cable connections” p. 12 for more detail on the wiring of the control box to the thruster.
CONTROL PANEL AND THRUSTER CONTROL BOX FUNCTIONS
To switch the thruster ON or OFF follow the instructions given in the diagrams on the
following page.
When switched ON the control panel will beep once and the green LED in the red pushbutton will light up.
When switched OFF the control panel will beep twice and the green LED in the red pushbutton will go out.
The thruster controller provides a time delay between left and right thrust in order to avoid rapid direction changes. There is no delay when thrusting to same side.
If the thruster motor overheats the control panel will start beeping and the green LED will flash until the thruster motor has cooled down.
As soon as the overheating alarm sounds, there are 10 seconds of actual thruster use before the unit automatically shuts down. It will then not be possible to switch the thruster on until the motor has cooled down.
If the thruster has not been used for a period of thirty minutes it will automatically switch itself off.
Before switching off automatically the control panel will beep once followed by a second beep a few seconds later, after which the thruster switches itself off.
In order to isolate the thruster motor power circuit, as described in the previous two paragraphs, it is necessary to install an electric battery isolator, as advised by Max Power.
Please consult the “Electrical installation” diagram p. 11 for more information
Control Panel Instructions
Touch panel :
To switch the thruster on or off, push and hold down both the red and green buttons for several seconds.
Simple Joystick :
To switch the thruster on or off, push and hold down the red button whilst pushing the joystick to the right for several seconds.
Double Joystick :
To switch the thruster on or off, push and hold down the red button whilst pushing the joystick to the right for several seconds. This is the same for both the Bow thruster and the Stern thruster.
CONTROL PANEL INSTALLATION
Control panels should be protected from the natural elements while the thruster is not in use.
Install the control panel(s) in easily accessible positions, without obstructing the main engine and/or steering controls.
When fixing the panel with the stainless steel screws, make sure to install the pre-cut rubber seal, as supplied with the panel, ensuring that it is in the correct place.
Only when totally finished and satisfied with the wiring and positioning of the unit, clip-on the face panel/cover.
Please note that panels are only fully waterproof from the front, if installed correctly.
However, the area behind the dashboard should be kept dry to avoid the risk of oxidization of the cable connecter contacts.
For full control panel installation instructions, please refer to the “Installation Guidelines” as supplied with each control panel.
TESTS
Activating the thruster when the boat is out of the water is not advised under any circumstances for safety reasons and because it could damage the motor.
Tests must be carried out with the boat in the water, the battery(ies) charged at 100% and in charge, and the engines running.
The maximum continuous operating runtime corresponds to S2-3mn norm.
However, this can be affected by the ambient temperature.
ELECTRICAL MEASUREMENTS
In normal “usage” mode, i.e. thrusters running, boat in the water, with fully charged batteries under ongoing charge (alternator), electrical measurements should be made at the following points:
At the batteries
At the battery cut-off switch
At the fuse
At the electric motor’s connections
At the power supply arriving at the thruster control box
These measurements will enable you to detect voltage drop.
NOTE: the voltage reading between the motor’s negative and positive connections should be approx. 22V for a 24V system.
The cumulative effect of voltage drops at these points can severely impair the thruster’s performance.
Should the voltage measured be too low, the following points need checking:
Are the batteries of sufficient capacity?
Are the batteries good quality?
Are the batteries sufficiently charged?
Are appropriate cable sections being used?
Are the connections sufficiently tightened?
OPERATION
With the control system circuit breaker/ switch and manual battery isolator switched on:
Switch on the control panel, as previously described in the manual.
Push the red button or incline the joystick to the left and the boat moves to the left.
Push the green button or incline joystick to the right and the boat moves to the right.
If, during tests the boat moves in the wrong direction, change around the blue and the brown wires on your power relay.
When maneuvering remember that the boat’s momentum continues after you release the joystick / button, therefore remember to release the control prior to reaching your desired position.
Care must be taken not to use the thruster in areas where there may be people swimming or floating debris.
Maximum running time: 2-3 min (depending on ambient temperature).
ALARMS OR THERMAL SWITCH-OFF
The thruster’s electric motor is fitted with a thermal switch as standard. If the thruster motor overheats the buzzer in the control panel will start beeping and the green LED in the red-push button will flash until the thruster motor has cooled down again.
As soon as the overheating alarm sounds (5 intermediate beeps), there are 10 seconds of actual thruster use before the unit automatically shuts down. The unit will then not be able to be switched on again until the motor has cooled down.
SAFETY
Switch off means to cut the power at both the DC equipment panel (control power supply) & the thruster battery isolator (thruster power supply) after having used the thruster.
Under no circumstances should any flammable products be stored next to the electric components of the thruster. Care must be taken not to use the thruster in areas where there may be people swimming or in the water close to the thruster.
CAUTION: Never tamper with the thruster / thruster turbine if not 100% sure that both the control and power circuits have been isolated, except if taking electrical measurements on the thruster motor or relay.
MAINTENANCE
Control panels should be protected from the natural elements while the thruster is not in use.
The thruster requires a minimum of ongoing maintenance:
Check the condition and charge of the batteries regularly, as voltage drop is the most frequent cause of rapid deterioration of the relay.
Carry out a regular check of all electric components: batteries, connections, power cables.
Remove the motor and clean out dust from the motor-brushes with compressed air.
The electric motor must be kept dry and well-ventilated.
Change the drive leg oil every year (75W90 oil type 0,3 lt). See diagram below:

Check the oil in the leg annually.
Change if necessary: oil drain plug under the anode (A).
Oil level screw on the side of the leg (B).
Copper washer should be changed.
The anode should be checked frequently and changed if necessary (at least once a year).
If you find water in the oil, it is necessary to change the propeller shaft oil seals.
The anode must be checked frequently and changed if necessary (at least once a year).
When the boat is out of the water, check that there are no fishing lines, plastic bags, etc. caught in the propellers.
Paint the drive leg and propellers with antifouling (make sure that they were well prepared and primer has been used).
Do not paint the anode.
Always keep the propellers and tunnel clean.
To prevent the buildup of calcium on the drive shafts, which would damage the oil seals, cover the drive shaft and the oil seals’ stainless steel covers with silicon grease before fitting the propeller(s). This should be done on an annual basis after the cleaning of the outside of the leg. Do not use aggressive solvents as they may damage drive leg seals.
If drive leg oil seals are found to be worn, replace the drive leg with a standard exchange unit.
NOTE: All maintenance should be carried out by qualified and authorized personnel.
THE MAX-POWER TEAM WISHES YOU SUCCESSFUL MANOEUVRING AND ENJOYABLE CRUISING
ELECTRICAL INSTALLATION DIAGRAM
CT325
NB: This diagram is intended as a guide only. Any local rules or regulations requiring additional equipment in high current circuits must be respected.

POWER CABLE CONNECTIONS

NB:
- All cables must have the same section size (see recommended sizes in this manual).
- The thruster battery bank must be installed as near to the thruster motor as possible to limit cable sizes.
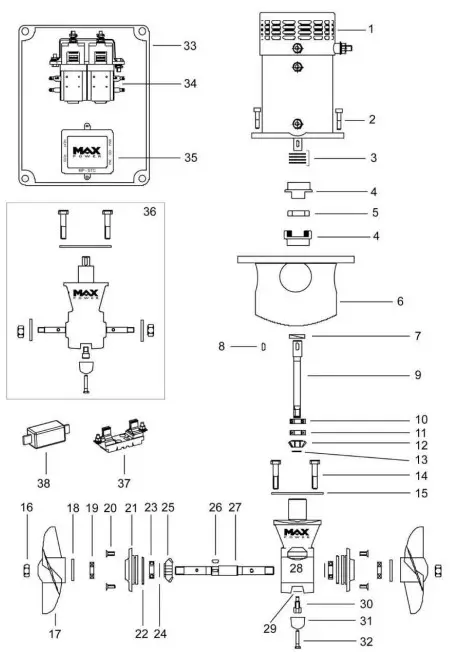
SPARE PARTS DIAGRAM

SPARE PARTS LIST
| N° | Description | Quantity | Old Code | New Code |
| 1 | Electric Motor CT325 | 1 | MP203000 | 312862 |
| Motor Brushes | 8 | MPOP3559 | 310382 | |
| Spring | 8 | MPOP3520 | 310383 | |
| 2 | Screws | 4 | – | Retired |
| 3 | Washer | 4 | MP662000 | 633751 |
| 4 | Coupling aluminium | 2 | MP661000 | 633749 |
| 5 | Coupling PG66 | 1 | MP205020 | 310370 |
| 6 | Motor Support CT325 | 1 | MP205038 | 633712 |
| 7 | Ring | 1 | MP205035 | 312020 |
| 8 | Shaft Pin | 1 | MP205040 | 310116 |
| 9 | Gearbox main Shaft | 1 | MP205045 | 310342 |
| 10 | Bearing | 1 | MP205050 | 310341 |
| 11 | Lower Bearing | 1 | MP205001 | 633701 |
| 12 | Gearwheel | 1 | MP205002 | 310295 |
| 13 | Circlip | 1 | MP204000 | 630507 |
| 14 | Screws | 2 | MP205055 | 310253 |
| 15 | Leg gasket | 1 | MP204005 | 633697 |
| 16 | Inox Nut | 2 | MP205015 | 35033 |
| 17 | Propeller Ø315 | 2 | MPOP5530 | 312059 |
| 18 | Propeller Pin | 2 | MP205065 | 310276 |
| 19 | Propeller seal | 2 | MP204010 | 630504 |
| 20 | Screws | 4 | MP205095 | 310214 |
| 21 | Flange | 2 | MP205090 | 310257 |
| 22 | Flange seal | 2 | MP205085 | 310348 |
| 23 | Propeller bearing | 2 | MP205080 | 310226 |
| 24 | Set of spacers (1 mm) | 2 | MP205006 | 630483 |
| 25 | Propeller gearwheel | 1 | MP205035 | 312020 |
| 26 | Pin for propeller shaft | 1 | MP205070 | 310117 |
| 27 | Propeller shaft | 1 | MP205060 | 633717 |
| 28 | Leg body | 1 | MPOP2050 | 310248 |
| 29 | Seal | 1 | MPOP5300 | 312131 |
| 30 | Screw | 1 | MPOP5390 | 630506 |
| 31 | Anode | 1 | MPOP5311 | 312120 |
| 32 | Anode screw | 1 | MP208055 | 315334 |
| 33 | Relay and Control box assembly | 1 | MP203101/2 | 312922 |
| 34 | Relay 24 V | 1 | MPOP5701 | 315310 |
| 35 | Electronic Controller | 1 | MPOP5701 | 315310 |
| 36 | Metal leg CT325 | 1 | MP208100 | 315324 |
| 37 | Fuse holder T2 | 1 | OPTI3091 | 35018 |
| 38 | Fuse 400 A | 1 | OPTI3145 | 35028 |
| – | Extraction handle for T1 & T2 | 1 | OPTI3118 | 312882 |
| – | Heat sensor | 1 | MPOP3720 | 311363 |
TROUBLESHOOTING GUIDE
Before contacting your nearest Max Power service station, please check the below troubleshooting guide and our online trouble shooting videos:
https://www.max-power.com/troubleshooting
| Problem | Check |
| The control panel does not light up |
|
| The relay is clicking but the motor is not running |
|
| The motor is running but the thruster is not working |
|
| The thruster lacks power |
|
WORLDWIDE DISTRIBUTION NETWORK
To locate the nearest Max Power distributor, please consult the section
“Worldwide Distribution” on our website: www.max-power.com
WARRANTY COVERAGE
Introduction
The purpose of this document is to set out the terms of warranty cover offered in relation to products purchased by the End User from Max Power or its approved network of resellers.
This document will adhere to the following format:
Section 1 Definitions
Section 2 Period of Coverage
Section 3 Warranty Registration
Section 4 Warranty Terms
Section 5 Warranty Exclusions
Section 6 Procedural Guidelines
Section 7 Service Centers
- Definitions
Authorized Repair Number – The number given by Max Power on reporting a fault with your thruster
Dealer – An authorized Max Power sales center
End User – The boat supplied with supplied equipment and the owner thereof
Installer – The authorized center responsible for the installation of your thruster
Manufacturer – supplier of the equipment under warranty
Pleasure Craft – Vessels used for owner’s personal use that have no commercial use (i.e Charter boats or work boats)
Resellers – Max Power approved distributors and dealers
Serial Number – Number in upper right hand corner of Warranty document
Supplier – The manufacturer (Max Power)
Warranty – The terms and conditions that are covered by the manufacturer - Period of Coverage
The equipment manufactured by the Supplier is guaranteed to be free from defective workmanship, components and materials under normal usage conditions for a period of two years from the date of purchase by the End User. This warranty is transferable to subsequent owners of this equipment during the period of coverage. - Warranty Registration
Register your purchase now to receive free extended warranty coverage by 1 year (3 years’ total warranty coverage). This can be done using one of the following methods (NB. proof of purchase must be included to establish that equipment is still under warranty):
a) The quickest and easiest method to register your warranty is to fax the attached installation check list and warranty registration to the Manufacturer:
https://www.max-power.com/warranty
b) Mail in your warranty registration document, please ensure that you make a copy before sending it. - Warranty Terms
If the material is used for anything other than for pleasure craft, the guarantee is limited to a six-month period.
Year 1 – All factory testing, diagnosis, repairs and replacements are performed at no charge to the End User. All parts and up to two hours of labor are covered for repairs and replacements conducted in the field.
Year 2 – All factory testing, diagnosis, repairs and replacements are performed at no charge to the End User. This excludes any damage or faults occurring from normal wear and tear on the following items: engine, oil seals, relay contacts (If warranty is registered within the 3-month period following installation) - Warranty Exclusions
Damage due to modifications or installation contrary to published specifications Cost of hauling the boat
Damage due to repairs performed by an unauthorized service center
Damage due to lack of normal maintenance services
Damage due to water
Parts replaced due to normal wear and tear
Repairs performed without knowledge of manufacturer (please contact dealer to receive
Repair Authorization Number)
Tampering of equipment by the End User
Cost of travel to and from the job site
Cost of economic loss, including injury to any person, damage to property, loss of income or profit, communication, lodging, inconvenience
Consequential damage due to failure, including those arising from collision with other vessels or objects - Procedural Guidelines
PLEASE VIEW THE TROUBLE SHOOTING LIST TO ASCERTAIN OR SOLVE ORIGIN OF PROBLEM PRIOR TO CONTACTING THE DEALER/INSTALLER- Contact your dealer/installer to report the problem.
a. If you do not know who this is contact the nearest Max Power distributor
b. If you are in foreign waters, please contact the nearest Max Power distributor - Ensure you have your serial number and model number to hand (top right hand corner of warranty)
- Dealer/Installer will come to site to decipher the cause of the fault
- If the cause of fault is due to a manufacturing problem the dealer will contact Max Power to receive Repair Authorization Number.
- If the problem is due to an installation error, please contact your installer
- Contact your dealer/installer to report the problem.
IF POSSIBLE: PLEASE TAKE PHOTOGRAPHS OF THE THRUSTER TO SHOW PROBLEM
The warranty as outlined above is only applicable to Max Power manufactured thrusters and optional equipment as used in marine pleasure industry. The supplier holds the exclusive right to test the product and determine whether it is defective
WARANTY FORM
VERY IMPORTANT: Please complete this form and fax a COPY to Max Power with a copy of the installation invoice or the invoice of the yacht/boat in order for the warranty to come into effect.
To be completed by the owner:
| Name of owner: | Tel.: |
| Address: | Email: |
| Postcode: | Country: |
| Name of skipper: | Tel: |
| Owner’s signature: | Date: |
To be completed by the installer:
Installation details
| Thruster model: | Electric/Hydraulic: |
| Installation date: | Date of launching boat: |
| Model and hull number of boat: | Builder:Build year: |
| Pleasure or commercial boat? : | Hull construction material: |
| L.O.A: | Width: |
| Waterline length: | Gross weight: |
| Tunnel Diameter, Thickness, Material & Length: | If Electric, Battery Type, Size & Number: |
Installation checklist:
| Electric : | Before using thruster | During use: |
| Voltage at batteries | ||
| Voltage at thruster motor | ||
| Ampere in motor power circuit |
| Mechanical: | YES / NO |
| Check if the drive coupling between the motor and drive leg is correctly tightened: | |
| Check cable connections are sufficiently tightened: | |
| The thruster installation has been checked and the thruster functions correctly? |
Important: Please consult this manual for more details
Name of Installer: …………………………….
Signature:.…………………………………..
Please visit our website to register the warranty:
https://www.max-power.com/warranty



















