vetus BOW7512D Bow Thruster

Introduction
These installation instructions give guidelines for fitting the VETUS bow thrusters ‘BOW7512D’ and ‘BOW7524D’.
The quality of installation will determine how reliably the bow thruster performs. Almost all faults can be traced back to errors or imprecision during installation. It is therefore imperative that the steps given in the installation instructions are followed in full during the installation process and checked afterward.
Alterations made to the bow thruster by the user will void any liability on the part of the manufacturer for any damages that may result.
The thrust given by the bow thruster will vary from vessel to vessel depending on the effect of the wind, the water displacement, and the shape of the underwater hull.
The nominal thrust quoted can only be achieved under the most favourable conditions:
- Make sure that the batteries are supplying the correct voltage during use
- During the installation process the ‘Installation recommendations for bow thrusters’, must be followed, specifically concerning:
- Sufficiently large diameter of the battery cables so that voltage drop is reduced to a minimum.
- The manner in which the tunnel has been connected to the hull.
- Use of bars in the tunnel openings.
These bars should only be used where this is strictly necessary (if sailing regularly in severely polluted water.) - The bars must have been fitted correctly
Following the above recommendations will result in longer life and better performance of your bow thruster.
- For maintenance, please consult the ‘Maintenance and Warranty Book’ supplied.
- Never allow the bow thruster to operate for a long period; the maximum length of usage is restricted because of heat release in the electric motor. After use the motor must be allowed to cool off.
Note
The maximum continuous length of usage and the thrust as specified in the technical details are based on the recommended battery capacities and battery cables.
If significantly larger batteries in combination with very short battery cables of significantly larger diameter than recommended are used then the thrust will increase. In such cases the maximum length of usage must be reduced in order to prevent damage to the motor.
Safety
Warning!
When using the bow thruster watch out for swimmers or light boats which could be in the near vicinity of the bow thruster tunnel openings.
Pass on the safety instructions to others using the bow thruster.
General rules and laws with regard to safety and accident prevention also need to be applied.
- Never touch the moving ends of the bow thruster whilst in operation.
- Never touch hot parts of the bow thruster and never place flammable materials in the vicinity of the bow thruster.
- Always stop the bow thruster before checking components or adjusting the bow thruster.
- Always disconnect the battery terminals during maintenance work.
- Ensure maintenance work is safe by only using tools suitable for the purpose.
- Always deactivate the main switch when the bow thruster is not in use for long periods.
Use
- Switch on the main switch.
- Consult the handbook supplied with the control panels for instructions on using the bow thruster.
Never switch in one movement from starboard to portside or reverse, but wait until the propeller stands still, before giving it a command to operate the electric motor in the opposite direction.
Care!
If 2 control panels are installed never operate the bow thruster from both panels simultaneously.
- Switch off the main switch when leaving the ship.
- Keep in mind that the carbon brushes in the motor release fine (black) dust. Do not store fragile equipment near the bow thruster motor.
Installation recommendations
Positioning of the thruster tunnel
Several installation examples.
To achieve the optimum performance, position the thruster tunnel as far forward as possible.
If, in addition to controlling the movement of the bow, the stern of the vessel is required to move sideways, then a second thruster may be installed at the stern.
For a planing boat the tunnel should, if possible, be so situated so that when the vessel is planing it is above the water level thus causing no resistance
Installation of two bow thrusters in tandem (for larger boats). In this case, depending on weather conditions, one or both bow thrusters may be used
Tip:
We do not advise fitting 2 bow thrusters into one tunnel; this does not result in doubling the thrust!
When choosing the location for the thrust tunnel, take the following into account for optimum performance:
- The distance A shown in the drawing must be at least 0.5 x D (where D is the tunnel diameter).
- The length of the tunnel (distance B) should be between 2 x D and 4 x D

Positioning of the bow thruster in the thrust-tunnel
When determining the exact position of the bow thruster in the thrust tunnel, the tailpiece MUST NOT protrude from the tunnel end

The propeller should preferably be situated on the centreline of the vessel, but it must always be accessible from the outside
- The electric motor can be installed in various positions.
- If the motor is set up horizontally or at an angle, support is absolutely essential.
- The electric motor must be positioned in such a way that it is always well clear from the maximum bilge water level.
Connection of thrust tunnel to ship’s hull
Direct connection of the tunnel to the hull, without a fairing, produces reasonable result
- The connection to the hull can be abrupt.
- It is better to make the connection rounded with radius ‘R’ of about 0.1 x D.
- It is even better to use sloping sides ‘C’ with dimensions 0.1 to 0.15 x D.
Connection of the thrust tunnel to the ship’s hull with a fairing results in lower hull-resistance during normal sailing.
- The connection with a fairing can be abrupt.
- It is better to make the connection with a fairing rounded with radius ‘R’ of about 0.1 x D.
- The best connection is with a fairing using sloping side ‘C’ with dimensions 0.1 to 0.15 x D.
Tip:
The manner, in which the thrust tunnel is connected to the hull, has a great influence on the actual performance of the bow thruster and to the drag the hull experiences when underway
- Length ‘L’ of the fairing should be between 1 x D and 3 x D.
- This fairing should be embodied in the ship’s hull in such a way that the centreline of the fairing will correspond with the anticipated shape of the bow-wave.
If the connection of the thrust tunnel and the boat’s hull is to be made with a sloped side, it should be executed in accordance with the drawing.

Make the sloped side (C) with a length of 0.1 to 0.15 x D and make sure that the angle between the tunnel and the sloped side will be identical to the angle between the sloped side and the ship’s hull.
Grid bars in the tunnel openings
Although the thrust force will be adversely affected, grid bars may be placed into the tunnel openings, for protection of the thruster.
In order to limit the negative effect of this on the thrust and on hull resistance during normal operation as much as possible, the following must be taken into account:
- Do not fit more bars per opening than is indicated in the drawing.
- The bars must have a rectangular cross-section.
- Do not fit round bars
- The bars must overlap a certain amount


- The bars must be installed so they are perpendicular to the expected waveform.
Installation of the thrust tunnel
- Drill 2 holes in the hull, where the centreline of the thrust tunnel will be, in accordance with the diameter of the marking tool.

- Pass the marking tool (home-made) through both pre-drilled holes and mark the outside diameter of the thrust-tunnel on the hull

- Dependent on the vessel’s construction material, cut out the holes by means of a jigsaw or an oxy-acetylene cutter.

- Install the thrust-tunnel.

Polyester thrust tunnel:
- Resin: The resin used for the polyester thrust tunnel is Isophtalic polyester resin (Norpol Pl 2857).
- Pre-treatment: The outside of the tunnel must be roughened.
- Remove all of the top surface down to the glass-fibre. Use a grinding disc for this.
- Important: After the tunnel been sawn to length, treat the end of the tube with resin. This will prevent water seeping in.
- Laminating: Apply a coat of resin as the first coat. Lay on a glassfibre mat and impregnate with resin. Repeat this procedure until you have built up a sufficient number of layers.
A polyester thrust tunnel should be finished as follows:
- Roughen the hardened resin/glass-fibre. Apply a top coat of resin.
- Treat the side of the tunnel which comes into contact with water with ‘epoxy paint’ or 2-component polyurethane paint.

- Then apply anti-fouling treatment if required.
Drilling the holes in the thrust-tunnel
- Mark the installation position of thebow thruster by means of the intermediate flange.
- Use the drill pattern supplied, to determine the correct position of the holes to be drilled.
Important: The pattern of the holes must be positioned precisely on the centreline of the tunnel.
Consult the template for the dimensions of the holes to be drilled. Drill the holes through the thrust tunnel and take care that the holes are free of burrs.
Protection of the bow thruster against corrosion
To prevent corrosion problems, do not use copper based antifouling. Cathodic protection is a ‘must’ for the protection of all metal parts under water and the bow thruster is supplied with a zinc anode for this purpose
Corrosion of a steel or aluminium thrust tunnel can be reduced by ensuring that the tail piece is completely insulated from the thrust-tunnel.
NOTE: The gaskets supplied are already electrically insulated. However the bolts and the shaft need to be fitted with insulation material, for example nylon bushes
Installation
In order to install the tunnel, consult chapter 4 ‘Installation recommendations’.
Note The areas in which the electric motor of the bow thruster and the battery are positioned must be dry and well ventilated.
Preparation
The bow thruster will be delivered fully assembled. Perform the following steps:
- Remove the propeller.
- Remove the motor from the intermediate flange.
- Remove the intermediate flange from the tail piece. The 2 bushes are only required for transport and are now no longer needed.
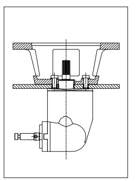
Installation tailpiece and intermediate flange
- Ensure that the plastic shim plate (1) has been positioned on the tail piece.
- Place one packing (2) between the tail piece and the tunnel.
- Apply a sealant (e.g. polyurethane or silicone) between the tail piece and packing, and between the packing and the tunnel wall.
- Place the tail piece in the hole in the tunnel.
Any extra packings used should be ones capable of justifying the tail piece. - Grease the hole of the intermediate flange and position this flange.
- Grease the threads of the bolts with ‘outboard gear grease’*) before inserting and tightening them.
Note
Check for possible leaks immediately the ship returns to water.
Final assembly
Grease the propeller shaft with ‘outboard gear grease’*) and install the propeller.
The propeller should run a minimum of 1.5 mm (1/16”) free of the thrust tube wall, all round.
- Slide the flexible coupling onto the output spindle of the electric motor as far as necessary to allow the end of the output spindle (A) and the underside of the flange (B) to become aligned.

- Tighten the lock-screw (C)

- Grease the input shaft with an installation compound, like ‘Molykote® G-n plus’.
- Grease the threads of the fastenings bolts with ‘outboard gear grease’ *) and install the electric motor to the intermediate flange.
- For a first check, turn the propeller by hand, it should turn easily, whilst being connected to the output spindle of the electric motor.

Electrical installation
Check that the voltage, recorded on the motor type plate, is in agreement with the vessel’s circuit voltage.
Choice of battery
- The total battery capacity must be sufficient for the size of the bow thruste
- We recommend VETUS maintenance free marine batteries; these can be supplied in the following sizes: 55 Ah, 70 Ah, 90 Ah, 108 Ah, 120 Ah, 143 Ah, 165 Ah, 200 Ah and 225 Ah.
- We also recommend that each bow thruster is powered by its own separate battery or batteries. This allows the battery bank to be placed as close as possible to the bow thruster; the main power cables can then be short thus preventing voltage losses caused by long cables.
Note
- Be sure to only use ‘sealed’ batteries if the batteries are located in the same compartment as the bow thruster.
- The VETUS ‘SMF’ and ‘AGM’ maintenance-free batteries are ideally suited to this application.
- Batteries that are not ‘sealed’ may produce small amounts of explosive gas during the charging cycle.
- Sparks generated by the carbon brushes of the bow thruster motor may ignite this explosive gas.
Always use batteries whose type and capacity are compatible for their use.
Caution
In extreme cases, for example when a battery with a capacity of five times or more than suggested is used, there is the danger of causing permanent damage to one or more of the following shaft connections:
- The connection between motor shaft and the tail piece input shaft.
- The connection between the tail piece output shaft and the propeller.
Main switch
The main switch must be fitted to the ‘positive cable’. The VETUS battery switch type BATSW250 is a suitable switch.
Main switch with remote control
Instead of a storage battery main switch, a remotely controlled main switch annex emergency stop can be installed.
This remotely controlled main switch is available for 12 or 24 Volt DC. VETUS art. code: BPMAIN12 respectively BPMAIN24.
Main power cables (battery cables)
The minimum diameter must be sufficient for the bow thruster’s current draw in use and the voltage drop must not be more than 10% of the voltage supplied,
Note
The maximum duration of engagement and the thrust, as specified by the technical details in your bow thruster installation and operating manual, are based on the recommended storage battery capacities and storage battery connection cables.
If appreciably larger batteries in combination with very short connection cables with appreciably larger diameter than recommended are used then the thrust will increase. In such cases the maximum operating time must be reduced in order to prevent damage to the motor.
Connecting the main power cables
Make sure that no other electrical parts come loose when connecting the electric cables.
Check all electrical connections after 14 days. Electrical parts (such as bolts and nuts) may come loose as a result of fluctuations in temperature
- Connect the main power supply cables.

Note
Be careful not to rotate the bolt and nut 1 while connecting the cables.
To prevent this happening, keep an open-ended spanner on nut 1 while screwing on bolt 2, without rotating this spanner.
The torque for nut 2 is 9 – 11 Nm (6.5 – 8 ft.lbf).
Fuses
- A fuse must be included in the ‘positive cable’ for the main switch, as close to the battery as possible.
- This fuse protects the on-board power cabling from short circuits.
- For all fuses we can suppy a fuse holder, VETUS part no.: ZEHC100. See page 106 for the size of the fuse to be used.

Bow thruster control panels
- Fit the control panel next to the steering position. There must be at least 50 mm (2”) space behind the panel. If 2 bow thrusters have to be operated simultaneously, for example on a catamaran, consult the diagram

- Fit the control cable between the bow thruster and the control panel through the vessel and connect the jack connections together.
If it is necessary to cut the intermediate cable and reconnect it take care to ensure the correct colours are connected together.
N.B: The colours of the wire cores in the intermediate cable may differ from the wire core colours as used on the bow thruster motor and on the control panel!
If there are two steering positions, the second control panel can be connected to the first one.
If it is found during test running that the thrust direction does not correspond with the direction switch on the control panel then the blue (no. 1) and the white (no. 4) wires on the relay must be interchanged.
Warning!
Do NOT test the bow thruster while the ship is out of water, unless you are certain that everyone is at a safe distance from the thrust tube.
Never allow the bow thruster to run for longer than 5 seconds with the ship out of water
Delay when reversing the thrust direction
If a delay is desired where one of the following operating devices is installed, a delay switch can be installed.
Operating device:
- BPJSTA, separate turn switch (Joystick),
- BPSM, operating panel for side mounting,
- FSxx, foot switch button Delay: VETUS art. code: BPTD
Troubleshooting
Electric motor does not operate
- Check that the battery main switch is ‘ON’.
- Check whether the control panel fuse has burnt out. [1]
- Check if the main fuse has burnt out. [2]
In all the above cases, the ‘POWER’ indicator LED is not lit. - The electric motor has overheated and its thermal Protection has broken the circuit of the control current.
The panel gives a warning signal three times ( . – . . – ) and the LED will glow red.
As soon as the motor has cooled down enough, the LED will resume glowing green and the bow thruster can be put back in service.
Check if it is possible to turn the propeller. A piece of wood or similar could have been caught between the propeller and the tunnel.
Electric motor turns slowly
- The battery is flat.
- Bad electrical connection(s) due to e.g. corrosion.
- The carbon brushes are not making proper contact.
- The battery capacity is reduced because of very low temperatures.
- Weed or fishing line has become caught in the propeller.
Control panel fuse is burnt out [1]
- Short circuit in the operating circuit; check the wiring.
Electric motor turns (too) fast but there is no thrust
- The blades of the propeller have been damaged by a foreign object having entered the propeller or tunnel.
- The drive pin on the propeller shaft has been broken by a foreign object having entered the propeller or tunnel. Replace the drive pin and check the propeller flange for any damage.
After pressing the on/off switch on the panel, the panel is not switched on.
The on/off switch must be pressed a second time within 6 seconds.
The LED will then remain green and the buzzer will confirm that the panel is ready for use by giving the signal (- . -).
Technical data

Length of usage:
- The control current fuse is in the bow thruster motor. A spare fuse can be found in the relay cap
- 2 min. continuously or max. 2 min. per hour at 550 A (12 Volt)
- 3 min. continuously or max. 3 min. per hour at 315 A (24 Volt)




































