

Installation manual
G.R.P. thrust tunnel for stern thruster
Introduction
VETUS ‘bow thrusters’ can be installed easily as a ‘stern thruster’ by using this G.R.P. thrust tunnel.
Due to the special tunnel the electric motor will be inside the vessel.
By doing so a reliable protection against influences from the outside is guaranteed. Also the electric motor is good serviceble.
By application of the thrust tunnel is achieved that:
- The propeller is shielded so the risk of inflict of damage and/or injury is highly diminished.
- The flow of the water is optimized so a high thrust will be obtained.
This installation instruction explains only that part of the installation that differs from the installation instruction going with the bow thruster.
So consult for the installation of the entire stern thruster also the relevant bow thruster instruction.
Operation
For operation of the stern thruster consult the owners manual of the installed bow thruster.
Note
Never use the stern thruster as boarding step! By stepping on to the thrust tunnel damage to both the propeller and the thrust tunnel can be inflicted. The operation of the stern thruster can adversely be affected and the seal between flange and ship’s hull can start leaking
Maintenance
The G.R.P. thrust tunnel requires no maintenance.
Installation
For overall dimensions, consult the drill pattern.
General
The reliability of the stern thruster is entirely dependent on the quality of the installation. Nearly all problems are caused by faults or inaccuracies which occur during the installation. It is therefore of utmost importance to follow and check the points mentioned in this manual.
Positioning of the stern thruster
When choosing the location for the stern thruster take in account that for an optimum result the centerline of the thrust tunnel must be at least ‘X’ mm below the the waterline.
Consult the drill pattern for ‘X’.
The electric motor must always be well clear from the maximum bilge water level 1 .
Consult the drill pattern for maximum allowable hull thickness.
The stern must be level. Otherwise it must be filled out with a spacer. Note that the total thickness must be less or equal than the maximum allowable thickness of the stern.

In case that the available height at the stern is insufficient for the installation of the stern thruster a sloped surface can be made to install the stern thruster. Than keep in mind that the thrust tunnel must be protected against the forces caused by the water flow during normal cruising.
Installation in the bottom of the vessel is not recommended. The thrust tunnel is not designed to withstand the forces of the water flow during normal cruising. At the same time also the normal propulsion is highly slowed down.
Installation of the flange
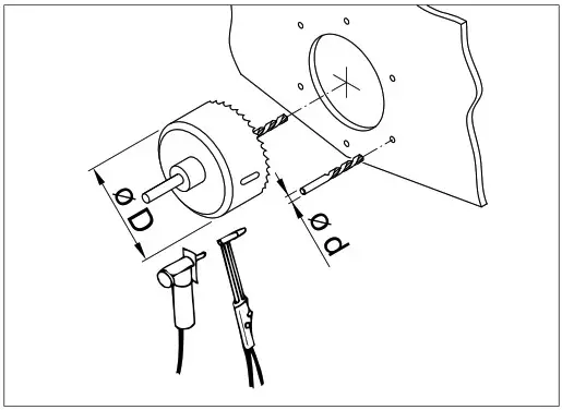
At the place of installation of the stern thruster attach the drill pattern at the outside and mark the holes.
Note
The centerline of the drill pattern must be precisely horizontally and at least ‘X’ mm below the waterline.

For checking purposes drill first a small hole at the location of the centre point of the flange. On the inside checking the available space for flange and motor can now be carried out easily.
Make the holes, dependent of the material of the ship’s hull by means of a drill and a jigsaw or with an oxy-acetylene cutter. Make sure that the holes are free of burrs.
Apply a sealant to the mounting surface 2 of the thrust tunnel (a polyurethane sealant e.g. Sikaflex 292) and position the thrust tunnel onto the hull.
Install the thrust tunnel with bolts, nuts and washers.
These parts are not supplied, but must be ordered separately.
Consult the drill pattern.
Bolt length depends on the hull thickness.
Installation of the ‘bow thruster’
The ‘bow thruster’ must be installed in accordance with the relevant bow thruster instruction.
Check whether the distance between the tips of the propeller blades and the inside of the thrust tunnel is exactly the same all along the periphery.

Printed in the Netherlands
020550.01 2022-01
FOKKERSTRAAT 571 – 3125 BD SCHIEDAM – HOLLAND
TEL.: +31 (0)88 4884700 – [email protected] – www.vetus.com
Copyright © 2022 Vetus b.v. Schiedam Holland


















