AFSTZIJ Mechanical Remote Engine Control
User Manual
Introduction
Both the gearbox and the fuel pump are operated by one single lever on Vetus mechanical remote engine controls.
The mechanism is suitable for both ‘push’ and ‘pull’ operation of the fuel pump (throttle) and reversing gearbox, both for ‘pushing-forwards’ and ‘pulling-backwards’ as well as ‘pushing-backwards’ and pulling-forwards’.
When in doubt, refer to the engine supplier if it is not clear how to operate the engine as far as using the throttle and gear change (‘push’ or ‘pull’) is concerned.
Installation
2.1 Mechanism
The remote control mechanism is delivered standard for a ‘pull’ throttle.
The mechanism can be adjusted for operation with a ‘push’ throttle.

Adjusting the ‘throttle’ function:
- Remove the screw (1) and the washer (2).
- Lift the throttle lever (3) from the mechanism.
- Move the dowel (4) to the opposite hole (5).
- Turn the throttle lever 180° and replace in the mechanism.

Note!
Take note that when applying push throttle, the dowel must engage with the inner groove (6) in the throttle lever If the dowel is in the wrong groove, the lever will have insufficient stroke
Changing gear:
The mechanism is provided with a double gearbox lever with 4 holes in total.
The mechanism can be used for both ‘pull’ and ‘push’ gear engagement for a cable stroke of 38 mm (1 ½”) or 31 mm (1 ¼”), with no need to adjust the mechanism.
The gearbox cable must be attached to the relevant hole on the side of the gearbox lever, depending on the required operation (‘pull’ or ‘push’).

2.2 Pull-push cables
Installing the cables
Take note of the following when installing the cables:
- Ensure the correct (total) cable length is used.
- Make as few loops as possible in the cable and make the bending radius as large as possible (at least 50 cm (20”)). Using a smaller bending radius will cause excessive wear on the outer cable.
- The cables must be clamped at regular intervals (every 60 cm (2 ft)).
- Do not install the cable too close to heat sources, such as the various exhaust parts.
- Prevent cable from chafing.
- After installation in the mechanism, check that the cables can be moved without significant resistance.
Note!
Throttle cable
Because the throttle cable moves back and forth when in use, it must not be fixed too close to the mechanism with a bracket; this would restrict movement. This can cause excess strain on the mechanism resulting in stiff throttling and premature wear of the throttle outer cable.
For this reason the throttle cable must be fed to the mechanism with 1 or 2 loops close to the mechanism for problem free operation.
Gearbox cable
The gearbox cable is secured in the mechanism and can be fixed in a bulkhead near the mechanism.
2.3 Connecting the pull-push cables
Note!
Always connect the cables to the mechanism first. Connecting the cables to the gearbox and the engine must only be done when the entire remote control is installed.
Attaching throttle cable to the mechanism

- Remove the nut (7) and both rubber seals (8) from the throttle cable.
- Guide the cable through the throttle cable bracket.
- Replace both rubber seals and the nut onto the throttle cable.
- Secure the throttle cable with the lock pin (bobby pin) (9) as shown.
- Screw the cable nipple (10) onto the end of the throttle cable so that 4 mm thread protrudes from the cable nipple.
- Secure the cable nipple with the nut (7).
- Place the cable nipple on the throttle lever and secure the cable nipple with the cotter pin (11).
2.4 Connecting the pull-push cables to the mechanism
Note!
To prevent the gearbox lever (12) from being blocked unintentionally, the knob (13) on the operating lever must never be pressed in if the mechanism and the cables are not yet attached.
Should the gearbox lever block, then it must be turned back by hand to neutral position. It is not possible to turn the operating lever back to the neutral position with the operating lever.

- Guide the gearbox cable through the lower part of the mechanism (14), taking care that the outer cable is placed on the correct side of the mechanism.
- Screw the cable nipple (10) onto the end of the gearbox cable so that 4 mm thread protrudes from the cable nipple.
- Secure the cable nipple with the nut (7).
- Place the cable nipple on the gearbox lever and secure the cable nipple with the cotter pin (11).
2.5 Housing and lever
When choosing a place to mount the plastic housing and the lever, account for the maximum stroke the lever will make, see ‘9 Overall dimensions’ on page 28.
- Using the drilling template supplied, mark the drill positions for the mounting holes and the outline of the opening to be cut.
- Drill the holes (ø 4 mm (5/32” diam.)) and cut out the opening.

- Check again that the lever can make a complete stroke.
- Connect the cables to the mechanism as can be read in the chapter ‘Pull-push cables’.
Note!
Always connect the cables to the mechanism first. Connecting the cables to the engine should be the very last step taken.
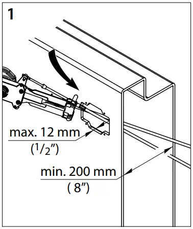
Assembly from the outside
– If the controls are to be mounted from the outside, then the distance between the bulkhead and the hull of the ship must be at least 200 mm (8”).
– The thickness of the bulkhead or the mounting plate, on which the controls are being mounted, may never exceed 12 mm (1 /2”).

- Put the lever on the mechanism and switch to the forward position.

- Using the lever, push the mechanism through the hole and ensure that 2 of the 4 mechanism mounting holes are outside the hole as shown.

- Switch back to the neutral position and proceed as shown in figure 4 and 5, so that all 4 of the mechanism’s mounting holes are in front of the bulkhead.

Assembly from the inside
– If the mechanism is to be assembled from the inside, then 100 mm (4”) free room is sufficient.
– The thickness of the bulkhead or the mounting plate, on which the controls are being mounted, may never exceed 12 mm (1 /2”).
- Place the lever on the mechanism and put the mechanism in the neutral position.

- Remove the lever and pull the mechanism through the hole.

- Secure the mechanism to the bulkhead with the 4 self-tapping screws supplied.
- Clip the plastic housing onto the mechanism. Take care that the plastic pins go into the holes in the mechanism.
- Apply a little grease to the mechanism axle and install the lever in the required position (usually vertical).
- Apply also a little grease to the screw in the lever and fasten the screw so that the lever fits tightly on the axle.
Do not fasten the screw too tightly, just tight enough. - Check the lever’s stroke.
- Put the lever in the forward position and press the neutral position button firmly in place.

2.6 Attaching Pull-push cables to the engine
- Connect the cables to the gearbox and the fuel pump as specified by the engine supplier.
- Check if the fuel pump lever can reach its end position when the lever is put in the furthest position.
- Check also that the gearbox operates correctly.
2.7 Adjustment
The mechanism is provided with an adjustable brake. The brake prevents the throttle from creeping back to stationary when the engine’s fuel system has a tendency to pull the lever back again. Resistance can be increased by turning the adjusting screw clockwise, see ‘5 Adjustment’ on page 26.
2.8 Neutral safety switch
A neutral safety switch can be optionally mounted on the mechanism, see ‘6 Neutral safety switch’ on page 26.
A neutral safety switch prevents the engine from being started when the gearbox is still engaged. 2.9 Multiple remote controls
If an engine is provided with two remote controls, differential devices must be purchased.
With differential devices, both remote controls can be connected to each other, so that the engine can be operated independently from two places.
Two differential sets are needed per engine, one for the gearbox and one for the fuel pump. See ‘7 Differential devices’ on page 26.
Operation
Operation of the gearbox can be switched off with the neutral position button, so that only throttle can be applied, for instance for starting and warming up the engine. See ‘8 Using throttle without engaging the gearbox’ on page 26.
On putting the lever back into the neutral position, the press-button will jump back and the remote control is ready for normal use.
Maintenance
- If necessary, clean the lever and housing with fresh water.
- Check the mechanism regularly for loose parts and for wear on moving parts.
Regularly lubricate moving parts with moisture resistant lubricating oil. - Check the cables and cable connections regularly for wear and corrosion.
5. Adjustments

6. Neutral safety switch

7. Differential device
8. Throttle without engaging the gearbox


| pos. | qty | part | description |
| 1 | 1 | AFST01 | Mechanism |
| 2 | 1 | AFST10 | Cover |
| 3 | 1 | AFST06 | Lever, compl. |
| 4 | 1 | AFST07 | Push button |
| 5 | 1 | AFST03 | Mounting kit (Self tapping screws 4.8 x 19) |
| 6 | 1 | AFST13 | Cable connection set |
Overall dimensions

FOKKERSTRAAT 571 – 3125 BD SCHIEDAM – HOLLAND
TEL.: +31 (0)88 4884700
[email protected]
www.vetus.com
Printed in the Netherlands
030601.01 2022-01
Copyright © 2022 Vetus b.v. Schiedam Holland


























