Installation and user manual
Mechanical remote engine control
Installation and user manual
Mechanical remote engine control
AFSTTOP – AFSTTOPT
Copyright © 2022 Vetus b.v. Schiedam Holland
Introduction
Both the gearbox and the fuel pump are operated by one single lever on Vetus mechanical remote engine controls.
The mechanism is suitable for both ‘push’ and ‘pull’ operation of the fuel pump (throttle) and reversing gearbox, both for ‘pushing-forwards’ and ‘pulling-backwards’ as well as ‘pushing-backwards’ and ‘pulling-forwards’. When in doubt, refer to the engine supplier if it is not clear how to operate the engine as far as using the throttle and gear change (‘push’ or ‘pull’) is concerned.
Installation
2.1 Mechanism
The remote control mechanism is delivered standard for a ‘pull’ throttle.
The mechanism can be adjusted for operation with a ‘push’ throttle.
Adjusting the ‘throttle’ function:
- Remove the screw (1) and the washer (2).
- Lift the throttle lever (3) from the mechanism.
- Move the dowel (4) to the opposite hole (5).
- Turn the throttle lever 180° and replace in the mechanism.

Note!
Take note that when applying push throttle, the dowel must engage with the inner groove (6) in the throttle lever If the dowel is in the wrong groove, the lever will have insufficient stroke
Changing gear:
The mechanism is provided with a double gearbox lever with 4 holes in total.
The mechanism can be used for both ‘pull’ and ‘push’ gear engagement for a cable stroke of 38 mm (1 ½”) or 31 mm (1 ¼”), with no need to adjust the mechanism.
The gearbox cable must be attached to the relevant hole on the side of the gearbox lever, depending on the required operation (‘pull’ or ‘push’).
2.2 Pull-push cables
Installing the cables
Take note of the following when installing the cables:
– Ensure the correct (total) cable length is used.
– Make as few loops as possible in the cable and make the bending radius as large as possible (at least 50 cm (20”)). Using a smaller bending radius will cause excessive wear on the outer cable.
– The cables must be clamped at regular intervals (every 60 cm (2 ft)).
– Do not install the cable too close to heat sources, such as the various exhaust parts.
– Prevent cable from chafing.
– After installation in the mechanism, check that the cables can be moved without significant resistance.
Note!
Throttle cable
Because the throttle cable moves back and forth when in use, it must not be fixed too close to the mechanism with a bracket; this would restrict movement. This can cause excess strain on the mechanism resulting in stiff throttling and premature wear of the throttle outer cable. For this reason the throttle cable must be fed to the mechanism with 1 or 2 loops close to the mechanism for problem free operation.
Gearbox cable
The gearbox cable is secured in the mechanism and can be fixed in a bulkhead near the mechanism.
2.3 Connecting the pull-push cables
Note!
Always connect the cables to the mechanism first. Connecting the cables to the gearbox and the engine must only be done when the entire remote control is installed.
Attaching throttle cable to the mechanism
- Remove the nut (7) and both rubber seals (8) from the throttle cable.
- Guide the cable through the throttle cable bracket.
- Replace both rubber seals and the nut onto the throttle cable.
- Secure the throttle cable with the lock pin (bobby pin) (9) as shown.
- Screw the cable nipple (10) onto the end of the throttle cable so that 4 mm thread protrudes from the cable nipple.
- Secure the cable nipple with the nut (7).
- Place the cable nipple on the throttle lever and secure the cable nipple with the cotter pin (11).

2.4 Connecting the pull-push cables to the mechanism
Note!
To prevent the gearbox lever (12) from being blocked unintentionally, the knob (13) on the operating lever must never be pressed in if the mechanism and the cables are not yet attached. Should the gearbox lever block, then it must be turned back by hand to neutral position. It is not possible to turn the operating lever back to the neutral position with the operating lever.
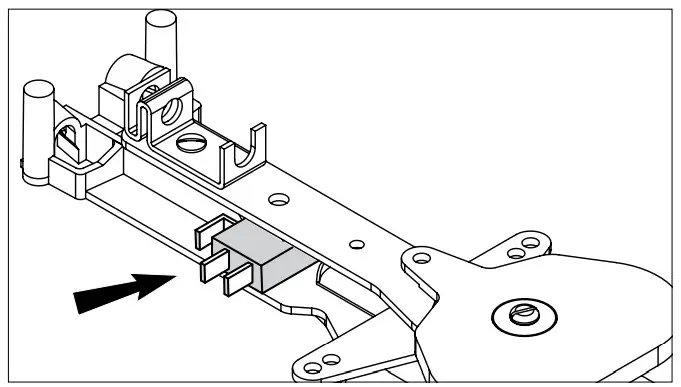
- Guide the gearbox cable through the lower part of the mechanism (14), taking care that the outer cable is placed on the correct side of the mechanism.
- Screw the cable nipple (10) onto the end of the gearbox cable so that 4 mm thread protrudes from the cable nipple.
- Secure the cable nipple with the nut (7).
- Place the cable nipple on the gearbox lever and secure the cable nipple with the cotter pin (11).

2.5 Housing and lever
When choosing a place to mount the plastic housing and the lever, account for the maximum stroke the lever will make, see ‘9 Overall dimensions’ on page 28.
It is preferable to place the housing as far as possible to the rear on the instrument panel so as to achieve maximum slackness of the throttle cable with the gearbox clutch in the ‘reverse’ position.
- Using the drilling template supplied, mark the drill positions for the mounting holes and the outline of the opening to be cut.
- Take care to position the drilling template correctly with respect to the positioning of the lever(s).
- Drill the holes (ø 5 mm (13 /64”)) and cut out the opening.
- Mount the two brackets supplied onto the mechanism.
Only for 2 engine controls (AFSTTOPT)
- Attach the vibration dampers to the protruding parts on the underside. The vibration dampers must not be mounted opposite each other to prevent overloading of the mechanism.

- Check again that the lever can make a complete stroke.
- Guide the throttle cable and the gearbox cable through the hole.
- Connect the cables to the mechanism as can be read in the chapter ‘Pull-push cables’.
Note!
Always connect the cables to the mechanism first. Connecting the cables to the engine should be the very last step taken.
- Place the silver coloured part of the housing under the mechanism.
- Fix the mechanism to the dashboard with the fastenings supplied.
- Apply the 2 end pieces (AFSTTOP) or bridge pieces (AFSTTOPT) supplied.

- Now place the black cap. Take care everything is pressed well in place.
- Apply some grease to the mechanism.
- Place the O-ring on the axle and install the lever in the required position (usually vertical).
Make sure that the lever can be pushed forward far enough for full throttle. - Also apply a little grease to the screw in the lever and fasten the screw so that the lever fits tightly on the axle.
Do not fasten the screw too tightly, just tight enough. - Check the lever’s stroke.
- Put the lever in the forward position and press the neutral position off button firmly in place.

2.6 Attaching Pull-push cables to the engine
- Connect the cables to the gearbox and the fuel pump as specified by the engine supplier.
- Check if the fuel pump lever can reach its end position when the lever is put in the furthest position.
- Check also that the gearbox operates correctly.
2.7 Adjustment
The mechanism is provided with an adjustable brake. The brake prevents the throttle from creeping back to stationary when the engine’s fuel system has a tendency to pull the lever back again. Resistance can be increased by turning the adjusting screw clockwise, see ‘5 Adjustment’ on page 26.
2.8 Neutral safety switch
A neutral safety switch can be optionally mounted on the mechanism, see ‘6 Neutral safety switch’ on page 26.
A neutral safety switch prevents the engine from being started when the gearbox is still engaged.
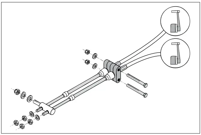
2.9 Multiple remote controls
If an engine is provided with two remote controls, differential devices must be purchased.
With differential devices, both remote controls can be connected to each other, so that the engine can be operated independently from two places.
Two differential sets are needed per engine, one for the gearbox and one for the fuel pump. See ‘7 Differential devices’ on page 26.
Operation
Operation of the gearbox can be switched off with the neutral position button, so that only throttle can be applied, for instance for starting and warming up the engine. See ‘8 Using throttle without engaging the gearbox’ on page 26.
On putting the lever back into the neutral position, the press-button will jump back and the remote control is ready for normal use.
Maintenance
- If necessary, clean the lever and housing with fresh water.
- Check the mechanism regularly for loose parts and for wear on moving parts.
Regularly lubricate moving parts with moisture resistant lubricating oil. - Check the cables and cable connections regularly for wear and corrosion.
Adjustments

Neutral safety switch

Differential device


Throttle without engaging the gearbox


| AFSTTOP AFSTTOPT | Service parts | ||
| pos. | qty | part | description |
| 1 | 2/2 | AFST01 | Mechanism |
| 2 | 2/2 | AFST14 | Cover part |
| 3 | 1 | AFST11 | Cover (AFSTTOP) |
| 4 | 1 | AFST12 | Cover (AFSTTOPT) |
| 5 | 1/2 | AFST05 | Lever, compl. |
| 6 | 1/2 | AFST08 | Cover for lever |
| 7 | 1/2 | AFST09 | Push button |
| 8 | 1/2 | AFST13 | Cable connection set |
| 9 | 1 | AFST02 | Mounting kit (AFSTTOP) |
| 10 | 1 | AFST04 | Mounting kit (AFSTTOPT) |
Overall dimensions

vetus b.v.
Printed in the Netherlands
030601.02 2022-01
FOKKERSTRAAT 571
3125 BD SCHIEDAM
HOLLAND
TEL.: +31 (0)88 4884700
[email protected]
www.vetus.com






















