Installation and user manual
Mechanical remote engine control
RCTOPBG RCTOPTBG SICOG
Introduction
With the Vetus mechanical remote engine control both the gearbox and the throttle can be controlled my means of one lever.
Installation
2.1 Pull-push cables on the mechanism
The mechanism is directly suitable for control of the:
- throttle (to accelerate)
– ‘pushing’
– ‘pulling’ - gearbox (to change gear)
– ‘push to go forward’ and ‘pull to go backward’
– ‘push to go backward’ and ‘pull to go forward’
When in doubt, consult the engine supplier if is it not clear how the control of the engine is arranged with regard to accelerating and changing gear (‘pushing’ or ‘pulling’).
Warning!
Always connect the cables to the mechanism first. You should only connect the cables to the gearbox and the throttle after the complete remote control mechanism has been installed.
Always remove the lever and part of the housing first (with RCTOP..) or the lever and the plate (with SI(S)CO(G)) of the mechanism, before the cables are mounted on the mechanism (see drawing on right-hand page).
Besides the cable type 33C supplied by Vetus and Morse, the mechanism is also suitable for use with cable type OS from OMC and cable type KM from Mercury. The mounting holes in the mechanism are numbered. These numbers correspond with the type of cable:
| Function | Type of cable | ‘Pushing’ | Pulling’ |
| Acceleration | All types | 1 | 2 |
| Gear-change (forward) | 33C | 3 | 4 |
| OS | 5 | 6 | |
| KM | 7 | 8 |
Ensure that both functions of the mechanism are in the neutral position before connecting the cables.
Connecting the gas cable:
‘Pushing’ accelerating : see drawing 1 on page 14
‘Pulling’ accelerating : see drawing 2 on page 14
Connecting the gear cable:
‘Pushing-forward’ and ‘pulling-backwards’ gear change: see drawing 3 on page 14
‘Pushing-backwards’ and ‘pulling-forward’ gear change: see drawing 4 on page 14
When installing the cables, also take note of the following points:
- Make sure you have enough (total) length of cable.
- Make as few bends in the cable as possible, and use the largest possible bending radius (at least 500 mm (20”)).
- The cables must be clamped at regular distances (every 60 cm (24”)).
- Do not install the cables close to heat sources, such as the various parts of the exhaust system.
- Prevent abrasion of the cable.
- After installation on the mechanism, check whether the cables can move without appreciable resistance.
2.2 Pull-push cables on the engine
Connect the cables with the gearbox and the throttle, as prescribed by the engine supplier.
Check whether the throttle lever on the engine reaches its end position when the lever is at its farthest position.
Also check to make sure the gearbox works correctly.
2.3 Neutral switch
The mechanism is also equipped with a neutral switch. The neutral switch prevents the engine from being started while the gearbox is still engaged.
If the neutral switch is to be used, connect it as shown in the electrical circuit diagrams on page 15.
2.4 Multiple remote controls
Whenever a engine is fitted out with two remote controls, differen-tial devices should be procured.
With differential devices, both remote controls can be connected to one another, so that the engine can be independently controlled from two places.
Two differential devices are needed per engine, namely one for the gearbox and one for the throttle. See drawing on page 15.
2.5 Housing and Lever
When selecting the place where the housing and lever will be mounted, account for the maximum swing that the lever can make.
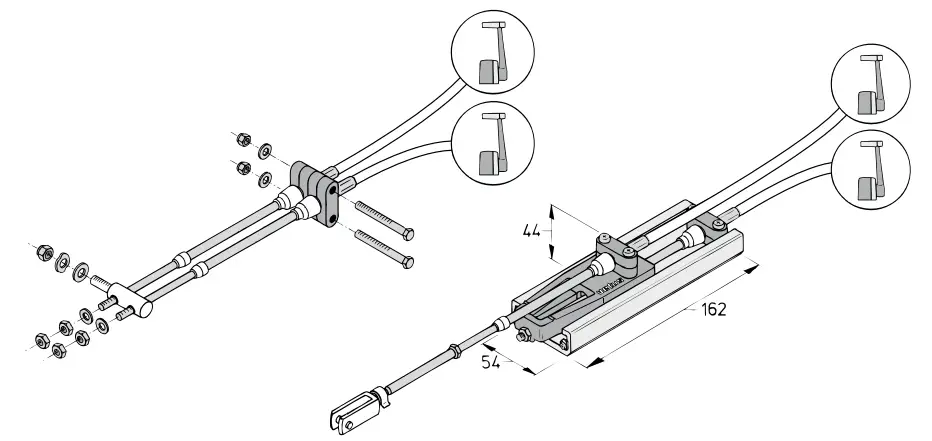
Also account for the total height of the mechanism. See drawing ‘Principal dimensions’.

Top mounting:
- With the help of the supplied drill pattern,sketch the mounting holes to be drilled and the opening to be sawed out.
- The two brackets on part should serve as mounting brackets.
Make sure that the mounting holes line up with the sketched holes. - Drill the holes and saw out the opening.
- Apply the supplied self-stick spacer in the correct manner.
- Assemble the remote control with M5 bolts of the correct length.
- Now assemble part of the housing.
- Grease the axle of the mechanism , and mount the lever in the desired position (usually vertical).
- Provide the bolt M10 with a screwlock (Loctite ® 243).
- Check the path of the cables.
Side mounting:
The remote control for side mounting requires a space of at least 180 mm (7”) behind the shot in order to assemble the entire mechanism.
- With the help of the supplied drill pattern, sketch the mounting holes to be drilled and the opening to be sawed out.
- Drill the holes and saw out the opening.
- Apply the supplied inseal correctly on the back of plate . See inset.
- Attach the mechanism to plate.
- Then attach the entire mechanism to the shot with bolts.
- Grease the axle of the mechanism, and mount the lever in the desired position (usually vertical).
- Provide the bolt M10 with a screwlock (Loctite ® 243).
- Check the path of the cables.

Adjustments
Screw 1 can be adjusted to set the friction for the gas mechanism, depending on the counter pressure of the throttle.
Control
Button 2 can be used to turn off the control of the gearbox, so that gas can only be given. (For example, for starting and warming up the engine.) When the lever is returned to the neutral position, the button will pop back out, and the remote control is ready for normal use.
Mechanical remote engine control

Maintenance
- Clean, as necessary, the lever and the housing with freshwater.
- Check the mechanism for loose components and for wear of the moving parts on a regular basis.
Apply a water-resistant lubricant to the moving parts routinely. - Check the cables and the cable connections for wear and corrosion on a regular basis.

Electrical circuit diagrams

A Single command station
B Two command stations
C Single command station with restart protection
D Two command stations with restart protection
- Starter switch
- Relay
- Neutral switch
- Starter relay
- Charging light
- Alternator (Connection D + / WL)
Differential device

for throttle
for gearbox
Principal dimensions

Printed in the Netherlands
030606.07 2021-01
FOKKERSTRAAT 571 – 3125 BD SCHIEDAM – HOLLAND
TEL.: +31(0)88 4884700 – [email protected] – www.vetus.com
Copyright © 2022 Vetus b.v. Schiedam Holland 030606.07

















