CAL-ROYAL N-CVRESC-00 Escutcheon Trim

Installation Instructions
| N-CVRESC-00 | N-CVRESC-30 | N-CVRESC-40 | 0 N-CVRESC-05 |
![]() | ![]() | ![]() | ![]() |
| Lockable NEC Lever Trim Key locks & Unlocks Lever | No Cylinder Trim Always Operable | Pull when Push bar locked down Dummy Nesc Lever Trim | Key unlock Nesc Lever, Key remained on Cylinder unless Locked. Cylinder Nesc Lever Trim |
| 13 function Entrance | 15 functionPassage | 10 function Dummy | 04 function Storeroom |
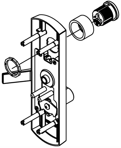
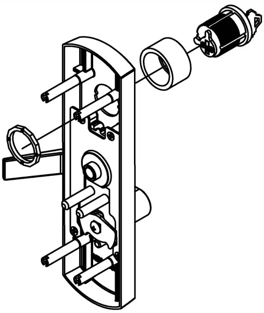
| Attach the collar and mortise cylinder to the nesc case with mortise nut, attach case to door thru bolting (4) screws to the chassis, aligning spindle to hub. | Attach nest case to door thru bolting the (4) screws to the chassis, allaying spindle to hub of the chassis. | Attach the collar and dummy cylinder to the nest case with mortise nut, attach case to door thru bolting (4) screws to the chassis. | Attach the collar and mortise cylinder to the nesc case with mortise nut, attach case to door thru bolting (4) screws to the chassis, aligning spindle to hub. |
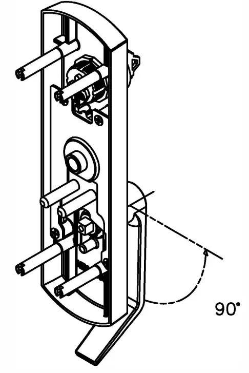
Method of Change Handing of Lever LHR(Reverse Step for RHR)
- Rotate lever to LHR positioned at goº.

- Place and fasten cam piece with locked type washer and screw.

- Done.

- Rotate lever to LHR positioned at goº.

- Place and fasten cam piece with locked type washer and screw.

- Done.




























