Contents hide
CAL-ROYAL SC Series SC8473 Push-Pull Trim with Mortise Lock
Install Cover For Pull Side Handle
Place cover onto Pull Side Handle, align the cover mounting holes with the upper mounting holes on cover bracket of Pull Side Handle, then secure cover using two (2) flat head screws.- The cover direction varies with mounting hand of the handle, see the figures shown at right.

Door Preparation

- Measure desired height from the finished floor. mark a horizontal line on door Heg and door edge.
- Align template on edge of the door with the applicable horizontal at height line. Check the chart of drilling trim holes on the template and mark only holes for lock function is installed.
- Mortise door edge according to measurements of installation template and drill proper holes or trims.
- Recess for the face plate. the dimension is L8-1/32″ x W 1-5/16″ x D 7/32″.
Strike installation
- Align strike template on the jamb. Be sure to keep 11/32″ distance between lock centerline and strike centerline. Bore 1″ diameter holes into door edge, 1-1/8″ deep. Recess 5/32″ for a flush fit of strike and dust box.
- Mortise jamb according to the measurement of strike template. Then fit strike and dust box into the frame and secure into place with supplied screws.
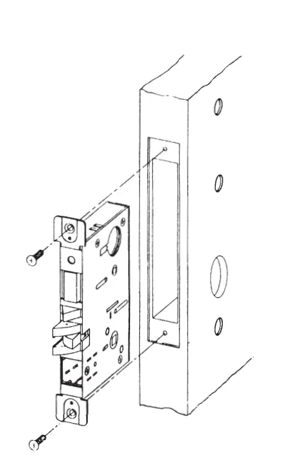
Install Lock Case
- Make sure the lock hand matches the door hand, use the following diagram to determine the hand of the doo.

- Instructions for changing lock hand:
- CHANGE LATCHBOLT HANDING If the hand of the latch bolt does not match the door hand, remove the fixing screw and pull the latch bolt out from the lock case, then turn the complete unit having the bevel of latch bolt to reverse door handing. Position latch bolts back and fasten it.

- SET OUTSIDE HAND OF LOCK CASE (Skip to next step for passage function) There are two catch screws of lock hand on both sides of the chassis. Take catch screw out from one side of chassis which is going to face outside of the door. The other catch screw must always be on the inside of the chassis. For RH and RHRB, the catch screw will be on the lock case side. For LH and LHRB, the catch screw will be on the lock.case cover side

- CHANGE LATCHBOLT HANDING If the hand of the latch bolt does not match the door hand, remove the fixing screw and pull the latch bolt out from the lock case, then turn the complete unit having the bevel of latch bolt to reverse door handing. Position latch bolts back and fasten it.
- Check the hub of lock case if it is seated in the position as same as the arrow mark ” A ” which is pointed vertically to the ” B ” hole direction. If yes, then proceed next step.

- Insert lock case into mortise cut out and fasten screws to door.

Install Mortise Cylinder (Skip to next step for passage & privacy functions)
- Remove key from mortise cylinder.
- Slide wave spring and cylinder collar onto mortise cylinder body.
- Screw mortise cylinder into the threaded hole of lock case from the outside face of the door.
- Fasten captured cylinder set screw by Phillips tip screwdriver.

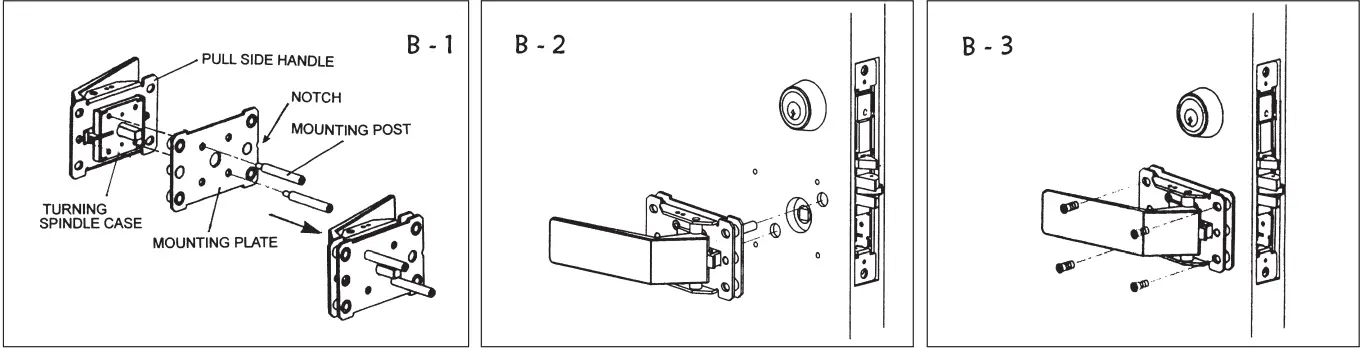
Install Pull Side Handle
- This Pull Side Handle can be mounted up. down, horizontally, see the Fig. A – Down mounting hand Fig. B – Horizontal mounting hand Fig.C-Up mounting hand But it is not available for the handle mounted up when the pull side of door hasinstalled a mortise cylinder.



- Installation Steps
- Remove cover from Pull Side Handle. Place “Turning Spindle Case” into fou ferrules of Pull Side Handle as figure shown, and put the mounting plate onto Pull Side Handle. Then screw the two mounting posts into threaded holes of the Turning Spindle Case through the mounting plate.
Note: The center notch on the mounting plate must be kept the same hand (down, horizontal or up direction) as the handle, If not. the mounting plate cannot contact with Pull Side Handle closely. - Place Pull Side Handle setting on the pull side of the door so that the spindle and two mounting posts can engage with the mortise lock.
- Fasten Pull Side Handle using four round head screws, but do not over-tighten at this step until Push Side Handle is installed and completed.
- Remove cover from Pull Side Handle. Place “Turning Spindle Case” into fou ferrules of Pull Side Handle as figure shown, and put the mounting plate onto Pull Side Handle. Then screw the two mounting posts into threaded holes of the Turning Spindle Case through the mounting plate.
Install Push Side Handle
- This Push Side Handle can be mounted up, down, or horizontally, see Fig. A- Down mounting hand. Fig. B- Horizontal mounting hand Fig. C- Up mounting hand This Up mounting hand is available for the locks which do not have an inside thumb turn to be installed on the push side of the door.



- Installation Steps: Remove cover from Push Side Handle. Place “Turning Spindle Case” into four ferrules of Push Side Handle. then fasten with two flat head screws. .Fix mounting plate on the push side of door by two flat head screws, which must screw into the threaded hole of two mounting posts that come from the pull side of the door and go through the mortise lock case. Place Push Side Handle on the mounting plate. then fasten it using four round head screws. Note: Make sure the center notch on the mounting plate in the reverse direction with the handle; if not, Push Side Handle cannot contact the mounting plate closely.
- Test the handle on each side of the door for latch retraction several times to assure installation and operation without a problem.
- Go back to secure the Pull Side Handle gently.
Install Thumbturn & Armor Faceplate
- Insert thumb-turn assembly and fasten with two (2) screws. 1 This step is not available for the handle mounted up.
- Install armor faceplate onto lock case front and fasten with supplied screws. This step is the same for all three mounting hands.
Install Cover For Push Side Handle
- Place cover onto Push Side Handle. align the cover mounting holes with the lower mounting holes on cover bracket of Push Side Handle, then secure cover using two (2) flat head screws.
- The cover direction varies with mounting hand of the handle, see the figures shown at right.
Install Cover For Pull Side Handle
Place cover onto Pull Side Handle, align the cover mounting holes with the upper mounting holes on cover bracket of Pull Side Handle, then secure cover using two (2) flat head screws.

































