HAGER I-LS02692 Grade 1 Sectional Mortise Lock

PARTS


Safety Information
Carefully read the instructions before installing and using this lock.
WARNING: If the door needs to be drilled, be familiar with how to safely use your tools, and understand all the door preparation steps before proceeding.
FINISH & CARE NOTES: Either remove the locks or do not install them prior to painting your door to protect the finish. Periodically clean the locks with mild soap and a soft cloth. Do not use abrasives or harsh chemicals when cleaning or using the lock.
Required Tools
Door / Frame Preparation
(Skip this step if the door has already been prepared)
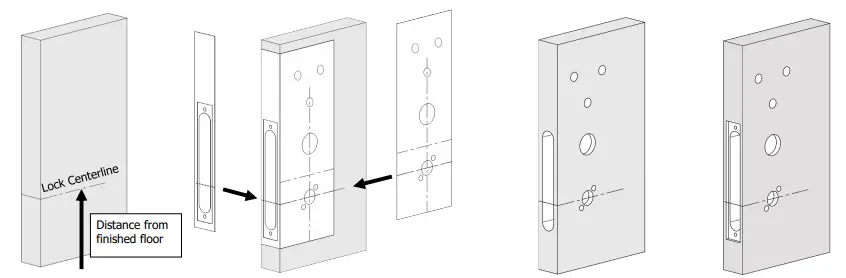
- Mark the Lever Centerline on the door face and edge at desired distance from the finished floor. Align the template and mark the door, drill the holes, and chisel out a mortise pocket. Use a Ø3/16” [4.8 mm] pilot hole for FF & HH screws. Mark the lock centerline from the template onto the door edge.

NOTE: Drill from both sides to avoid splintering the finished surface of wood doors - Prepare the door jamb for the strike. Mark the horizontal lock centerline from the door across the door jamb. Mark a line 3/8” above the lock centerline for the horizontal strike centerline. Mark the vertical centerline for the strike on the jamb. Align the template and mark holes. Drill 3/16” [4.8 mm] pilot holes for #12 strike screws. Drill Ø 1” holes for strike hole and chisel out pocket. Mark and chisel out jamb for strike plate until plate is flush. See template for dimensions. Suggested strike depths are shown below for a variety of features.

Strike depth:
- .143” Strike + DPS + Dust Box
- .128” Strike + Dust Box
- .093” Strike + DPS
- .078” Strike Only
Install Strike
- Install the strike, DPS Plate (DPS feature only), and dust box (if needed) using (2) #12 screws FF.
- DPS Plate is only needed with DPS function mortise locks
- Dust box is only needed on jambs without built in dust boxes.
Hand Lock Body
- Identify the handing of the opening (see above). Remove the handing screw of the outside side of the lock body. See above for desired bolt orientation and handing screw to remove for opening handing. To change the latch bolt, remove the Latch Screw, remove the latch and twist it around 180°. Insert the latch back into the lock body and re-install the Latch Screw as shown below.

Install Lock on Door
- INSTALL LOCK BODY
Route lock body wire harness into the lock prep and out the wiring hole as the body is inserted into the door as shown below. Fasten down using (2) #12 screws FF. DO NOT FULLY TIGHTEN.
TIP! If you have trouble routing the wire through the hole, try tying a string around the lock body wires below the plug.- Thread the string through the hole.
- Gently pull the wire through with the string. Avoid applying force to the plug head.
- PREPARE INTERIOR ROSE

Unscrew interior lever and separate lever & rose from mounting plate Match up direction of lever rotation downward to direction of the arrows on spring cage #3. Insert into mounting plate #6 and set aside with 2 mounting screws AA. - PREPARE READER ASSEMBLY

- Remove the back plate from the exterior escutcheon.
- Plug the reader wire harness #16 into reader board
- Re-install the back plate, routing the 2 pin and 6 pin connectors through the wiring hole.
- Tighten 4 screws and install the 3 steel standoffs, GG.
- Install main gasket #17
- PREPARE EXTERIOR ROSE ASSEMBLY
- Install lever bushing #8 as shown below
- Orient spring cage #3 with arrows in the direction of lever rotation (down) and insert onto mounting posts as shown.

- INSTALL EXTERIOR AND INTERIOR LEVER ASSEMBLIES
- Install square drives, BB, into each of the lock body drive hubs as shown below. Pinched corners seat against the lock body. Make sure arrow on hub points towards the handing screw hole as shown below on the exterior side of the door.
- Install the drive springs, CC, onto the square drives as shown.
- Take the exterior lever assembly and feed the mounting posts through the door and the spring cage over the square drive. Hold the assembly against the door, making sure the lever is level with the floor.
- Install mounting plate assembly over the square drive aligning the screw holes with the holes in the door. Using screws AA, fasten the mounting plate assembly to the escutcheon mounting posts. Tighten lightly.
- KEY OVERRIDE ONLY! Install mortise cylinder (see special instructions below)
- Verify the lever assembly is level and then tighten the follow screws:
- Mounting post screws AA
- Lock body screws FF

SPECIAL INSTRUCTIONS FOR KEY OVERRIDE ONLY! INSTALL MORTISE CYLINDER - Slide wave spring and cylinder collar onto mortise cylinder body.
- Thread mortise cylinder into mortise lock body until cylinder seats against wave spring in cylinder collar. Keyway must be at the bottom in the vertical orientation as shown below.
- Partially inserting a key can be used for purchase to rotate cylinder. Be careful to not over torque key.
- Tighten mortise screw inside of lock body using PH2 Phillips screw driver to lock cylinder in place.

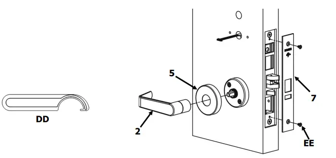
- Install rose 5 onto mounting plate assembly.
- Thread lever 2 to assembly and tighten with spanner tool DD.
- Install armor front 7 onto lock body using two screws EE.
- Check operation of lever to retract the latch when turned downward.

- INSTALL READER ASSEMBLY
- Route the wires and standoffs of the reader through the door, keeping the main gasket under the reader. Hold the reader against the door.
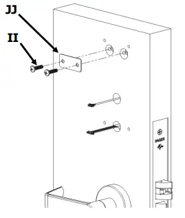
- While holding the reader, install 2 of the #10-32 screws II through strap JJ into reader standoffs GG. Make sure the reader is straight and tighten the screws.

- INSTALL POWER PACK
- Remove the cover on the battery pack with a T10 drive Torx screw driver
- Route the wires through the middle and bottom holes and hold against the door to align with prepared holes.
- While holding the pack, install the (4) #12 screws HH into the prepared holes as shown below. Make sure the power pack is straight and vertical before tightening the screws.
- Install the 1 remaining #10-32 screws II into the lower standoff GG, again tightening the screw. Loosen screws HH if needed to install the II screw then tighten them all down again.
- Plug in the Reader (6 pin) and Mortise Lock (8 pin) wire harnesses as shown below.


Setup Lock
- INSTALL 4 AA BATTERIES
Install the 4 AA batteries in the battery holder. Follow batterie orientation notes in the holder.- The lights should blink between red and green
- It is now ready to be tested
- TEST INSTALLED AND POWERED LOCK
While the lock is powered but before it is adopted into a network, test the lock for functionality.- Test procedure for cylindrical
- UNADOPTED LOCKS (ORPHAN)
While the lock is powered but before it is adopted into a network, the lock will behave as shown below.- Locked all the time? Unlocked all the time?
- Anyway to unlock? Provide a card for
- COMMISSION LOCK
- GO TO THE COMMISSIONING PROCEDURE
- INSTALL COVER
- Install cover, using T10 screwdriver
SHOW SELECTION OF OTHER PRODUCTS THAT CAN BE USED WITH THIS LOCK
FCC Statement
This equipment has been tested and found to comply with the limits for a Class B digital device, pursuant to part 15 of the FCC Rules. These limits are designed to provide reasonable protection against harmful interference in a residential installation. This equipment generates, uses and can radiate radio frequency energy and, if not installed and used in accordance with the instructions, may cause harmful interference to radio communications. However, there is no guarantee that interference will not occur in a particular installation. If this equipment does cause harmful interference to radio or television reception, which can be determined by turning the equipment off and on, the user is encouraged to try to correct the interference by one or more of the following measures:
- Reorient or relocate the receiving antenna,
- Increase the separation between the equipment and the receiver,
- Connect the equipment into an outlet on a circuit different from that to which the receiver is connected,
- Consult the dealer or an experienced radio/TV technician for help.
Changes or modifications to the device not expressly approved by the party responsible for compliance could void the user’s authority to operate the equipment.
Canada
This device contains licence-exempt transmitter(s)/receiver(s) that comply with Innovation, Science and Economic Development Canada’s licence-exempt RSS(s). Operation is subject to the following two conditions:
- This device may not cause interference.
- This device must accept any interference, including interference that may cause undesired
To comply with RF exposure requirements, a minimum separation distance of 20cm must be maintained between the user’s body and the device.
Rev 1, Rev Date: 01/12/2023 [27390109]
Hager Companies 139 Victor Street, St. Louis, MO 63104 (800) 325-9995 www.hagerco.com




































