Tell ML1300 Series Mortise Lock

Drill holes according to the function of lock as below form.


- Door thickness must more than 1-3/4″ (45mm).
- Confirm the escutcheon type (sectional or regular/wide) before drilling holes.
- Then choose holes according to the escutcheon type.
- Due to these holes go through the mortise lockcase, we suggest to drill the hole separately and don’t drill it through.
TOOL REQUIRED
- Pencil
- Drilling machine and assorted drill bits, includes (1″, 1/4″, 7/8″, 5/8″, 3/8″,1/8″)
- 3/4 wood chisel or corner chisel
- Hammer
- Philips head screwdriver
- Measuring device
- Combination square
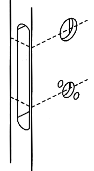
Outside

SECTIONAL

- Rotate the tube anticlockwise and separate the lever and the inner rose.

REGULAR/WIDE

INSTALLATION INSTRUCTIONS
INSTALL CONDITION

NOTE: Before referring to this instructions, please ensure that the door reaches ANSI A1151 .1 standard requirements.
- Mark center line on both sides of the door and door edge.
- Mark the vertical center lines on both side of the door for cylinder, knob or lever.
- Mark the striker at 1 /2″ on the door frame.
ATTACH THE INSTALLATION TEMPLATE GUIDE

- Fold and attach the Installation Template Guide to the door.
- Mark door at appropriate locations for lock and trim.
NOTE: Before drilling the holes, make sure that the holes need to be through or blind. Otherwise it will damage the door.
CUT RELIEF CAVITIES

- Drill the cavity for lockcase on the door front according to the template, square the corners by wood chisel for the hole 6-3/4″x 1 “x 4 1/4” (LxWx D)
SIDE HOLES (SECTIONAL TYPE)

- Drill holes according to the function and escutcheon type of the lock. (such as drill a blind hole for cylinder and an open hole for lever on outside the door.)
NOTE: Holes are different if the locks are with different functions. Please take attention to the specifications on the template before drilling the holes.
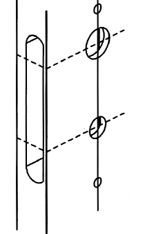
SIDE HOLES (REGULAR TYPE)

- Drill holes according to the function and escutcheon type of the lock. (such as drill a blind hole for cylinder and an open hole for lever on outside the door.)
NOTE: Holes are different if the locks are with different functions. Please take attention to the specifications on the template before drilling the holes.
CUT THE GROOVE FOR THE LOCKCASE FACEPLATE

- Use a wood chisel to square the corner Groove size:1 -1/4″ x 8″ x?/32″.
HANDING CHANGE INSTRUCTION
(When lock direction is not tally with opening direction.)

- Release the screw on the latchbolt, pull latch bolt out of the lock and turn by 180° and re-install into the lock-and tighten the screw.
- Turn the security card by 180°.
- Check if the lock works properly.
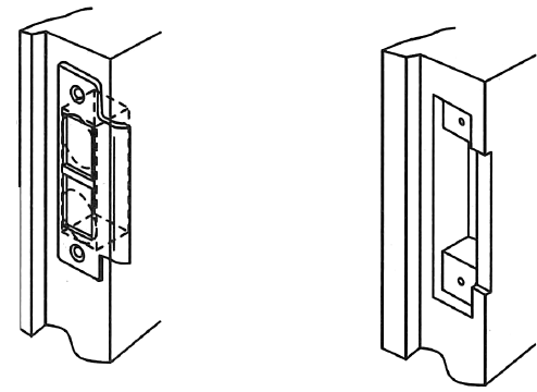
INSTALL THE LOCK CASE

- Make sure the faceplate of lockcase have removed.
- If necessary, release the screws on the top and bottom and adjust the side plate to fit the bevel door, then tighten the screws.
- Put the lockcase into the cavity.
- Keep the lockcase vertical and tighten the wood thread and machine thread screw on the door.
INSTALL THE SPINDLE

- Insert the spindle and the spring into the cam on both sides of the lockcase.
INSTALL THE FRONT LEVER (SECTIONAL TYPE)

- Put the spindle spring into the square hole of the lever (as picture A)
- Put the spring shelf into the screw bolt which on the back of the lever (as picture B)
- NOTE: Make sure the spring shelf is at the right direction as picture shown.
- Insert the two screw bolt and the spindle into the holes and lock. Keep the front lever tight to the door.
- NOTE: Before installing, ensure the door thickness is large than 45mm. If not, cut the screw bolt to be proper length.
INSTALL THE BACK LEVER (SECTIONAL TYPE)

- Remove the back lever first when installing the back lever. Rotate the lever tube by anti-clock direction to separate the lever and rose.
- Insert the spring shelf into the spindle and cover the rose.

- Fix the rose on the door by screw.
- Put the outside rose on , rotate the lever tube by the wrench supplied.
INSTALL THE CYLINDER

- Release the cylinder screw (as picture 8).
- Turn the cylinder cam at point of 12 o’clock. Take care of the rightdirection of the keyway.
- Rotate the cylinder into the lockcase properly and ensure the cylinder is not too long or too short.
- Fix the cylinder by tighten screws.
THUMBTURN INSTALLATION

- Insert the thumbtum through the door hole to the lockcase. Tighten the screw and fix the thumb turn on the door: Make sure that two screw is vertical.
INSTALL THE FRONT ESCUTCHEON AND CYLINDER (REGULARWIDE TYPE)

- Insert the front lever’s spring shelf into the spindle (step 10).
- Put the lever to be horizontally and push it into the spindle. Keep tight to the doo.
- Insert the cylinder across the escutcheon and rotate it easily (step 12)
- NOTE: Lift-up the escutcheon to the right position until finishing assembling the cylinder.
INSTALL THE BACK ESCUTHEON (REGULARWIDE TYPE)

- Insert the back lever’s spring shelf into the spindle (step 11).
- Put the lever to be horizontally and push it into the spindle.
NOTE: Ensure both escutcheon are horizontal and parallel. Lift-up the excutcheon to the right position and tighten the screw on the back escutcheon.
INSTALL THE FACEPLATE

- Fix the faceplate with the screws on the lock body.
INSTALLING THE STRIKER

- Mark the holes and shape of the striker on the door edge according to the position of the lock case.
- Mark the groove location and square the strike box by chisel. (as picture below) Groove size:3 3/4″ X 1″ X 1 1/8″
- Make a groove for striker around the strike box by chisel. Groove size:4 7/8″ X 1″X 3/32″ Make a gap for the striker on the door edge. (as the picture below).
Insert the strike box and fix the striker by screws

NOTE
- When the strike box to be no need, ensure the pocket is deep enough for the deadbolt extension.
- Make sure the auxiliary latch can touch the striker to secure the latch.
INSTALLATION INSTRUCTIONS FOR THUMBTURN
Installing thumbturn
- Step 1: Rotating hex socket cap screw out of thumbturn by allen Key.
- Step 2: Fasten the inside rose on the door by two ST4 x 13 screws.
- Step 3: Installing the cover on the inside rose.
- Step 4: Fasten hex socket cap screw of thumbturn on the spindle by allen key.
Stainless Steel Thumbturn Component List

- Thumbturn
- M4 x 6 hex socket cap screw
- Allen key
- Cover
- ST4 x 13 screw (2 pcs)
- lnside part
SELECT, MARK AND DRILL HOLES

- Please see the “hole function” form below and select the holes according to the escutcheon type and f nction of lock case.
- Confirm the type of the plate (regular or sectional).
- Stick a template on the edge of the door. Make sure the cylinder holes on the template are matched with the lock case mortise.
- Stick the proper templates on both sides door according to the centerline of the door edge template.
- Drill holes on the proper position.
- Drill holes, please check (( Instruction For #7 Series Lock case)) for reference.
HOLE FUNCTION

NOTE
- Confirm the escutcheon type (sectional or regular/wide)before drilling holes. Then choose holes according to the escutcheon type.
- Due to these holes go through the mortise lock case, we suggest to drill the hole separatly and don’t drill it through.
1-800-433-4047
CL102258-02282022




















