
H-2302
1-800-295-5510
ELECTRIC PALLET TRUCK
uline.com
OPERATING INSTRUCTIONS
SAFETY GUIDELINES
WARNING! Do not operate this truck unless you have been trained to use it, authorized to do so, and have checked that it is in good condition. The operator should read all of the warning signs and instructions here and on the truck before using it. The truck is strictly forbidden to lift or carry a person.
- Please stop using the truck until it can be properly repaired in case of any failure or fault.
- Do not repair the truck without professional training and authorization.
- Keep a two-foot distance between the truck and any person not operating it.
- Do not operate on uneven ground or in a dangerous environment.
- The truck should not be driven on public roads.
- The truck may only be driven into an elevator or loading platform with enough load capacity to support the truck. The operator must confirm this point before entering the elevator or loading platform. Passengers must enter the elevator after proper parking of the truck and walk out of the elevator before moving the truck.
- The truck should always be driven with the height of the forks in the lowest position except when placing or moving a load.
TRUCK ON ANOTHER VEHICLE’S LOADING PLATFORM OR A GANGWAY
- Before the truck is driven from a loading bay and onto a vehicle, the operator must always check the maximum load capacity of the gangway. There should also be suitable devices that prevent the gangway from sliding.
- The operator must also check the maximum load capacity of the vehicle. There should also be suitable devices to prevent the vehicle from moving.
- The truck should always be parked on a level surface. The forks must be lowered to their lowest position. Always turn the ignition to the “OFF” position. Always remove the ignition key from the electrical lock when leaving the truck.
NOTE: If the truck is left unused for a prolonged period without being recharged, the battery plug should be disconnected. - Protective shoes should be worn when working with this truck according to local safety regulations.
OPERATING INSTRUCTIONS CONTINUED
ROUTINE CHECKLIST BEFORE START-UP
- Check for any defect of the truck (especially on the wheels).
- Check if the battery is fixed firmly and the cable connected properly.
STARTUP OF TRUCK
- Rotate and turn off Emergency Shut-Off Switch.
- Insert key into On/Off Switch and turn right to position “I”.
- The battery capacity meter should indicate the current capacity.
- Check to ensure the horn is working correctly.
- Check the brake function on the control handle.
OPERATION OF THE TRUCK
EMERGENCY SHUT-OFF SWITCH
- All-electric control functions are cut off when the Emergency Shut-Off Switch is pressed. (See Figure 1)
EMERGENCY STOP BUTTON
- The truck will automatically brake when the button is pressed. (See Figure 2)
BRAKING
- Release the control handle and the truck automatically brakes.
- The control handle will return to an upright position.
DRIVING
- Drive speed is controlled by the FWD/BWD CONTROL wheel.
CARGO LOADING/UNLOADING
CAUTION! Before loading the cargo, the operator must check to confirm the cargo is properly placed on the pallet and the weight of the cargo is within the truck’s load capacity. Load weight should be evenly distributed between the two forks.

Emergency Shut-Off Switch On/Off Switch Battery Capacity Meter
LIFTING OF FORKS
- Press the RAISE button to raise the forks to the required height.
LOWERING OF FORKS
- Press the LOWER button to lower the forks to the required height.

| 1 | LOWER Button |
| 2 | FWD/BWD CONTROL Wheel |
| 3 | HORN Button |
| 4 | EMERGENCY STOnP Button |
| 5 | RAISE Button |
TECHNICAL SPECIFIC

| DESCRIPTION | KEY | SPECIFICATION |
| Model Number | —— | 11-2302 |
| Power Supply | —— | Electric |
| Type of Operation | —— | Pedestrian |
| Capacity/Rated Load | —— | 3,300 lbs. |
| Load Center Distance | 1 | 24* |
| Wheelbase | 2 | 48* |
| Weight (including battery) | —— | 630 bs. |
| Tire Size – Drive End | ——– | 10 x 3.6″ |
| Tire Size – Load End | ——- | 3.3 x 3.6′ |
| Handle Height in Neutral Position | 3 | 48.6′ |
| Fork Height lowered | 4 | 3″ |
| Fork Height Raised | 6 | 7.6″ |
| Overall Length | 6 | 71″ |
| Length of body | 7 | 23″ |
| Overall Width | 8 | 27.6′ |
| Fork Length | 9 | 48.1″ |
| Fork Width | 10 | 6.4″ |
| Fork Thickness | 11 | 1.9′ |
| Overall Fork Width | 12 | 26.6″ |
| Floor Clearance (center of the wheelbase) | 13 | 1.3′ |
| Turning Radius | —— | 69′ |
| Travel Speed (laden/unladen) | —— | 3.1/3.2 mph |
| Lifting Speed (ladeNunladen) | —— | 4.6/3.6 sec |
| lowering Speed (ladeNunladen) | —— | 3.6/4.6 sec |
| Brakes | —— | Electric-magnetic |
| Drive Motor | —— | 1.0 kW |
| lifting Motor | —— | 0.8 kW |
| Battery Voltage | —— | 12v / 804h |
| Sound Level | ——- | <70 dB |
| Steering Arc | ——- | 205° |
MAINTENANCE
MAINTENANCE AND CHARGE OF BATTERY
- A Various Rechargeable Sealed Lead Acid battery (VRLA) is used in this pallet truck.
- The H-2302 pallet trucks are equipped with a specific charger to charge the battery. The charger can be plugged into a standard 120-volt outlet.
CAUTION! Before connecting the charger to the battery, make sure the battery charger emergency shut-off switch and key switch are in the off position. Please charge the battery in a dry, well-ventilated area and keep away from any source of the fire. If the truck is not in use, battery charges should be performed no less than once per month. - The battery of the pallet truck should be charged fully and regularly. When the “Capacity Insufficient” alarm flashes on Battery Capacity Meter during operation, please charge the battery immediately.
- The charger will adjust the current according to the residual capacity of the battery automatically, which ensures the battery is charged correctly. After charging the battery, the charger indicator lights turn green and the charger stops automatically. Battery charging generally takes 5-7 hours.
BATTERY INDICATOR - The charge status of the battery is indicated on Battery Capacity Meter with ten indicator bars for each 10% increase. With the consumption of battery capacity, the lighting bars will descend downwards from the top. (See Figure 5)
- The truck will automatically cut off lifting functions when the battery reaches 20%.

PREPARATION OF TRUCK TO BE REPAIRED OR MAINTAINED
Prepare all necessary safety measures to avoid a possible accident during the course of repair and maintenance by taking the following precautions:
- Park the truck safely.
- Press the emergency shut-off switch and disconnect the battery.
INSPECT HYDRAULIC OIL CAPACITY
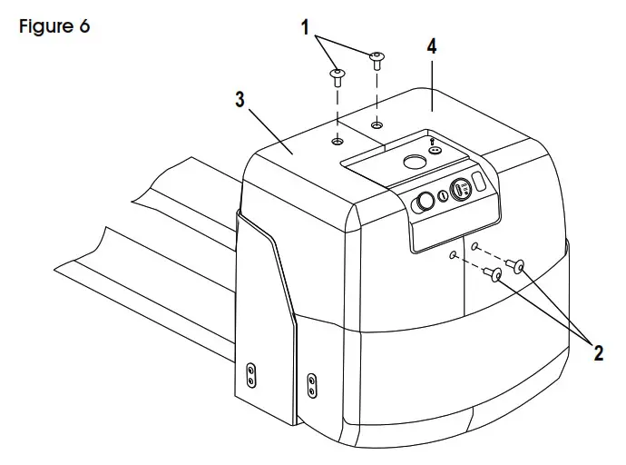
- Remove the four screws (1) and (2). (See Figure 5)
- Open the left and right half cover (3) and (4).
- Check the capacity of hydraulic oil in the oil tank.
NOTE: During Inspect hydraulic oil capacity, forks and carriage must be lowered to the minimum height.
INSPECT ELECTRIC FUSE
- Remove the four screws (1) and (2). (See Figure 5)
- Open the left and right half cover (3) and (4).
- Consult the chart to check the current rating of all fuses and replace them if necessary.
| CODE | PROTECTION PURPOSE | CURRENT RATING |
| FU | Main Circuit Fuse | 200A |
| FU l | Traveling Control Fuse | 10A |
| FU2 | titling Control Fuse | 6A |
USE OF TRUCK AFTER MAINTENANCE
Finish the following operation before use of truck:
- Clean the truck.
- Check the brakes.
- Check the Emergency Shut-Off Switch.
- Check the horn.

MAINTENANCE OF THE TRUCK
SAFETY OPERATION AND ENVIRONMENTAL PROTECTION
1. The instructions in the tables titled “Maintenance List” (On pages 6 and 7) should be performed based on the time interval specified in the Maintenance Schedule below.
2. To ensure the safety and reliability of truck operation, only spare parts from the manufacturer should be used.
3. Any parts replaced, including oils, must be disposed of according to related environmental protection regulations.
SAFETY RULES FOR PALLET TRUCK MAINTENANCE
- MAINTENANCE STAFF Repair and maintenance of the truck should only be performed by qualified professionals.
- CLEANING OPERATION Flammable fluid is strictly forbidden in the cleaning of the truck. Before cleaning starts, safety measures must be taken to avoid sparking caused by a short circuit. Any cleaning should be performed after disconnecting the battery. All electric elements and electronic assemblies can only be cleaned by compressed air or by an anti-static brush.
- OPERATION OF ELECTRICAL SYSTEM Maintenance of the truck’s electrical system should be performed by trained professionals only. Before any maintenance of the electric system, protective measures to avoid electric shock should be taken by disconnecting the battery from the truck.
- WHEELS The condition of the wheels will greatly affect stability and driving performance. Wheels should be replaced in pairs; e.g., both left and right.
- LIFTING CHAINS Without lubrication, the lifting chains will wear out prematurely. The time interval in the maintenance manual is applicable for normal operation. In case of poor operating conditions (dust, temperature), it is necessary to increase lubrication accordingly.
- HYDRAULIC OIL PIPE The oil pipe should be replaced every six years.
NOTE: The maintenance cycle stated in the instruction manual refers to normal conditions with single shift operating. Under dusty conditions, extreme temperatures, or under multiple operating shifts, the maintenance cycle should be shortened accordingly.
7. Please perform maintenance according to the following table:
| CODE | MAINTENANCE SCHEDULE |
| W1 | Every 50 working hours, at least once per week |
| M3 | Every 500 working hours, at least once per 3 months |
| M6 | Every 1,000 working hours, at least once per 6 months |
| M12 | Every 2,000 working hours, at least once per 12 months |
TROUBLESHOOTING
| OPERATING ISSUE | CAUSES | RECOMMENDATIONS |
| The truck does not move | Disconnection of battery. Key switch at “0” position. Emergency shut-off switch on. Battery capacity consumed. | Check connection of the battery and reconnect if necessary. Put key at “I” position. Release the emergency shut-off Switch. Check battery capacity and charge battery If necessary . Check fuses. |
| Forks will not raise | The control valve is blocked by dirty fluid. | Check hydraulic oil and clean the control valve. Replace hydraulic oil if necessary. |
| Traveling too slow | Battery capacity low | Check battery capacity indicator: Charge If necessary. |
For all other issues please contact Uline Customer Service at 1-800-295-5510.
MAINTENANCE LIST
| Maintenance Time Interval | |||||||
| Standard = ● | W | M | M | M | |||
| Refrigerated Location = ■ | 1 | 3 | 6 | 12 | |||
| Chassis and Truck Frame | 1.1 | Inspect any damage of bearings | ● | ||||
| 1.2 | Inspect all joints and bolts | ● | |||||
| Drive Train | 2.1 | Inspect any leakage in the driving system | ● | ||||
| 2.2 | Inspect oil level of the driving system | ● | |||||
| 2.3 | Lubricate moving parts | ■ | ● | ||||
| Wheels | 3.1 | Inspect for general wear and damage | ● | ||||
| 3.2 | Inspect bearings inside wheels and ensure fit with wheels | ● | |||||
| Steering System | 4.1 | Inspect steering operation motion | ● | ||||
| Braking System | 5.1 | Inspect reset function | ● | ||||
| 5.2 | Inspect wear of brake wheel | ● | |||||
| 5.3 | Inspect brake connection; adjust if necessary | ● | |||||
| Lifting Equipment | 6.1 | Inspect for any blockage of loading wheel | ● | ||||
| 6.2 | Inspect any wear or damage to edge of forks | ■ | ● | ||||
| Hydraulic System | 7.1 | Inspect any leakage or damage to all joints | ■ | ● | |||
| 7.2 | Inspect any leakage or damage to hydraulic cylinder | ■ | ● | ||||
| 7.3 | Inspect oil capacity | ■ | ● | ||||
| 7.4 | Replace hydraulic oil and filter | ■ | ● | ||||
| 7.5 | Inspect adjustment function of the pressure regulator | ■ | ● | ||||
MAINTENANCE LIST CONTINUD
| Maintenance Time Interval | |||||||
| Standard = ● | W | M | M | M | |||
| Refrigerated Location = ■ | 1 | 3 | 6 | 12 | |||
| Chassis and Truck Frame | 1.1 | Inspect any damage of bearings | ● | ||||
| 1.2 | Inspect all joints and bolts | ● | |||||
| Electrical System | 8.1 | Inspect connection of all cables | ● | ||||
| 8.2 | Inspect amperage of fuse | ● | |||||
| 8.3 | Inspect safety, reliability and function of switches and unlocking cam equipment | ● | |||||
| 8.4 | Inspect connector; replace the worn part if necessary | ● | |||||
| 8.5 | Inspect function of alarm equipment | ■ | ● | ||||
| Motor | 9.1 | Inspect wearing state of carbon brush | ● | ||||
| 9.2 | Inspect safety of motor attachment | ● | |||||
| 9.3 | Clean motor frame; inspect wear of commutator | ■ | ● | ||||
| Battery | 10.1 | Inspect capacity of acid and voltage of battery | ■ | ● | |||
| 10.2 | Inspect safety device of connection terminal, apply grease if necessary | ■ | ● | ||||
| 10.3 | Clean battery connector; inspect compactness of fit | ■ | ● | ||||
| 10.4 | Inspect for damage to battery cable; replace if necessary | ● | |||||
| Lubrication | 11.1 | Inspect and lubricate all parts as necessary | ■ | ● | |||
| Integrated Measurement | 12.1 | Inspect the grounding of the electrical system | ● | ||||
| 12.2 | Inspect driving speed and braking distance | ● | |||||
| 12.3 | Inspect lifting and lowering speed | ● | |||||
| 12.4 | Inspect emergency shut-off | ● | |||||

800-295-5510
uline.mx


















