Pallet Truck

H-1043 PALLET TRUCK
1-800-295-5510
uline.com
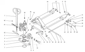
FRAME DIAGRAM

FRAME DIAGRAM PARTS LIST
# | DESCRIPTION | QTY. | ULINE PART NO. | MFG. PART NO. |
1 | Handle Assembly | 1 | H-1043-SHC | B1 |
2 | Pump (Standard) | 1 | H-1043PUMP | PUMP STAND |
3 | Bolt | 1 | H-1365-B3 | B3 |
4 | Bearing | 1 | H-1365-B4 | B4 |
5 | Supporting Base | 1 | H-1043-B5 | B5 |
6 | Spring Pin | 2 | H-1365-B6 | B6 |
7 | Retaining Ring For Axle | 1 | H-1043-B7 | B7 |
8 | Big (Steering) Wheel | 2 | H-1043-B8 | B8 |
9 | Bearing | 8 | H-1043-B9 | B9 |
ULINE PART NO. H-1043-SHC H-1043PUMP H-1365-B3 H-1365-B4 H-1043-B5 H-1365-B6 H-1043-B7 H-1043-B8 H-1043-B9
MFG. PART NO. B1
PUMP STAND B3 B4 B5 B6 B7 B8 B9
0321 PH-1043
H-1043 PALLET TRUCK
1-800-295-5510
uline.com
FRAME DIAGRAM PARTS LIST CONTINUED
# | DESCRIPTION | QTY. | ULINE PART NO. | MFG. PART NO. |
10 | Big (Steering) Wheel Hardware Kit Includes: • Half Cirque (4) • Bowl Washer (2) • Retaining Ring for Axle (2) • Dust Cover (2) | 1 | H-6017 | B10-B13 |
14 | Pin | 2 | H-1043-B14 | B14 |
15 | Oiler | 8 | H-1193-B15 | B15 |
16 | Spring Pin | 2 | H-1483-B16 | B16 |
17 | Joint | 2 | H-1483-B17 | B17 |
18 | Pin | 2 | H-1043-B18 | B18 |
19 | Straight Tappet | 2 | H-1483-B19 | B19 |
20 | Long Shaft | 1 | H-1043-B20 | B20 |
21 | Retaining Ring For Hole | 2 | H-1043-B21 | B21 |
22 | Oiler | 4 | H-1043-B22 | B22 |
23 | Roll Sheath | 2 | H-1043-23 | B23 |
24 | Spring Pin – 1¼” * | 4 | H-1043-B24 | B24 |
25 | Shaft | 2 | H-1043-25 | B25 |
26 | Shaft | 2 | H-1043-B26 | B26 |
27 | Spring Pin – 1⁄” ** | 2 | H-1043-B27 | B27 |
28 | Roll Ring | 4 | H-1043-B28 | B28 |
29 | Shaft | 2 | H-1483-B29 | B29 |
31 | Frame Of Fork (Load) Wheel | 2 | H-1043-B31 | B31 |
32 | Fork (Load) Wheel | 2 | H-1043-B35PU | B35 |
33 | Entry (Roller) Wheel Assembly Kit Includes: • Bolt (1) • Entry Roller (1) • Nut (1) | 1 | H-5634 | 2500-B36B38B39 |
34 | Fork Frame | 1 | H-1043-B40 | B40 |
35 | Spring Lock Washer | 1 | H-1043-B41 | B41 |
36 | Bolt | 1 | H-1043-B42 | B42 |
37 | Rocker Arm | 1 | H-1043-B43 | B43 |
38 | Nut | 1 | H-1366-B44 | B44 |
39 | Big Spring | 1 | H-1483-B149 | B149 |
40 | Spring Pin | 1 | H-1043-B117 | B117 |
41 | Shaft | 1 | H-1043-B118 | B118 |
42 | Big (Steering) Wheel Shaft | 1 | H-1366-B2 | B2 |
Replacement Fork (Load) Wheel With Bearings Kit Includes: • Fork (Load) Wheel #32 (1) • Bearing #9 (2) | 1 | H-1043-WHKIT | ———– | |
*Replacement Spring Pins #24 – 1¼” | 8 | H-5632 | BF2500-B24X8 | |
**Replacement Spring Pins #27 – 1⁄” | 8 | H-5631 | BF2500-B27X8 | |
Pallet Truck Pump Seal Kit (Not Shown) | 1 | H-4182 | ———– | |
Pump Compression Spring (Not Shown) | 1 | H-1043PCS | ———– | |
Weight Label (Not Shown) | 1 | H-5390 | ———– |
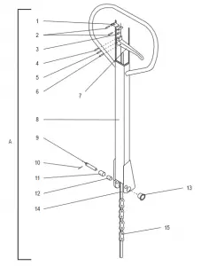
HANDLE DIAGRAM

HANDLE DIAGRAM PARTS LIST
# | DESCRIPTION | QTY. | ULINE PART NO. | MFG. PART NO. |
A | Handle Assembly | 1 | H-1043-SHC | B1 |
1 | Blade Spring | 1 | H-1366-B101 | B101 |
2 | Spring Pin | 2 | H-2721-B102 | B102 |
3 | Roller | 1 | H-2721-B103 | B103 |
4 | Spring Pin | 1 | H-2721-B104 | B104 |
5 | Spring Pin | 1 | H-2721-B105 | B105 |
6 | Spring Pin | 1 | H-2721-B106 | B106 |
7 | Handle | 1 | H-1043-B107Q | B107 |
8 | Handle Tube | 1 | H-1043B108 | B108 |
9 | Shaft | 1 | H-1043-109 | B109 |
10 | Spring Pin | 1 | H-1043-B110 | B110 |
11 | Pressure Roller | 1 | H-1043-B111 | B111 |
12 | Bushing | 1 | H-1043-B112 | B112 |
13 | Bushing | 2 | H-1043-B114 | B114 |
14 | Pull Pole Assembly | 1 | H-1043-B113 | H-1043-B113+B115+B116ASSEMBLY |
15 | Chain | 1 | H-1043-B115 | B115 |
PUMP DIAGRAM
![]()
PUMP DIAGRAM PARTS LIST
# | DESCRIPTION | QTY. | ULINE PART NO. | MFG. PART NO. |
1 | Spring Pin | 2 | H-1043-B117 | B117 |
2 | Shaft | 1 | H-1043-B118 | B118 |
3 | Plug | 1 | H-1483-B119 | B119 |
4 | Copper Washer | 2 | H-1043-120 | B120 |
PUMP DIAGRAM PARTS LIST CONTINUED
# | DESCRIPTION | QTY. | ULINE PART NO. | MFG. PART NO. |
5 | Spring | 1 | H-1483-B121 | B121 |
6 | Spindle Of Damping Valve | 1 | H-1193-B122 | B122 |
7 | Seat Of Damping Valve | 1 | H-1193-B123 | B123 |
8 | Steel Ball | 1 | H-2721-B124 | B124 |
9 | Base | 1 | ———– | B125 |
10 | Copper Washer | 2 | H-1043-B126 | B126 |
11 | Bolt | 2 | H-1043-B127 | B127 |
12 | Spring | 1 | H-1193-B128 | B128 |
13 | Strike Pin | 1 | H-1193-B129 | B129 |
14 | O-Ring | 1 | H-1193-B130 | B130 |
15 | Axle Sleeve | 1 | H-1043-B131 | B131 |
16 | O-Ring | 1 | H-2721-B132 | B132 |
17 | Bolt (Setting Screw) | 1 | H-1043-B133 | B133 |
18 | Nut (Setting Screw Nut) | 1 | H-1043-B134 | B134 |
19 | Lever | 1 | H-1043-B135 | B135 |
20 | Bolt | 1 | H-1043-B136 | B136 |
21 | Spring | 1 | H-2721-B137 | B137 |
22 | Ball Base | 1 | H-1782-B138 | B138 |
23 | Steel Ball | 1 | H-1782-B139 | B139 |
24 | Pin | 1 | H-1043-B140 | B140 |
25 | Y-Ring | 1 | H-1043-B141 | B141 |
26 | O-Ring | 1 | H-2721-B142 | B142 |
27 | Cylinder Cap | 1 | H-1043-B143 | B143 |
28 | O-Ring | 1 | H-1043-B144 | B144 |
29 | Dust Ring | 1 | H-1043-B145 | B145 |
30 | Steel Ball | 1 | H-1043-B146N | B146 |
31 | Pump Plunger | 1 | H-1366-B147 | B147 |
32 | Washer | 1 | H-1043-B148 | B148 |
33 | Big Spring | 1 | H-1483-B149 | B149 |
34 | Dust Ring | 1 | H-1483-B150 | B150 |
35 | Y-Ring | 1 | H-1043-B151 | B151 |
36 | Piston Rod | 1 | H-1043-B152 | B152 |
37 | Retaining Ring For Axle | 1 | H-1043-B153 | B153 |



















