H-2640 PALLET TRUCK
1-800-295-5510
uline.com
FRAME DIAGRAME
FRAME DIAGRAME PARTS LIST
| # | DESCRIPTION | QTY. | ULINE PART NO. | MFG. PART NO. |
| 1 | Handle | 1 | H-1043-SHC | BI |
| 2 | Pump (Standard) | 1 | H-1043PUMP | PUMP STAND |
| 3 | Bolt | 1 | H-1365-83 | B3 |
| 4 | Bearing | 1 | H-1365-84 | B4 |
| 5 | Supporting Base | 1 | H-1043-85 | B5 |
| 6 | Spring Pin | 2 | H-1365-86 | B6 |
| 7 | Retaining Ring for Axle | 1 | H-1043-B7 | B7 |
| 8 | Blog (Steering) Wheel | 2 | H-1043-88 | B8 |
| 9 | Bearing | 8 | H-1043-89 | 89 |
| 10 | Big (Steering) Wheel Hardware Kit Includes: •Halt Cirque (4) •Bowl Washer (2) •Retaining Rini for Axle (2) •Dust Cover (2) | 1 | H-6017 | B10-813 |
| 14 | Pin | 2 | H-1043.814 | 814 |
| 15 | Oiler | 8 | H-11934115 | B15 |
| 16 | Spring Pin | 2 | H-1483-816 | 816 |
| 17 | Joint | 2 | 11-1483-817 | 817 |
| 18 | Pin | 2 | H-1043-818 | 818 |
| 19 | Straight Tappet | 2 | 11-1779-819 | 819 |
| 20 | Long Shalt | 1 | H-1193420 | 820 |
| 21 | Retaining Ring for Hole | 2 | H-10434121 | B2I |
| 22 | Oiler | 4 | 11-1043-822 | B22 |
| 23 | Rol Sheath | 2 | H-1043-23 | B23 |
| 24 | Spring Pin | 8 | H-5632 | BF2500-824X8 |
| 25 | Shaft | 2 | H-1043-25 | B25 |
| 26 | Shaft | 2 | H-1043.826 | B26 |
| 27 | Spring Pin | 8 | H-5631 | BF2500-827X8 |
| 28 | Rol Ring | 4 | H-1043.828 | 82B |
| 29 | Shalt | 2 | H-1483-929 | 829 |
| 30 | Spring Ph | 2 | H-1043.824 | 824 |
| 31 | The frame of Fork (Load) Wheel | 2 | H-1043-831 | B31 |
| 32 | Fair (Load) Wheel | 2 | H-1043-1135PU | B35 |
| 33 | Bolt | 2 | H-1043.836 | B36 |
| 34 | Entry (Roller) Wheel | 2 | H-1043-838 | B38 |
| 35 | Nut | 2 | 114043-839 | B39 |
| 36 | Fa* Frame | 1 | ——- | 840 |
| 37 | Spring Lock Washer | 1 | H-10434141 | MI |
| 38 | Bolt | 1 | H-1043-842 | 842 |
| 39 | Rocker Awn | 1 | H-11934143 | 843 |
| 40 | NW | 1 | H-1366.844 | 844 |
| 41 | Big Spring | 1 | H-1483-8149 | 8149 |
| 42 | Spring Pin | 1 | H-1043.8117 | 8117 |
| 43 | Shaft | 1 | 11-1043-8118 | 8118 |
| 44 | Big (Steering) Wheel Shaft | I | H-1366-82 | 82 |
| Replacement Fork (Load) Wheel With Bearings Kit Includes: •Fork (Load) Wheel #32 (1) •Bearing #9 (2) | I | H-1043-WHK1T | —— —- | |
| Pallet Truck Pump Seal Kit (Not Shown) | 1 | H-4182 | —– —- | |
| Pump Compression Spring (Not Shown) | 1 | H-1043PCS | —– —- | |
| Weight Label (Not Shawn) | 1 | H-5695 | —– —- |
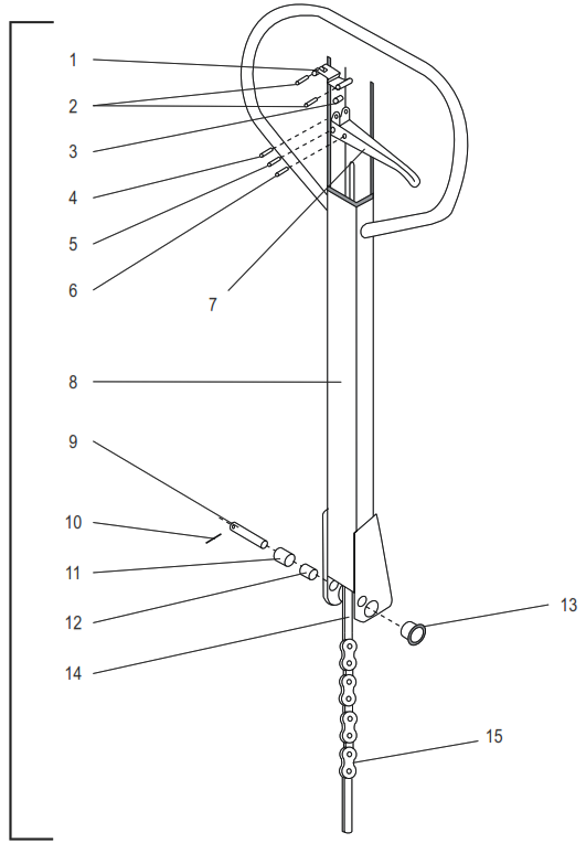
HANDLE DIAGRAM
HANDLE DIAGRAM PARTS LIST
| # | DESCRIPTION | QTY. | ULINE PART NO. | MFG. PART NO. |
| A | Handle Assembly | 1 | H-1043-SCC | B1 |
| 1 | Blade Spring | 1 | H-1484-B101 | B101 |
| 2 | Spring Pin | 2 | H-2721-B102 | B102 |
| 3 | Roller | 1 | H-2721-B103 | B103 |
| 4 | Spring Pin | 1 | H-2721-B104 | B104 |
| 5 | Spring Pin | 1 | H-2721-B105 | B105 |
| 6 | Spring Pin | 1 | H-2721-B106 | B106 |
| 7 | Handle | 1 | —— —- | 8107 |
| 8 | Handle Tube | 1 | —— —- | 8108 |
| 9 | Shaft | 1 | H-1043-109 | B109 |
| 10 | Spring Pin | 1 | H-1043-B110 | B110 |
| 11 | Pressure Roller | 1 | H-1043-B111 | B111 |
| 12 | Bushing | 1 | H-1043-B112 | 8112 |
| 13 | Bushing | 2 | H-1043-B114 | 8114 |
| 14 | Pull Pole Assembly | 1 | H-1043-B113 | H-1043-B113+B115+B116ASSEMBLY |
| 15 | Chain for Pallet Truck | 1 | H-1043-B115 | B115 |
PUMP DIAGRAM
PUMP DIAGRAM PARTS LIST
| # | DESCRIPTION | QTY. | ULINE PART NO. | MFG. PART NO. |
| 1 | Spring Pin | 2 | H-1043-B117 | 8117 |
| 2 | Shaft | 1 | H-1043-B118 | 8118 |
| 3 | Plug | 1 | 14-1483-8119 | 8119 |
| 4 | Copper Washer | 2 | H-1043-120 | 8120 |
| 5 | Spring | 1 | H-1483-B121 | B121 |
| 6 | The spindle of Damping Valve | 1 | H-1193-B122 | 8122 |
| 7 | The seat of Damping Valve | 1 | H-1193-B123 | 8123 |
| 8 | Steel Ball | 1 | H-2721-B124 | 8124 |
| 9 | Base | 1 | —— —- | 8125 |
| 10 | Copper Washer | 2 | H-1043-B126 | 8126 |
| 11 | Bolt | 2 | H-1043-B127 | 8127 |
| 12 | Spring | 1 | H-1193-B128 | 8128 |
| 13 | Strike Pin | 1 | H-1193-B129 | 8129 |
| 14 | 0-Ring | 1 | H-1193-B130 | 8130 |
| 15 | Axle Sleeve | 1 | H-1043-8131 | B131 |
| 16 | 0-Ring | 1 | H-2721-B132 | 8132 |
| 17 | Bolt (Setting Screw) | 1 | H-1043-8133 | 8133 |
| 18 | Nut (Setting Screw Nut) | 1 | H-1043-B134 | 8134 |
| 19 | Lever | 1 | H-1043-8135 | 8135 |
| 20 | Bolt | 1 | H-1043-B136 | 8136 |
| 21 | Spring | 1 | H-2721-B137 | B137 |
| 22 | Ball Base | 1 | H-1782-B138 | 8138 |
| 23 | Steel Ball | 1 | H-17824139 | 8139 |
| 24 | Pin | 1 | H-1043-8140 | 8140 |
| 25 | Y-Ring | 1 | H-1043-B141 | B141 |
| 26 | 0-Ring | 1 | H-10434142 | 8142 |
| 27 | Cylinder Cap | 1 | H-10434143 | 8143 |
| 28 | 0-Ring | 1 | H-1043-8144 | 8144 |
| 29 | Dust Ring | 1 | H-1043-6145 | 8145 |
| 30 | Steel Ball | 1 | H-1043-11146N | 8146 |
| 31 | Pump Plunger | 1 | H-1366-11147 | B147 |
| 32 | Washer | 1 | H-1043-B148 | 8148 |
| 33 | Blg Spring | 1 | H-1483-B149 | 8149 |
| 34 | Dust Ring | 1 | H-1483-B150 | 8150 |
| 35 | Y-Ring | 1 | H-1483-B151 | B151 |
| 36 | Piston Rod | 1 | H-1043-6152 | 8152 |
| 37 | Retaining Ring for Axle | 1 | H-2721-B153 | 8153 |



















