LIFT-RITE ERGONOMIC 3000 Battery High Rise Pallet Truck

This publication, 1130682/001G, applies to the Lift-Rite ERGONOMIC 3000 Series Hand Pallet Trucks and to all subsequent releases of this product until otherwise indicated in new editions. Changes occur periodically to the information in this publication.
To order additional copies of this manual, part number 1130682/001G, contact your local authorized Lift-Rite Sales and Service Center.
If you need assistance with your lift truck, contact your local authorized Lift-Rite Sales and Service Center.
For more information please visit If you need assistance with your lift truck, contact your local authorized Lift-Rite Sales and Service Center.
For more information please visit www.liftrite.com
BEFORE YOU BEGIN
Always follow your facility’s rules regarding wearing Personal Protective Equipment such as safety shoes and protective glasses whenever operating, working with, or assembling or dismantling hand pallet trucks.
DELIVERY INSPECTION
Visually inspect the ERGONOMIC 3000 frame components and hydraulic unit for damage during shipment by carrier. If damage is evident, notify delivering carrier immediately and file necessary claims. Test the manual pump of the ERGONOMIC 3000 for proper operation.
If the hydraulic pump does not respond to movement of the handle, an air lock may have developed during shipping. To remedy this, go to the user friendly TROUBLESHOOTING guide in this manual.
CAUTION
![]() |
|
![]() |
|
![]() |
|
| The operator must be trained in the safe operation and function of all controls prior to operating this equipment. |
SAFETY
(Read and understand prior to using this product)
- Do not operate this ERGONOMIC 3000 truck unless you are authorized and trained to do so.
- Never overload your ERGONOMIC 3000 truck.
Stay within its rated capacity. - Do not operate this truck if damaged or not in proper working order.
- Distribute the load evenly on the forks. Do not concentrate loads at one point or load one fork more than the other.
- When the load impairs visibility, the ERGONOMIC 3000 truck should be pulled and not pushed.
- Always look where you are operating. Keep a clear view.
- Only handle loads on flat level surfaces.
Do not use a loaded truck on inclines or declines. - Never carry passengers.
- Do not place the center of your load beyond the load center of the ERGONOMIC 3000.
- Never put your feet, hands, or any other body part under the scissors or frame assembly.
- Always yield the right of way to pedestrians.
- Do not allow the ERGONOMIC 3000 to drop from one level to another. Even a drop of 1 in. (25 mm) more than doubles the effective load momentarily and results in a loading that can bend or break components.
- Move loads only with the ERGONOMIC 3000 in its lowest position.
- Always make sure that the load is stable before moving to eliminate the opportunity for load shift.
- Use extreme care when rounding corners.
Too fast a speed could cause an ERGONOMIC 3000 truck to tip. If loaded, the load could shift and fall. - When not in use, fully lower the forks.
- Electric ERGONOMIC 3000 must be charged in a well ventilated area. Always use the charger provided.
Never use jumper cables as these can cause sparks that could ignite the explosive gases normally released by the battery during charging. - The stabilizer engages to limit movement in the raised position and should not be tampered with.
Electric ERGONOMIC 3000
Connect the lift plug into the battery connection on the side of the battery box and test the electric power pack by operating the raise button near the top of the handle. If the pump fails to respond, see the “TROUBLESHOOTING” section.
ERGONOMIC 3000 with Remote Control
The hand or foot operated remote control must be plugged into the receptacle on the top of the battery box for it to operate. Operate both the raise and lower push buttons or foot pedals to make sure the remote control functions correctly.
NOTE: If you purchased an electric ERGONOMIC 3000 without the remote control option, it can be purchased separately from your Lift-Rite dealer.
OPERATION
Your ERGONOMIC 3000 is designed to ergonomically lift and position loads, but not pallets. Pallets have bottom boards nailed to the stringers. These can damage your ERGONOMIC 3000 because they restrict the lifting action of the scissor legs.
The pump piston and lifting ram have a polished hard chrome finish to provide maximum seal life and minimum leakage. Do not allow these surfaces to be nicked or pitted by abuse. A slight oil wetting of the external parts of the pistons is normal to provide lubrication for the highly polished surfaces and the seals through which they pass. Do not be alarmed at a trace of oil even on new units.
Load Center and Load Placement (Reference Layout): All loads must be placed on the back of the fork nearest the operator to avoid tipping of loads (see diagram). In any case, do not exceed load. Load center is indicated on the following chart.
| L | Max. Load Center (Max L.C.) | Max. Capacity |
| 60 in. | 30 in. | 2200 lbs. |
| 48 in. | 24 in | 3000 lbs. |
| 42 in. | 21 in. | 3000 lbs. |
| 36 in. | 18 in. | 3000 lbs. |

Neutral Position: A gentle pull on the handle engages the neutral position and the handle can be moved without lifting of the forks. This enables you to move the ERGONOMIC 3000 from one place to another without activating the pump.
Manual Lifting: To raise the ERGONOMIC 3000 manually, pump the handle. Your ERGONOMIC 3000 has an automatic neutral sensor that activates the pump cylinder when pumping action is detected.
Lowering: To lower the ERGONOMIC 3000, pull on the fingertip control lever. By varying the position of the lever, you can control the lowering speed.
Electric Lifting: Raise the ERGONOMIC 3000 by pressing and holding the raise button on the handle. To lower the ERGONOMIC 3000, pull on the fingertip control lever. By varying the position of the lever, you can control the lowering speed. If your battery becomes discharged before you finish your work, you can operate an electric ERGONOMIC 3000 manually as described above.
Remote Control: The remote control hand or foot operator must be plugged into the receptacle on the top of the battery box. The raise and lower buttons or pedal now operate the ERGONOMIC 3000 as indicated.
Charging the 12 Volt Battery: Move your ERGONOMIC 3000 to a well ventilated area. Raise the ERGONOMIC 3000 manually and unwind the AC plug from the tie-down inside the bulkhead. Lower the ERGONOMIC 3000 completely and disconnect the lift plug from the battery connector (on the side of the battery box). Insert the charge plug into the battery connector. The lights on the battery charger indicate the current battery condition. Plug the AC plug into a 110 volt, 60 Hz receptacle. When your battery is fully charged, unplug the AC plug from its receptacle, then disconnect the charger plug from the battery plug and reinsert the lift plug. Carefully raise the ERGONOMIC 3000 and secure the AC cord and the charger plug to the respective tie-downs inside the bulkhead.
Store the charger power cord in the bracket at all times when not in use.
Electric hazard can occur if the plug comes in contact with the battery.
DAILY CHECKLIST
| CHECK POINTS | Steering | Hydraulic System | Wheels | Chassis/ Handle | Lifting/ Lowering | Labels | Batteries (if equipped) |
| ACTION | Check full rotation. | Check for excessive oil on exterior. | Check for wear, damage, and remove debris. | Check for damage and remove debris. | Check for manual function and electric lift (if equipped). | Check for readability. | Check for correct voltage and weight, no leakage, and battery disconnect function. |
MAINTENANCE
Lubrication: All pivot points in the ERGONOMIC 3000 are equipped with permanently lubricated bushings and bearings. To increase bearing life, it is recommended that a few drops of light machine oil be applied at each pivot point every 6 months. The main bearing in the thrust plate is equipped with a grease zerk. This should be greased every 6 month
Hydraulic System: Your hydraulic system is maintenance free. Do not add hydraulic oil unless there is, or has been, a leak. Use Sunoco Sunvis 832 oil or equal. Other oils, fluids, or solvents may damage your hydraulic system. With the ERGONOMIC 3000 in its lowered position, fill the reservoir through the oil plug hole until the oil is even with the plug hole.
Maintenance-Free Batteries: The truck is equipped with a maintenance-free battery. Please obey manufacturer’s recommendations for service of these batteries.
A maintenance-free battery still requires some care. The battery must be kept clean and dry and may be washed to remove any accumulated foreign matter.
TROUBLESHOOTING
Manual Pump Fails to Raise ERGONOMIC 3000
Please make sure to pump the handle at a speed quick enough to overcome the manual pump neutral position. There may be an air lock in the hydraulic system. Pull the control lever and operate the pump several times. Operate the pump normally to raise ERGONOMIC 3000. Check to see if the release lever on the pump base moves freely. Loosen the high pressure adjusting screw [item #21 on page 12]. Operate the pump several times, then tighten the high pressure screw. A small amount may leak from the screw while it is loose.
ERGONOMIC 3000 Fails to Raise Completely
Check scissor legs and floor for obstructions. Check for proper hydraulic fluid level and look for signs of an oil leak.
Electric ERGONOMIC 3000 Does Not Respond to Raise Button
Check the battery connection to make sure that it is plugged in. If the ERGONOMIC 3000 has been idle for a long period of time, the battery may have become discharged. Connect the charger as described under OPERATION on page 4, and make sure that the battery is fully charged. Check all electrical connections.
Optional Remote Control Does Not Lower
Check to make sure that the remote control is plugged in. Check for damage to the hydraulic power pack. The solenoid may be damaged and may need to be replaced.
Neutral Position
If the pump has no neutral position, turn the neutral valve [Item #23 on page 12 or 14] clockwise until the desired neutral action is achieved. If the pump does not engage quick enough, turn the neutral valve [Item #23 on page 12 or 14] counterclockwise until the pump action is satisfactory.
FOR THESE AND ALL OTHER TROUBLESHOOTING QUESTIONS, PLEASE CONTACT YOUR LOCAL AUTHORIZED LIFT-RITE DEALER.
FRAME • SCISSOR ASSEMBLY

| Item No. | Description | Part Number | Quantity |
| 1 | 27 x 48 CHASSIS | PR-8021A48 | 1 |
| 20.5 X 48 CHASSIS | PR-8021B48 | 1 | |
| 2 | SNAP RING | PL-20232 | 1 |
| 3 | SPLIT PIN | PL-10269 | 4 |
| 4 | BUSHING | PL-10203A | 4 |
| 5 | INNER LEG CLEVIS PIN | PR-8012/8013 | 2 |
| 6 | OUTER LEG CLEVIS PIN | PR-8012/8013 | 2 |
| 7 | FORK ROLLER W/BUSHING | PR-8007 | 4 |
| 8 | BUSHING | PR-8007A | 4 |
| 9 | 48 IN. LEG ASSEMBLY RIGHT | 1125955/003 | 1 |
| 10 | 48 IN. LEG ASSEMBLY LEFT | 1125956/003 | 1 |
| 11 | AXLE ASSEMBLY | PL-20215-l | 2 |
| 12 | BEARING | PL-20214 | 4 |
| 13 | NYLON ROLLER COMPLETE | PL-20210BN-B | 2 |
| POLY ROLLER COMPLETE | 167609 | 2 | |
| STEEL ROLLER COMPLETE | PL-20210S-BRG | 2 | |
| 14 | WASHER | PL-10239 | 4 |
| 15 | SPLIT PIN | PL-10242 | 2 |
| 16 | BUSHING | PR-8516 | 4 |
| 17 | WASHER | PL-10241 | 2 |
| 18 | STABILIZER ASSEMBLY | PR-8010 | 2 |
THRUST PLATE • WHEEL ASSEMBLY

| Item No. | Description | Part Number | Quantity |
| 1 | 27 IN. THRUST PLATE MANUALMODEL | PR-8024A | 1 |
| 27 IN. THRUST PLATE – ELECTRIC MODEL | 1130181/001 | 1 | |
| 20.5 IN. THRUST PLATE – MANUAL MODEL | PR-8024B | 1 | |
| 20.5 IN. THRUST PLATE – ELECTRIC MODEL | 1130181/002 | 1 | |
| 2 | PUMP COLLAR | AR-8030 | 1 |
| 3 | THRUST PLATE BEARING | PR-8512 | 2 |
| 4 | WHEEL MOUNT | PR-8031A | 1 |
| 5 | BUSHING | PL-10203 | 2 |
| 6 | HUB CAP | PL-10236C | 2 |
| 7 | STEER WHEEL | ||
| NYLON | PL-20236BN-B | 2 | |
| POLY | PL-20236B-B | 2 | |
| STEEL | PL-10236BS-BRG | 2 | |
| 8 | SNAP RING | PL-10237 | 2 |
| 9 | BEARING | PL-10238D | 4 |
| 10 | SOCKET HEAD CAP SCREW | PR-8518 | 2 |
PUMP & HANDLE ASSEMBLY MANUAL

| Item No | Description | Part Number | Quantity |
| 1 | BALL | PL-10244 | 1 |
| 2 | PISTON | PR-8530A | 1 |
| 3 | BUSHING | PR-8538 | 1 |
| 4 | SEAL | PR-8539 | 1 |
| 5 | RING | PR-8540 | 1 |
| 6 | LOCK RING | PR-8541 | 1 |
| 7 | TOP NUT COMPLETE | PR-8529 | 1 |
| 8 | WIPER SEAL | PR-8529A | 1 |
| 9 | O-RING | PR-8529B | 1 |
| 10 | O-RING | PR-8529C | 1 |
| 11 | SEALON | PR-8582A | 1 |
| 12 | BREATHER | PR-8582 | 1 |
| 13 | SEALON | PR-8528 | 1 |
| 14 | FILLER SCREW | PR-8527 | 1 |
| 15 | SPLIT PIN | PL-20274S | 2 |
| 16 | ADJUSTING SCREW | PR-8542 | 1 |
| 17 | WASHER | PR-8543 | 2 |
| 18 | SPRING | PR-8544 | 1 |
| 19 | 8 mm BALL | PR-8545 | 1 |
| 20 | 9 mm BALL | PR-8546 | 1 |
| 21 | ADJUSTING SCREW | PR-8547 | 1 |
| 22 | VALVE SEAT | PR-8549 | 1 |
| 23 | NEUTRAL VALVE | PR-8548 | 1 |
| 24 | O-RING | PR-8548B | 2 |
| 25 | O-RING | PR-8548A | 2 |
| 26 | O-RING | PR-8551 | 1 |
| 27 | PIN | PR-8554 | 1 |
| 28 | U-RING | PR-8552 | 1 |
| 29 | VALVE SCREW | PR-8553 | 1 |
| 30 | WASHER | PR-8555 | 1 |
| 31 | BUSHING | PR-8556 | 1 |
| 32 | WASHER | PR-8537 | 1 |
| 33 | SPRING | PR-8533 | 1 |
| 34 | PUMP CYLINDER | PR-8536 | 1 |
| 35 | U-CUP | PR-8534B | 1 |
| 36 | RING | PR-8534A | 1 |
| 37 | COMPLETE QUICK LIFT PISTON | PR-8534 | 1 |
| 38 | COMPLETE UNION NUT | PR-8535 | 1 |
| 39 | UNION NUT O-RING (THREAD) | PR-8535C | 1 |
| 40 | UNION NUT O-RING | PR-8535B | 1 |
| 41 | UNION NUT SEAL | PR-8535A | 1 |
| 42 | WASHER | PR-8532 | 1 |
| 43 | TOP SCREW | PR-8531A | 1 |
| 44 | CONTROL ROD COMPLETE | PR-20274ACM | 1 |
| 45 | LOCK NUT | 21094 | 1 |
| 46 | LEVER CLIP | 42631 | 1 |
| 47 | SPLIT PIN | PR-8559 | 1 |
| 48 | LOWERING ARM | PR-8558 | 1 |
| 49 | PIN | PL-20275 | 2 |
| 50 | BUSHING | PL-20306 | 2 |
| 51 | SPLIT PIN | PL-10269 | 1 |
| 52 | CONTROL LEVER | PL-20274BD | 1 |
| 53 | BALL | PL-10254 | 2 |
| 54 | SPRING | PL-20274C | 1 |
| 55 | CAP | PL-20274E | 1 |
| 56 | COMPLETE HANDLE | PR-20276TDM | 1 |
| 57 | ERGO-PUMP VALVE KIT | PR-8575 | 1 |
| 58 | ERGO-PUMP SEAL KIT | PR-8577 | 1 |
PUMP & HANDLE ASSEMBLY ELECTRIC

| Item No. | Description | Part No. | Qty. |
| 1 | BALL | PL-10244 | 1 |
| 2 | PISTON | PR-8530A | 1 |
| 3 | BUSHING | PR-8538 | 1 |
| 4 | SEAL | PR-8539 | 1 |
| 5 | RING | PR-8540 | 1 |
| 6 | LOCK RING | PR-8541 | 1 |
| 7 | TOP NUT COMPLETE | PR-8529 | 1 |
| 8 | WIPER SEAL | PR-8529A | 1 |
| 9 | O-RING | PR-8529B | 1 |
| 10 | O-RING | PR-8529C | 1 |
| 11 | SEALON | PR-8582A | 1 |
| 12 | BREATHER | PR-8582 | 1 |
| 13 | SEALON | PR-8528 | 1 |
| 14 | FILLER SCREW | PR-8527 | 1 |
| 15 | SPLIT PIN | PL-20274S | 2 |
| 16 | ADJUSTING SCREW | PR-8542 | 1 |
| 17 | WASHER | PR-8543 | 2 |
| 18 | SPRING | PR-8544 | 1 |
| 19 | 8 mm BALL | PR-8545 | 1 |
| 20 | 9 mm BALL | PR-8546 | 1 |
| 21 | ADJUSTING SCREW | PR-8547 | 1 |
| 22 | VALVE SEAT | PR-8549 | 1 |
| 23 | NEUTRAL VALVE | PR-8548 | 1 |
| 24 | O-RING | PR-8548B | 2 |
| 25 | O-RING | PR-8548A | 2 |
| 26 | O-RING | PR-8551 | 1 |
| 27 | PIN | PR-8554 | 1 |
| 28 | U-RING | PR-8552 | 1 |
| 29 | VALVE SCREW | PR-8553 | 1 |
| 30 | WASHER | PR-8555 | 1 |
| 31 | BUSHING | PR-8556 | 1 |
| 32 | WASHER | PR-8537 | 1 |
| 33 | SPRING | PR-8533 | 1 |
| 34 | PUMP CYLINDER | PR-8536 | 1 |
| 35 | U-CUP | PR-8534B | 1 |
| 36 | RING | PR-8534A | 1 |
| 37 | COMPLETE QUICK LIFT PISTON | PR-8534 | 1 |
| 38 | COMPLETE UNION NUT | PR-8535 | 1 |
| 39 | UNION NUT O-RING (THREAD) | PR-8535C | 1 |
| 40 | UNION NUT O-RING | PR-8535B | 1 |
| 41 | UNION NUT SEAL | PR-8535A | 1 |
| 42 | WASHER | PR-8532 | 1 |
| 43 | TOP SCREW | PR-8531A | 1 |
| 44 | CONTROL ROD COMPLETE | PR-20274ACM | 1 |
| 45 | LOCK NUT | 21094 | 1 |
| 46 | LEVER CUP | 42631 | 1 |
| 47 | SPLIT PIN | PR-8559 | 1 |
| 48 | LOWERING ARM | PR-8558 | 1 |
| 49 | PIN | PL-20275 | 2 |
| 50 | BUSHING | PL-20306 | 2 |
| 51 | SPLIT PIN | PL-90569E | 1 |
| 52 | CONTROL LEVER | PL-20274BD | 1 |
| 55 | CAP | PL-20274E | 1 |
| 56 * | COMPLETE HANDLE | PR-20276TDE | 1 |
| 57 | RELIEF VALVE | PR-8557 | 1 |
| 58 | O-RING | PR-8557B | 1 |
| 59 | O-RING | PR-8557A | 1 |
| 61 | SUCTION LINE | 1143999 | 1 |
| 62 | FITTING | PR-8563 | 1 |
| 63 | ELBOW FITTING | 1144002/001 | 1 |
| 65 | RETURN LINE | PR-8048 | 1 |
| 66 | GROMMET | 11813-04 | 1 |
| 67 | BUTTON HOUSING | PR-20275 | 1 |
| 68 | 8 MACHINE SCREWS | 5-011-003 | 2 |
| 69 | ERGO-PUMP VALVE KIT (NOT SHOWN) | PR-8575 | 1 |
| 70 | ERGO-PUMP SEAL KIT (NOT SHOWN) | PR-8577 | 1 |
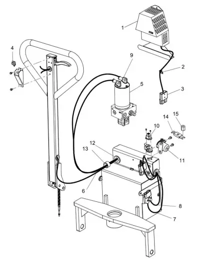
ELECTRICAL COMPONENTS

| Item No. | Description | Part Number | Quantity |
| 1 | BATTERY CHARGER | 1337874 | 1 |
| 2 | CABLE CLAMP | 1-074-087/005 | 1 |
| 3 | BATTERY CONNECTOR | 49854-09 | 3 |
| 4 | LIFT BUTTON | PC-3017 | 1 |
| 5 | HYDRAULIC POWER PACK | 1160927/001 | 1 |
| 6 | HARNESS (MAIN) | 1130733 | 1 |
| 7 | 14 IN. BATTERY CABLE | 1099187/018 | 1 |
| 8 | 20.5 IN. BATTERY CABLE | 1099187/019 | 1 |
| 9 | TERMINAL COVER | 301253-000 | 2 |
| 10 | REMOTE CONNECTOR/HARNESS | 1130732 | 1 |
| 11 | SOLENOID | 22226-02 | 1 |
| 12 | GROMMET | 11813-23 | 2 |
| 13 | CABLE CLAMP | 15677-11 | 1 |
| 14 | FUSE | 590-587/105 | 1 |
| 15 | STANDOFF | 307371-000 | 1 |
| 17 | DESCENT VALVE (NOT SHOWN) | PR-8574 | 1 |
| 18 | LUG SET, BATTERY CONNECTOR (NOT SHOWN) | 49852-08 | 3 |
ERGONOMIC 3000 WARRANTY
The Lift-Rite Ergonomic 3000 is warranted against defects in materials and workmanship for a period of one (1) year from date of installation for non-wearable components and for three (3) months for wearable components from date of installation.
Wearable Components include but are not limited to:
- Wheels, Rollers, and Bearings
- Non-Stationary Hoses and Cables
- Oilite Bearings and Bushings
Components found to be defective by an authorized Lift-Rite Sales and Service Center during the warranty period will be replaced or repaired as indicated above. Replacement components installed during the defined period set forth above, are warranted for the balance of the applicable truck warranty period, or 90 days, whichever is longer. Additionally, freight charges for parts involved in the replacement or repair of a defective component will be paid by Lift-Rite, provided that the replacement or repair is made by an authorized Lift-Rite Sales and Service Center. Local taxes, if any, are excluded.
This warranty is void in the event of defects or damage caused by misuse, abuse, or accident. This warranty does not cover oil leaks, adjustments, or loose hardware.
Lift-Rite reserves the right to make changes and improvements in design without making changes to previously manufactured vehicles.
Notwithstanding any other language contained herein, this warranty is expressly voided without any further notice if any modification is made to the Lift-Rite equipment, or if additional components or devices are added to the Lift-Rite equipment, without prior approval having been granted in writing by Lift-Rite.
THIS WARRANTY IS IN LIEU OF ALL OTHER WARRANTIES, EXPRESSED, IMPLIED, OR STATUTORY.
THERE ARE NO WARRANTIES OF MERCHANTABILITY OR FITNESS FOR A PARTICULAR PURPOSE. In no event shall Lift-Rite be liable for incidental, special, or consequential damages.
SELECTED OSHA REGULATIONS FOR LIFT TRUCKS
Note: Some or all of the following may not be applicable to your hand pallet lift truck.
The use of forklift trucks in the workplace is governed by various regulations. In the United States, the Federal Occupational Safety and Health Administration (OSHA) has issued regulations which cover the majority of workplaces.
In addition, several states have implemented regulations which apply instead of the Federal regulations.
Check with your local OSHA office or provincial Labor Bureau to confirm which regulations govern your workplace. Because of their wide applicability, this section of your manual lists several parts of the Federal OSHA regulations that might be of particular importance to your workplace.
The full text of the Federal regulations can be found in the Code of Federal Regulations at 29 CFR Section 1910.178.
The following citations are followed by a reference to the appropriate subparagraph of the regulations.
- Modifications and additions which affect capacity and safe operation shall not be performed by the customer or user without manufacturers prior written approval. Capacity, operation and maintenance instruction plates, tags or decals shall be changed accordingly. (a) (3)
- The user shall see that all nameplates and markings are in place and are maintained in a legible condition. (a) (6)
- The employer shall ensure that each powered industrial truck operator is competent to operate a powered industrial truck safely, as demonstrated by the successful completion of the training and evaluation specified in this paragraph. (l) (1) (i)
- Prior to permitting an employee to operate a powered industrial truck (except for training purposes), the employer shall ensure that each operator has successfully completed the training required by this paragraph. (l) (1) (ii)
- Trainees may operate a powered industrial truck only under the direct supervision of persons who have the knowledge, training, and experience to train operators and evaluate their competence and where such operation does not endanger the trainee or other employees. (l) (2) (i) (A) (B)
- Training shall consist of a combination of formal instruction (e.g. lecture, discussion, interactive computer learning, videotape, written material), practical training (demonstrations performed by the trainer and practical exercises performed by the trainee), and evaluation of the operator’s performance in the workplace. (l) (2) (B) (ii)
[Editorial Note: For required training program content, refer to (l) (3) (i) (A-M) and (l) (3) (ii) (A-I).] - Refresher training, including an evaluation of the effectiveness of that training, shall be conducted as required by paragraph (l) (4) (ii) to ensure that the operator has the knowledge and skills needed to operate the powered industrial truck safely. (l) (4) (i)
- An evaluation of each powered industrial truck operator’s performance shall be conducted at least once every three years. (l) (4) (iii)
- The employer shall certify that each operator has been trained and evaluated as required by this paragraph (l). The certification shall include the name of the operator, the date of the training, the date of the evaluation, and the identity of the person(s) performing the training or evaluation. (l) (6)
- The employer shall prohibit arms or legs from being placed between the uprights of the mast or outside the running lines of the truck. (m) (4)
- Brakes shall be set and wheel blocks shall be in place to prevent movement of trucks, trailers or railroad cars while loading or unloading. Fixed jacks may be necessary to support a semitrailer when the trailer is not coupled to a tractor. The flooring of trucks, trailers, and railroad cars shall be checked for breaks and weakness before they are driven onto. (m) (7)
- Only approved industrial trucks shall be used in hazardous locations. (m) (11)
- All traffic regulations shall be observed, including authorized plant speed limits. A safe distance shall be maintained approximately three truck lengths from the truck ahead, and the truck shall be kept under control at all times. (n) (1)
- The driver shall be required to slow down and sound the horn at cross aisles and other locations where vision is obstructed. If the load being carried obstructs forward view, the driver shall be required to travel with the load trailing. (n) (4)
- Under all travel conditions the truck shall be operated at a speed that permits it to be brought to a stop in a safe manner. (n) (8)
- Stunt driving and horseplay shall not be permitted. (n) (9)
- If at any time a powered industrial truck is found to be in need of repair, defective, or in any way unsafe, the truck shall be taken out of service until it has been restored to safe operating condition. (p) (1)
- Any power-operated industrial truck not in safe operating condition shall be removed from service. All repairs shall be made by authorized personnel. (q) (1)
- All parts of any such industrial truck requiring replacement shall be replaced only by parts equivalent as to safety with those used in the original design. (q) (5)
- Industrial trucks shall be examined before being placed in service, and shall not be placed in service if the examination shows any condition adversely affecting the safety of the truck. Such examination shall be made at least daily. Where powered industrial trucks are used on a round-the-clock basis, they shall be examined after each shift. Defects when found shall be immediately reported and corrected. (q) (7)
Lift-Rite,
Tel: Toll Free from USA: 1-800-558-6012,
Greene, NY 13778,
Publication Number 1130682/001G ©2022
Dated 23 Sep 2022|




















