LIFT-RITE PST23 Hand Pallet Trucks

Lift-Rite Hand Pallet Trucks Model PST23
The Lift-Rite Hand Pallet Truck Model PST23 is a manual hydraulic hand pallet truck used for lifting and transporting loads. This product comes with three manuals, Owner’s Manual, Operating Instructions Manual, and the Replacement Parts Manual, which provide detailed information on product usage, safety procedures, daily inspection, maintenance, and troubleshooting.
Before You Begin
Always follow your facility’s rules regarding wearing Personal Protective Equipment such as safety shoes and protective glasses whenever operating, working with, or assembling or dismantling hand pallet trucks.
Delivery Inspection
Visually inspect the hand pallet truck frame components and hydraulic unit for damage during shipment by the carrier. If damage is evident, notify the delivering carrier immediately and file the necessary claims. Test the hand pallet truck pump for proper operation.
Operating Instructions
Do not use the PST23 in wet environments or in places with extreme temperature variations. To raise the load, push down on the fingertip control. Pump the handle to raise the load from the floor. To lower the load, pull up on the fingertip control. The neutral position disengages the pump from the lifting mechanism which makes pulling loads easier. In addition, the pump is not subject to shock pressures while the hand pallet truck is in motion.
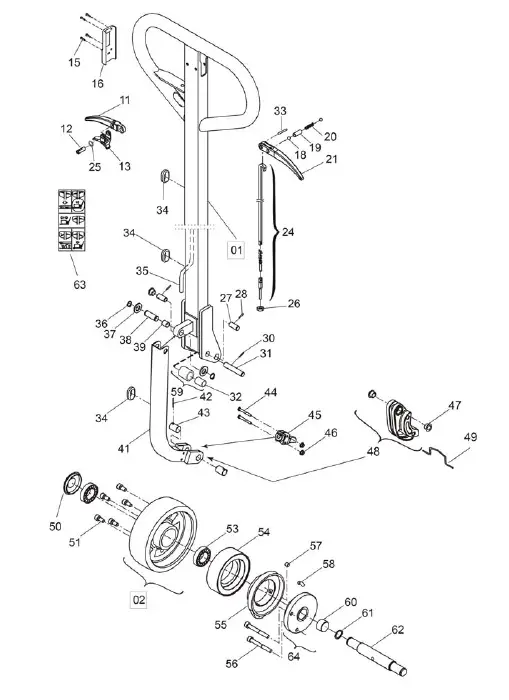
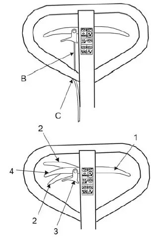
- Before using the hand pallet truck, make sure that the assist wire [B] is free from damage.
- When required, inspect the condition of the start assist wire and adjust the wire tension [C].
- Prior to using the start assistance feature, set the hydraulic lowering of the handle [Item 1] to the neutral position.
- Move the start assistance lever up or down [Item 2] depending on the travel direction. When moving the lever down, be sure to first release the catch [Item 3].
- When not using this feature, set the start assistance lever to the neutral position [Item 4].
WARNING! – Energy released in the control handle. Incorrect use may result in injuries and damage to the hand pallet truck. Never use the start assistance feature to brake the hand pallet truck. When the hand pallet truck is moving, never set the start assistance lever to the opposite position of the travel direction.
Safety Procedures
Always wear appropriate Personal Protective Equipment (PPE) when operating or working with the hand pallet truck. Inspect the hand pallet truck for any damage before use. Do not use in wet environments or in places with extreme temperature variations. Follow proper lifting techniques and do not exceed the maximum load capacity of the hand pallet truck.
Daily Inspection
Inspect the hand pallet truck daily for any damage or wear and tear. Check the wheels, frame, and hydraulic unit for any issues. Make sure that all controls and levers are functioning properly.
Maintenance
Regularly lubricate all moving parts of the hand pallet truck. Replace any damaged or worn-out parts immediately. Keep the hand pallet truck clean and free from debris.
Troubleshooting
If there are any issues with the hand pallet truck, refer to the user-friendly troubleshooting guide in the manual for solutions.
Hand Pallet Truck Warranty
The Lift-Rite Hand Pallet Truck Model PST23 comes with a warranty. For more information on the warranty, refer to the manual.
Selected OSHA Regulations for Lift Trucks
Refer to the manual for selected OSHA regulations for lift trucks.
Recycle Your Old Lift-Rite Parts
Refer to the manual for instructions on how to recycle your old Lift-Rite parts.
Contact Information
For more information or assistance with the Lift-Rite Hand For Pallet Truck Model PST23, contact your local authorized Lift-Rite Sales and Service Center or visit www.liftrite.com.
This publication, 1233611/001F, applies to the Lift-Rite Hand Pallet Truck, Model PST23, and to all subsequent releases of this product until otherwise indicated in new editions. Changes occur periodically to the information in this publication. To order additional copies of this manual, part number 1233611/001F, contact your local authorized Lift-Rite Sales and Service Center. If you need assistance with your lift truck, contact your local authorized Lift-Rite Sales and Service Center. For more information please visit www.liftrite.com.
BEFORE YOU BEGIN
Always follow your facility’s rules regarding wearing Personal Protective Equipment such as safety shoes and protective glasses whenever operating, working with, or assembling or dismantling hand pallet trucks.
DELIVERY INSPECTION
Visually inspect the hand pallet truck frame components and hydraulic unit for damage during shipment by the carrier. If damage is evident, notify the delivering carrier immediately and file the necessary claims. Test the hand pallet truck pump for proper operation. If the hydraulic pump does not respond to the movement of the handle, an air lock may have developed during shipping. To remedy this, go to the user-friendly TROUBLESHOOTING guide in this manual.
OPERATING INSTRUCTIONS

(Read and understand prior to using this product)
Do not use the PST23 in wet environments or in places with extreme temperature variations.
NOTE:
The neutral position disengages the pump from the lifting mechanism. This frees the handle, which makes pulling loads easier. In addition, the pump is not subject to shock pressures while the hand pallet truck is in motion.
- Before using the hand pallet truck, make sure that the assist wire [B] is free from damage.

- When required, inspect the condition of the start assist wire and adjust the wire tension [C].
- Prior to using the start assistance feature, set the hydraulic lowering handle [Item 1] to the neutral position.
- Move the start assistance lever up or down [Item 2] depending on the travel direction. When moving the lever down, be sure to first release the catch [Item 3].
- When not using this feature, set the start assistance lever to the neutral position [Item 4].
WARNING! – Energy released in the control handle.
Incorrect use may result in injuries and damage to the hand pallet truck. Never use the start assistance feature to brake the hand pallet truck. When the hand pallet truck is moving, never set the start assistance lever to the opposite position of the travel direction. Risk of pinching. Never put your finger under the locking catch. Additionally, never hold the hands around the start assistance link arm. - Clean and lubricate the start assistance assembly inside in case of malfunction (blocking/ seizure of wheels and/or handles).
SAFETY PROCEDURES
- Read and obey all labels on this product. If you have any questions about these, ask your supervisor.
- Do not operate this hand pallet truck unless you are authorized and trained to do so.
- Never overload your hand pallet truck. Stay within its rated capacity.
- Do not operate this hand pallet truck if damaged or not in proper working order.
- Distribute the load evenly on the forks. Do not concentrate loads at one point or load one fork more than the other.
- When the load impairs visibility, the hand pallet truck should be pulled and not pushed.
- Always look where you are operating. Keep a clear view.
- Only handle loads on flat-level surfaces. Do not use a loaded hand pallet truck on inclines or declines.
- Never carry passengers.
- Never put your feet, hands, or any other body part under the frame assembly.
- Always yield the right of way to pedestrians.
- Do not allow your hand pallet truck to drop from one level to another. Even a drop of 1 in. (25 mm) more than doubles the effective load momentarily and results in a loading that can bend or break components.
- Move loads only with the hand pallet truck in its lowest position.
- Always make sure that the load is stable before moving to eliminate the opportunity for load shift.
- Use extreme care when rounding corners. Too fast a speed could cause a hand pallet truck to tip. If loaded, the load could shift and fall.
- When not in use, fully lower the forks.
DAILY INSPECTION
| CHECK POINTS | Steering | Hydraulic System | Wheels | Chassis/ Handle | Lifting/ Lowering | Labels |
| ACTION | Check full | Check for | Check for wear, | Check for | Check for | Check for |
| rotation | excessive oil | damage, and | damage and | function | readability | |
| on exterior | remove debris | remove debris | ||||
| and check for | ||||||
| function |
LUBRICATION
Always lubricate the hand pallet truck after washing according to the example lubrication diagram and table.

| OIL AND GREASE SPECIFICATION | ||
| Lubricant | Specification | Product Name |
| Grease | OKQ8 Rubens WB | |
| Hydraulic Oil (>5°F or >-15°C) | ISO-VG32 | Hydraulic Oil 32 |
| Hydraulic Oil (<5°F or <-15°C) | ISO-VG27, 5 | Statoil 131 |

TROUBLESHOOTING
| CONDITION | POSSIBLE CAUSE | ACTION |
| Lifting or the start assistance feature does not work satisfactorily | Lifting and start assistance have both been selected | Reset the unneeded function (lifting or start assistance) to the neutral position |
| Start assistance does not engage when required | The wire has too much tension | Adjust wire tensioning using the adjustment screw |
| The start assistance wire is broken | Overloading | Return the clamp loop (1) to the neutral position for emergency travel and replace the wire |
Chassis

Chassis (Cont’d.)
| ITEM NO. | QTY | PART NUMBER | DESCRIPTION |
| 1 | 1 | 47156 | Axle, Torsion Tube, (19 in./480 mm), (20.5 in./520 mm) |
| 1 | 47157 | Axle, Torsion Tube, (27 in./685 mm) | |
| 1 | 48053 | Axle, Torsion Tube, (15 in./370 mm), (16 in./410 mm), (18 in./450 mm) | |
| 2 | 1 | 22128Z | Pin, Locking |
| 3 | 2 | 134753 | Ear |
| 2 | 47135 | Ear | |
| 4 | 2 | 134752 | Ear |
| 5 | 2 | 47110 | Bracket |
| 6 | 2 | 21385Z | Screw |
| 7 | 2 | 47151 | Spacer |
| 8 | 2 | 47150 | Wheel |
| 9 | 2 | 20433Z | Nut |
| 10 | 4 | 20014Z | Pin, Locking |
| 11 | 2 | 159208 | Plate |
| 12 | 1 | 159209 | Clamp |
| 13 | 2 | 20404 | Washer |
| 14 | 2 | 20184Z | Screw |
| 15 | 2 | 47167 | Bushing |
| 16 | 2 | 20001 | Pin, Locking |
| 17 | 2 | 30018 | Bushing |
| 18 | 2 | 166701 | Bolt, Arm, Complete |
| 19 | 7 | 27662Z | Nipple, Grease |
| 20 | 1 | 64180 | Tube, Torsion, Complete, (20.5 in./520 mm) Wide Truck |
| 1 | 64183 | Tube, Torsion, Complete, (27 in./685 mm) Wide Truck | |
| 21 | 4 | 30023 | Bushing |
| 22 | 2 | 20013Z | Washer |
| 23 | 2 | 109566-091 | Rod, Push, Complete, (36 in./910 mm) Frame |
| 2 | 109566-107 | Rod, Push, Complete, (42 in./1070 mm) Frame | |
| 2 | 157213 | Rod, Push, Complete, (48 in./1220 mm) Frame | |
| 24 | 2 | 167600 | Wheel, Complete, Nylon |
| 2 | 167609 | Wheel, Complete, Polyurethane | |
| 25 | 4 | PL-20214 | Bearing |
| 26 | 2 | 47133 | Axle |
| 27 | 2 | 47134 | Axle |
| 28 | 4 | 254165Z | Wheel, Complete |
| 29 | 4 | 51805 | Bushing |
Signs, Warnings, Decals
| ITEM NO. | QTY | PART NUMBER | DESCRIPTION |
| 30 | 2 | 149466 | Wheel, Fork, Complete |
| 31 | 4 | 20001 | Pin, Locking |
| 38 | 4 | 47117 | Bushing |
| 39 | 1 | 159845 | Clamp, Complete |
| 40 | 2 | 126131 | Axle |
| 41 | 2 | 27662Z | Nipple, Grease |
Signs, Warnings, Decals (Cont’d.)

Hydraulic Module
| ITEM NO. | QTY | PART NUMBER | DESCRIPTION |
| 11 | 2 | PL-20501 | Sign |
| 12 | 1 | 212436 | Sign |
| 15 | 2 | 177219 | Sign |
| 16 | 2 | 177215 | Sign |
| 17 | 2 | 177097 | Sign |
Hydraulic Module (Cont’d.)

Hydraulic Pump Module
| ITEM NO. | QTY | PART NUMBER | DESCRIPTION |
| Hydraulic Module (including Control Handle and Wheels) | |||
| 1 | 1 | 7501909 | Control Handle |
| 2 | 2 | 208455 | Wheel, Complete, Powerthane |
| 11 | 1 | 214770 | Handle |
| 12 | 1 | 211059 | Axle |
| 13 | 1 | 211057 | Catch |
| 15 | 4 | 23112Z | Rivet |
| 16 | 1 | 216338 | Lock |
| 18 | 2 | 20065Z | Ball |
| 19 | 1 | 54140 | Sleeve |
| 20 | 1 | 218182 | Spring |
| 21 | 1 | 173765 | Handle |
| 24 | 1 | 215775 | Bar, Valve |
| 25 | 1 | 20173Z | Ring, Locking |
| 26 | 1 | 21094Z | Nut |
| 27 | 1 | 7500086 | Axle |
| 28 | 2 | 20014Z | Pin, Locking |
| 30 | 2 | 20461Z | Pin, Locking |
| 31 | 1 | 47930 | Axle |
| 32 | 1 | 22108Z | Bushing |
| 33 | 1 | 20105Z | Pin, Locking |
| 34 | 3 | 22444Z | Guide |
| 35 | 1 | 211402 | Wire, Complete |
| 36 | 2 | 20207Z | Ring, Locking |
| 37 | 2 | 22547Z | Washer |
| 38 | 1 | 212907 | Axle |
| 39 | 1 | 21706 | Bushing |
| 41 | 1 | 211396 | Arm, Lever, Complete |
| 42 | 2 | 20524 | Pin, Locking |
| 43 | 2 | 208454 | Axle |
| 44 | 2 | 28341Z | Screw |
| 45 | 1 | 212208 | Bracket |
| 46 | 2 | 25699Z | Nut |
| 47 | 2 | 211008 | Bushing |
| 48 | 1 | 212584 | Driver, Complete |
| 49 | 2 | 211061 | Clamp |
| ITEM NO. | QTY | PART NUMBER | DESCRIPTION |
| 50 | 2 | 156623 | Cover |
| 51 | 10 | 20184Z | Screw |
| 53 | 4 | 22226Z | Bearing |
| 54 | 2 | 214750 | Ring, Wheel |
| 55 | 2 | 227128 | Lever, Direction |
| 56 | 2 | 212777 | Screw |
| 57 | 8 | 211083 | Screw |
| 58 | 2 | 212256 | Spring |
| 59 | 1 | 202755 | Roller, Complete |
| 60 | 2 | 20896 | Bushing |
| 61 | 2 | 20019Z | Ring, Locking |
| 62 | 1 | 220310 | Axle |
| 63 | 1 | 212436 | Sign |
| 64 | 1 | 227129 | Hub, Complete, Right |
| 1 | 227130 | Hub, Complete, Left |
Hydraulic Pump Module (Cont’d.)

RECYCLE YOUR OLD LIFT-RITE PARTS
| ITEM NO. | QTY | PART NUMBER | DESCRIPTION |
| Hydraulic Pump Module | |||
| 12 | 1 | 227083 | Hydraulic Unit |
| 13 | 1 | 215030 | Piston |
| 14 | 1 | 215092 | Plate, Pressure |
| 15 | 1 | 21737 | Ring, Locking |
| 16 | 1 | 27662Z | Nipple, Grease |
| 17 | 2 | 20001 | Pin, Locking |
| 18 | 1 | 213056 | Ball, Bearing |
| 19 | 1 | 220312 | Pin, Locking |
| 20 | 1 | 20065Z | Ball |
| 21 | 1 | 215288 | Washer |
| 22 | 1 | 22032Z | O-Ring |
| 24 | 1 | 47071 | Spring |
| 25 | 1 | 7500100 | Wiper |
| 27 | 1 | 7500116 | Piston |
| 28 | 1 | 20065Z | Ball |
| 29 | 1 | 223935 | Valve, Cone |
| 30 | 1 | 39106 | Spring |
| 31 | 1 | 235545 | Washer |
| 32 | 1 | 221586 | Screw |
| 33 | 1 | 215866 | Seal |
| 34 | 1 | 21060Z | Ring, Sealing |
| 35 | 1 | 215286 | Piston |
| 36 | 1 | 227090 | Spring |
| 37 | 1 | 215282 | Washer |
| 38 | 1 | 20043Z | Ring, Locking |
| 39 | 1 | 215803 | Sleeve |
| 40 | 1 | 20642 | Ring, Locking |
| 41 | 1 | 20066Z | Seal |
| 42 | 1 | 215867 | Seal |
| 54 | 1 | 21094Z | Nut |
| 55 | 1 | 220312 | Pin, Locking |
| 56 | 1 | 215128 | Arm, Lowering |
| 64 | 1 | 20014Z | Pin, Locking |
| ITEM NO. | QTY | PART NUMBER | DESCRIPTION |
| 71 | 1 | 24213Z | O-Ring |
| 72 | 2 | 215913 | Bushing |
| 73 | 1 | 7518604 | Valve, Lowering, Complete |

| Chassis | Steel |
| Wheel suspension | Steel and cast iron |
| Bushings | Brass |
| Grease fittings | Steel |
| Wheel Enamel | Nylon, polyurethane, steel Epoxy-polyester |
| Hydraulic body | Cast iron |
| Pressure plate | Cast iron |
| Control Handle | Steel, nylon |
| Wheel Enamel | Nylon, polyurethane, steel Epoxy-polyester |
| Bushings | Brass |
| Hydraulic oil | Disposal in accordance with local regulations |
| Assembly parts | Steel, brass, nylon |
HAND PALLET TRUCK WARRANTY
The Lift-Rite Hand Pallet Truck, Model PST23, is warranted against defects in materials and workmanship for a period of two (2) years for the hydraulic pump and truck chassis, and one (1) year for the power start technology, and six (6) months for wearable components from the date of installation.
Wearable Components include but are not limited to:
- Wheels, Rollers, Bearings, and Brake Cable
- Oilite Bearings and Bushings
Components found to be defective by an authorized Lift-Rite Sales and Service Center during the warranty period will be replaced or repaired as indicated above. Replacement components installed during the defined period set forth above, are warranted for the balance of the applicable truck warranty period, or 90 days, whichever is longer. Additionally, freight charges for parts involved in the replacement or repair of a defective component will be paid by Lift-Rite, provided that the replacement or repair is made by an authorized Lift-Rite Sales and Service Center. Labor or miscellaneous costs involved in the replacement of any components determined to be defective are not covered. Local taxes, if any, are excluded.
This warranty is void in the event of defects or damage caused by misuse, abuse, or accident. Any truck used in an application where the unit is operating in water or subjected to fluid or chemicals is NOT covered under any warranty.
This warranty does not cover oil leaks, adjustments, or loose hardware. Lift-Rite reserves the right to make changes and improvements in design without making changes to previously manufactured vehicles. Notwithstanding any other language contained herein, this warranty is expressly voided without any further notice if any modification is made to the Lift-Rite equipment, or if additional components or devices are added to the Lift-Rite equipment, without prior approval having been granted in writing by Lift-Rite. THIS WARRANTY IS IN LIEU OF ALL OTHER WARRANTIES, EXPRESSED, IMPLIED, OR STATUTORY. THERE ARE NO WARRANTIES OF MERCHANTABILITY OR FITNESS FOR A PARTICULAR PURPOSE. In no event shall Lift-Rite be liable for incidental, special, or consequential damages.
SELECTED OSHA REGULATIONS FOR LIFT TRUCKS
Note: Some or all of the following may not be applicable to your hand pallet lift truck. The use of forklift trucks in the workplace is governed by various regulations. In the United States, the Federal Occupational Safety and Health Administration (OSHA) has issued regulations that cover the majority of workplaces. In addition, several states have implemented regulations that apply instead of the Federal regulations. Check with your local OSHA office or provincial Labor Bureau to confirm which regulations govern your workplace. Because of their wide applicability, this section of your manual lists several parts of the Federal OSHA regulations that might be of particular importance to your workplace. The full text of the Federal regulations can be found in the Code of Federal Regulations at 29 CFR Section 1910.178. The following citations are followed by a reference to the appropriate subparagraph of the regulations.
- Modifications and additions which affect capacity and safe operation shall not be performed by the customer or user without the manufacturer’s prior written approval. Capacity, operation, and maintenance instruction plates, tags, or decals shall be changed accordingly. (a) (3)
- The user shall see that all nameplates and markings are in place and are maintained in a legible condition. (a) (6)
- The employer shall ensure that each powered industrial truck operator is competent to operate a powered industrial truck safely, as demonstrated by the successful completion of the training and evaluation specified in this paragraph. (l) (1) (i)
- Prior to permitting an employee to operate a powered industrial truck (except for training purposes), the employer shall ensure that each operator has successfully completed the training required by this paragraph. (l) (1) (ii)
- Trainees may operate a powered industrial truck only under the direct supervision of persons who have the knowledge, training, and experience to train operators and evaluate their competence and where such operation does not endanger the trainee or other employees. (l) (2) (i) (A) (B)
- Training shall consist of a combination of formal instruction (e.g. lecture, discussion, interactive computer learning, videotape, written material), practical training (demonstrations performed by the trainer and practical exercises performed by the trainee), and evaluation of the operator’s performance in the workplace. (l) (2) (B) (ii)
[Editorial Note: For required training program content, refer to (l) (3) (i) (A-M) and (l) (3) (ii) (A-I).] - Refresher training, including an evaluation of the effectiveness of that training, shall be conducted as required by paragraph (l) (4) (ii) to ensure that the operator has the knowledge and skills needed to operate the powered industrial truck safely. (l) (4) (i)
- An evaluation of each powered industrial truck operator’s performance shall be conducted at least once every three years. (l) (4) (iii)
- The employer shall certify that each operator has been trained and evaluated as required by this paragraph (l). The certification shall include the name of the operator, the date of the training, the date of the evaluation, and the identity of the person(s) performing the training or evaluation. (l) (6)
- The employer shall prohibit arms or legs from being placed between the uprights of the mast or outside the running lines of the truck. (m) (4)
- Brakes shall be set and wheel blocks shall be in place to prevent movement of trucks, trailers, or railroad cars while loading or unloading. Fixed jacks may be necessary to support a semitrailer when the trailer is not coupled to a tractor. The flooring of trucks, trailers, and railroad cars shall be checked for breaks and weaknesses before they are driven. (m) (7)
- Only approved industrial trucks shall be used in hazardous locations. (m) (11)
- All traffic regulations shall be observed, including authorized plant speed limits. A safe distance shall be maintained approximately three truck lengths from the truck ahead, and the truck shall be kept under control at all times. (n) (1)
- The driver shall be required to slow down and sound the horn at cross aisles and other locations where vision is obstructed. If the load being carried obstructs the forward view, the driver shall be required to travel with the load trailing. (n) (4)
- Under all travel conditions, the truck shall be operated at a speed that permits it to be brought to a stop in a safe manner. (n) (8)
- Stunt driving and horseplay shall not be permitted. (n) (9)
- If at any time a powered industrial truck is found to be in need of repair, defective, or in any way unsafe, the truck shall be taken out of service until it has been restored to safe operating condition. (p) (1)
- Any power-operated industrial truck not in safe operating condition shall be removed from service. All repairs shall be made by authorized personnel. (q) (1)
- All parts of any such industrial truck requiring replacement shall be replaced only by parts equivalent to safety with those used in the original design. (q) (5)
- Industrial trucks shall be examined before being placed in service, and shall not be placed in service if the examination shows any condition adversely affecting the safety of the truck. Such examination shall be made at least daily.
- Where powered industrial trucks are used on a round-the-clock basis, they shall be examined after each shift. Defects when found shall be immediately reported and corrected. (q) (7)
Lift-Rite, Tel: Toll Free from USA: 1-800-558-6012, Greene, NY 13778, Publication Number 1233611/001F © 2022


















