
STIHL RL-MM | Instruction Manual



Original Instruction Manual
Printed on chlorine-free paper
Printing inks contain vegetable oils, paper can be recycled.
© ANDREAS STIHL AG & Co. KG, 2021
0458-482-0121-A. VA0.H21.
0000000584_012_GB
Dear Customer,
Thank you for choosing a quality engineered STIHL product.
It has been built using modern production techniques and comprehensive quality assurance. Every effort has been made to ensure your satisfaction and trouble-free use of the product.
Please contact your dealer or our sales company if you have any queries concerning this product. Your

Dr. Nikolas Stihl
This instruction manual is protected by copyright. All rights reserved, especially the rights to reproduce, translate and process with electronic systems.
MultiSystem

In the STIHL MultiSystem, various MultiEngines and MultiTools are combined to form a machine. In this Instruction Manual, the functional unit of MultiEngine and MultiTool is referred to as a machine.
Accordingly, the instruction manuals for the MultiEngine and the MultiTool constitute the entire Instruction Manual for the machine.
Always read both manuals carefully before using your machine for the first time and keep them safe for future reference.
Guide to Using this Manual
Pictograms
All the pictograms attached to the machine are shown and explained in this manual.
Symbols in text
WARNING
Warning where there is a risk of an accident or personal injury or serious damage to property.
NOTICE
Caution where there is a risk of damaging the machine or its individual components.
Engineering improvements
STIHL’s philosophy is to continually improve all of its products. For this reason we may modify the design, engineering and appearance of our products periodically.
Therefore, some changes, modifications and improvements may not be covered in this manual.
Safety Precautions and Working Techniques
Special safety precautions must be observed when working with the aerator because its pointed and sharp-edged blades rotate at high speed.
Always read and and make sure you understand both instruction manuals (MultiEngine and MultiTool) before using your power tool for the first time and keep them in a safe place for future reference. Non-observance of the safety precautions may result in serious or even fatal injury.
Lend or rent your power tool only to persons who are familiar with this model and its operation - do not lend of rent your power tool without the MultiEngine and MultiTool instruction manuals.
Use the power tool only for aerating lawns and similar grassed areas.
Do not use your power tool for any other purpose because of the increased risk of accidents.
Only use attachments and accessories that are explicitly approved for this power tool model by STIHL or are technically identical. If you have any questions in this respect, consult a servicing dealer.
Use only high quality tools and accessories in order to avoid the risk of accidents and damage to the machine.
STIHL recommends the use of original STIHL replacement parts, blades and accessories. They are specifically designed to match the product and meet your performance requirements.
The deflector on this power tool cannot protect the operator from all objects thrown by the attachment (stones, glass, wire, etc.). Such objects may ricochet and then hit the operator.
Never attempt to modify your machine in any way since this may increase the risk of personal injury. STIHL excludes all liability for personal injury and damage to property caused while using unauthorized attachments.
Do not use a pressure washer to clean your power tool. The solid jet of water may damage parts of the power tool.
Clothing and Equipment
Wear proper protective clothing and equipment.
Clothing must be sturdy but allow complete freedom of movement. Wear snug-fitting clothing, an overall and jacket combination, do not wear a work coat.
Avoid clothing that could get caught on branches or brush or moving parts of the machine. Do not wear a scarf, necktie or jewelry. Tie up long hair so that it is above shoulder level.
Wear steel-toed safety boots with non-slip soles.
WARNING
To reduce the risk of eye injuries, wear close-fitting safety glasses in accordance with European Standard EN 166. Make sure the safety glasses are a comfortable and snug fit.
Wear hearing protection, e.g. earplugs or ear muffs.
Wear heavy-duty work gloves made of durable material (e.g. leather).
STIHL offers a comprehensive range of personal protective clothing and equipment.
Transporting the Power Tool

Always shut off the engine.
Carry your power tool by the handle, attachment in front of you.
Do not touch hot parts of the machine since burn injury will result.
Transporting by vehicle: Properly secure your power tool to prevent turnover, fuel spillage and damage.
Before Starting
Check that your power tool is properly assembled and in good condition refer to appropriate chapters in the MultiEngine and MultiTool instruction manuals.
- Blade correctly and securely mounted and in good condition (clean, move freely, not warped).
- Inspect the deflectors for damage and wear. Do not operate the machine with a damaged deflector replace damaged parts.
- Never attempt to modify the controls or safety devices in any way.
- Keep the handles dry and clean - free from oil and dirt - for safe control of the power tool.
- Swing the bike handle to the normal operating position and tighten it down firmly with the rotary knob. See chapter on “Adjusting the Handlebar” in the MultiEngine instruction manual.
To reduce the risk of accidents, do not operate your power tool if it is damaged or not properly assembled.
Check correct position of gearbox and adjust if necessary. This helps reduce the risk of injury from the MultiTool rotating in the wrong direction.
See also notes on “Mounting the MultiTool”.

If you use metal tools, position the gearbox so that the axle is below the drive shaft.
Use for:
- BF-MM pick tines
- BK-MM bolo tines
- FC-MM edger
- RL-MM aerator
- MF-MM dethatcher
Holding and Controlling the Power Tool
Make sure you always have good balance and secure footing.

Always hold the power tool firmly with both hands on the handles.
Right handle on control handle, left hand on left handle.
During Operation
In the event of impending danger or in an emergency, switch off the engine immediately by moving the slide control / stop switch / button to 0 or STOP.

To reduce the risk of injury from contact with the tool and thrown objects, do not allow any other persons within a radius of 5 meters of your own position. To reduce the risk of damage to property, also maintain this distance from other objects (vehicles, windows).
The correct engine idle speed is important to ensure that the attachment stops moving when you let go of the throttle trigger. Check and correct the idle speed setting regularly. If the attachment still rotates when the engine is idling, have your dealer check your machine and make proper adjustments or repairs - see MultiEngine instruction manual.
The gearbox becomes hot during operation. To reduce the risk of burn injury, do not touch the gearbox housing.
To reduce the risk of injury from thrown objects or contact with the attachment, never operate the unit without a properly mounted deflector designed specifically for the unit and the attachment.
Always stand behind the deflector or to one side of the machine during operation - never in front of the attachment.
Take special care in slippery conditions.
– damp or ice on slopes or uneven ground.
To reduce the risk of accidents or injury,
remove all obstacles and objects from the work area.
Inspect the work area - solid objects (stones, pieces of metal, etc.) may damage the attachment.
To avoid the risk of electric shock, never use your power tool in areas where electrical lines are laid on the surface or buried just below the surface. Striking and damaging such lines with the attachment could cause serious or even fatal injury.
Operate your power tool at normal walking pace only.
Be extremely cautious when pulling the power tool towards you because of the risk of injury from contact with the rotating attachment.
Make sure you always have good balance and secure footing.
Be extremely cautious when changing direction with the power tool especially on slopes.
On slopes, always work parallel to the gradient to reduce the risk of injury from slipping or contact with the attachment.
Never work on steep slopes because of the risk of injury through loss of control of the power tool.
Take particular care when working close to fences, walls, stones, roots, trees and areas of dense growth. Solid objects may be thrown in your direction or damage the attachment – risk of accidents.
When working next to high scrub, bushes and hedges, take care not to harm small animals.
Be particularly alert and cautious when wearing hearing protection because your ability to hear warnings (shouts, alarms, etc.) is restricted.
To reduce the risk of accidents, take a break in good time to avoid tiredness or exhaustion.
Work calmly and carefully - in daylight conditions and only when visibility is good. Stay alert so as not to endanger others.
If your power tool is subjected to unusually high loads for which it was not designed (e.g. heavy impact or a fall), always check that it is in good condition before continuing work - see also “Before Starting”. Make sure the safety devices are working properly. Do not continue operating your power tool if it is damaged. In case of doubt, consult your servicing dealer.
Do not touch the attachment while the engine is running. If the attachment becomes jammed by an obstruction, switch off the engine immediately before attempting to remove the obstruction.
Opening the throttle while the attachment is blocked increases the load and reduces engine speed. The clutch then slips continuously and this causes overheating and damage to important components (e.g. clutch, polymer housing components) - and this can increase the risk of injury from the cutting attachment moving while the engine is idling.
Check the attachment at regular short intervals during operation or immediately if there is a noticeable change in behavior:
- Shut off the engine, hold the unit securely.
- Check condition and tightness, look for cracks.
- Replace damaged working tools immediately, even if they have only superficial cracks.
Clean the attachment and deflector at regular intervals during operation.
- Stopping the Engine
- Wear gloves.
- Remove grass, weeds, clumps of soil, etc.
To reduce the risk of injury, shut off the engine before changing attachments.
Do not continue using or attempt to repair damaged or cracked cutting attachments by welding, straightening or modifying the shape (out of balance).
After Finishing Work
After finishing work or before leaving the unit unattended: Shut off the engine.
After finishing work, clean dirt, soil and plant residue off the attachment - wear gloves to reduce the risk of injury.
Do not use grease solvents for cleaning.
After thoroughly cleaning, coat metal surface of attachments with a corrosion inhibitor.
Maintenance and Repairs
Service the machine regularly. Do not attempt any maintenance or repair work not described in the MultiTool and MultiEngine instruction manuals. Have all other work performed by a servicing dealer.
STIHL recommends that you have servicing and repair work carried out exclusively by an authorized STIHL servicing dealer. STIHL dealers are regularly given the opportunity to attend training courses and are supplied with the necessary technical information.
Only use high-quality replacement parts in order to avoid the risk of accidents and damage to the power tool. If you have any questions in this respect, consult a servicing dealer.
STIHL recommends the use of original STIHL replacement parts. They are specifically designed to match your model and meet your performance requirements.
To reduce the risk of injury, always shut off the engine before carrying out any maintenance or repairs or cleaning the machine.
Using the Unit

Your RL-MM is designed for aerating lawns and other grassed areas.
Preparations
If the lawn is very dry, spray it with water before you start work: this softens the soil a little and reduces the amount of dust created.
WARNING
Clear away all obstacles and solid objects from the work area.
• Plan the best route for aerating.

Operate the MultiEngine with RL-MM aerator in the forward direction only.
The blades may only be mounted and operated in one position. Arrows on the blades show the required direction of rotation - see chapter on “Mounting the MultiTool”.

WARNING
Never work without the deflector!
The deflector ensures that cuttings and other debris are directed away from the machine and operator.
Aerating the lawn
- Secure the handlebar in the normal operating position.
- Start the engine.
- Operate at no less than half throttle, or at full throttle.
- Choose a working speed that produces the required aerating depth without lugging down the engine.
- Operate at no more than a normal walking pace.
- Do not push the blades into the ground.
Cleaning the blades
Pieces of grass or roots may become tightly wrapped around blade mounting and between the blades during operation. Clean the blades as follows:
- Shut off the engine.
- Wear work gloves.
- Pull the hitch pins out of the axle.
- Pull the blades off the axle.
- Remove pieces of roots, plants and soil.
Refer to “Mounting the MultiTool” for mounting instructions.
Approved MultiEngines
Only use MultiEngines supplied by STIHL or expressly approved by STIHL for use with the MultiTool.
This MultiTool may only be used in combination with the STIHL MM 56 MultiEngine.
Mounting the MultiTool
Removing Existing MultiTools
WARNING
Wear gloves to reduce the risk of injury from contact with sharp MultiTools and/or hot surface of gearbox.

- Remove the hitch pins and pull the MultiTools (if fitted) off the axle see also “Mounting the MultiTool” in the instruction manual of the other MultiTool.
- Clean the gearbox if necessary.
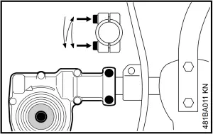
Checking Position of Gearbox
WARNING
To reduce risk of injury from the MultiTool rotating in the wrong direction, check that position of gearbox is correct and adjust if necessary.

The axle (1) must be below the shaft (2).
Direction of rotation (3) of MultiTool.
Adjusting Position of Gearbox

- Loosen clamp screws on gearbox.
- Turn the gearbox through 180°.
- Line up the gearbox in the correct position.
- Tighten down the two clamp screws on the gearbox in the following sequence:
- Tighten the first screw moderately.
- Tighten the second screw moderately.
- Tighten down first screw firmly.
- Tighten down second screw firmly.
NOTICE
It must not be possible to rotate the gearbox on the drive tube.
Mounting the MultiTool
- Arrange the blades in the order they will be fitted on the axle, noting the following points:
Left-hand and right-hand blades are different. The direction of rotation is marked with arrows on the gearbox and blades. Make sure the arrows point in the same direction.

- Rotate the inner right-hand blade (4) on the axle until it can be pushed into position - check the direction of rotation again (arrows).
The hub of the inner blade is larger than that of the outer blade.
- Rotate the outer right-hand blade (5) on the axle until it can be pushed into position - check the direction of rotation again (arrows).
- Insert and engage the hitch pin (6) in the hole in the axle - fold the hitch pin flat against the blade.
- Use the same procedure to mount the blades on the left-hand side.
Starting / Stopping the Engine
Starting the Engine
Always follow the starting procedure described in the MultiEngine instruction manual.


- Secure the handlebar in the normal operating position.
- Retract the wheels, if fitted see chapter on “Wheels” in MultiEngine instruction manual.
- Retract the spur, if fitted.
- Check that the MultiTool is not touching the ground or any other obstacles. The unit must rest on the engine flange and the support on the frame.
- Make sure you have good balance and secure footing - as shown in the illustration.
WARNING
To reduce the risk of injury from contact with the rotating attachment, always stand to the side of the power tool, never in front of the attachment.
- With your left hand on the loop handle, press the unit firmly against the ground do not touch the throttle trigger or lockout lever.
NOTICE
Do not stand or kneel on the handlebar or frame.
WARNING
The attachment may begin to move as soon as the engine starts. For this reason, blip the throttle after starting the engine returns to idling speed.
Now follow the starting procedure described in the MultiEngine instruction manual.
Stopping the Engine
- See MultiEngine instruction manual.
Storing the Machine
For periods of about 30 days or longer
- Remove, clean and inspect the cutting blade.
- Store the machine in a dry and secure location. Keep out of the reach of children and other unauthorized persons
Maintenance and Care
The following intervals apply to normal operating conditions only. If your daily working time is longer or operating conditions are difficult (very dusty work area, etc.), shorten the specified intervals accordingly.
All accessible screws and nuts
- Retighten if necessary
Blades
- Visual inspection, check tightness before starting work and after every refueling stop
- Have checked for out-of-balance if necessary, replace if out-of-balance
- Replace if damaged
Safety labels
- Replace illegible safety labels
Minimize Wear and Avoid Damage
Observing the instructions in this manual and the MultiEngine manual helps reduce the risk of unnecessary wear and damage to the power tool.
The power tool must be operated, maintained and stored with the due care and attention described in these instruction manuals.
The user is responsible for all damage caused by non-observance of the safety precautions, operating and maintenance instructions. This includes in particular:
- Alterations or modifications to the product not approved by STIHL.
- Using tools or accessories which are neither approved or suitable for the product or are of a poor quality.
- Using the product for purposes for which it was not designed.
- Using the product for sports or competitive events.
- Consequential damage caused by continuing to use the product with defective components.
Maintenance Work
All the operations described in the chapter on “Maintenance and Care” must be performed on a regular basis. If these maintenance operations cannot be performed by the owner, they should be performed by a servicing dealer.
STIHL recommends that you have servicing and repair work carried out exclusively by an authorized STIHL servicing dealer. STIHL dealers are regularly given the opportunity to attend training courses and are supplied with the necessary technical information.
If these maintenance operations are not carried out as specified, the user assumes responsibility for any damage that may occur. Among other parts, this includes:
- Corrosion and other consequential damage resulting from improper storage.
- Damage to the product resulting from the use of poor quality replacement parts.
Parts Subject to Wear and Tear
Some parts of the power tool are subject to normal wear and tear even during regular operation in accordance with instructions and, depending on the type and duration of use, have to be replaced in good time. Among other parts, this includes:
- Blade
- Mounting hardware for blade
- Deflector
Main Parts

- Outer right-hand blade
- Inner right-hand blade
- Inner left-hand blade
- Outer left-hand blade
- Hitch pin
Specifications
Attachment
4 blades
Diameter: 230 mm
Working width: 200 mm
Weight
4 blades with hub: 2.0 kg
REACH
REACH is an EC regulation and stands for the Registration, Evaluation, Authorisation and Restriction of Chemical substances.
For information on compliance with the REACH regulation (EC) No. 1907/2006 see www.stihl.com/reach.
Maintenance and Repairs
Users of this machine may only carry out the maintenance and service work described in this user manual. All other repairs must be carried out by a servicing dealer.
STIHL recommends that you have servicing and repair work carried out exclusively by an authorized STIHL servicing dealer. STIHL dealers are regularly given the opportunity to attend training courses and are supplied with the necessary technical information.
When repairing the machine, only use replacement parts which have been approved by STIHL for this power tool or are technically identical. Only use highquality replacement parts in order to avoid the risk of accidents and damage to the machine.
STIHL recommends the use of original STIHL replacement parts.
Original STIHL parts can be identified by the STIHL part number, the
logo and the STIHL parts symbol
(the symbol may appear alone on small parts).
Disposal
Observe all country-specific waste disposal rules and regulations.

STIHL products must not be thrown in the garbage can. Take the product, accessories and packaging to an approved disposal site for environment friendly recycling.
Contact your STIHL servicing dealer for the latest information on waste disposal.
0458-482-0121-A
englisch
GB
















