SCHNEIDER SCDD309VB Vintage 2 Door Fridge Freezer 
SAFETY INSTRUCTION
Read all instructions before using the appliance. Read this manual carefully before using the machine so that you know exactly what to do and what not to do. Improper use of the appliance can be dangerous, especially for children. This device is intended for use in household applications. This device may be used by children of at least 8 years of age and by persons with reduced physical, sensory or mental capacities or without experience or knowledge, if (if they) are properly supervised. s or if they have been given instructions relating to the safe use of the device and if the risks involved have been understood. Children must not play with it the device. Cleaning and user maintenance shall not be made by children without supervision. Children should be supervised to ensure that they do not play with the appliance.
CAUTION: Keep the ventilation openings in the enclosure of the appliance or in the built-in structure clear.
CAUTION: Do not use mechanical devices or other means to accelerate the defrosting process other than those recommended by the manufacturer.
CAUTION: Do not damage the refrigeration circuit. CAUTION: Do not use electrical appliances inside the food storage compartment, unless they are of the type recommended by the manufacturer.
If the power cable is damaged, it must be replaced by the manufacturer, its after-sales service, or persons of similar qualification in order to avoid danger. Do not store explosive substances such as aerosols containing flammable propellants in this device.
- Before you throw away your appliance: remove the door and leave the shelves in place so that children cannot easily play inside.
- Never allow children to operate or play with the device.
- Never clean any parts of the appliance with flammable fluids. The fumes represent a fire hazard or can cause explosions.
- Do not store or use gasoline or other flammable gases or liquids in or near this appliance. Fumes can cause fire or explosion.
- Do not install this device in a place with extreme climatic conditions such as: insufficient ventilation, temperatures below 16 ° C or above 38 ° C
This product complies with current European safety standards for electrical devices. It has been subjected to long trials and meticulous tests to assess its safety and reliability. Before connecting the appliance, check that the data on the rating plate correspond to those for your installation. The packaging materials are recyclable, do not leave them in the environment, take them to a specialized center for recycling. The electrical safety of this device is guaranteed only when it is connected to an electrical installation equipped with a grounded plug-in in good condition, in accordance with the standards in force. If in doubt, have the installation checked carefully by a qualified technician. The use of this device, like that of any electrical device, involves observing certain fundamental rules:
- Do not touch the device with wet or damp hands or feet;
- Do not pull on the power cable to disconnect the plug from the outlet;
- Do not leave the device exposed to atmospheric agents;
- Do not allow the appliance to be used by children without supervision;
- Do not unplug or plug the plug into the outlet of current with wet hands; before carrying out any cleaning or maintenance operation, disconnect the appliance from the power supply by unplugging the plug or by turning off the main switch of the installation; The socket must remain accessible after device installation.
- In the event of a breakdown or malfunction, switch off the device and do not damage it. The power outlet must always remain accessible after the installation of the device.
WARNING: When positioning the machine, make sure that the power cord is not trapped or damaged.
WARNING: Do not place multiple socket outlets or portable power supplies on the back of the device. Children aged 3 to 8 are allowed to load and unload refrigeration devices. To avoid contamination of food, please observe the following instructions:
- The opening Prolonged time of the door can cause a significant increase in temperature in the compartments of the appliance.
- Clean up regular surfaces that may come into contact with food and accessible drainage systems.
- Store raw meat and fish in suitable containers in the refrigerator, so that they do not come into contact with and drip onto other foods.• The compartments two stars for frozen products are suitable for storing frozen food, storing or making ice cream, and making ice cubes.
- The one-, two- and three-star compartments are not suitable for freezing fresh food.
- If the refrigeration appliance is left empty for long periods of time, turn it off, defrost, clean, dry, and leave the door open to prevent mold growth in the appliance.
Place the device against a wall whose free distance does not exceed 75 mm and exceeds 50 mm. This refrigeration appliance is not intended for use as a built-in appliance. Recommended storage time for frozen foods in the freezer. These times vary depending on the type of food. Foods that you freeze can be stored for 1 to 12 months (minimum at -18 ° C).
| Food | Storage time |
| Bacon, casseroles, milk | 1 month |
| Bread, ice cream, sausages, pies, prepared shellfish, oily fish | 2 months |
| Non-oily fish, shellfish, pizza, scones, and muffins | 3 months |
| Ham, cakes, biscuits, beef and lamb chops, poultry pieces | 4 months |
| Butter, vegetables (blanched), eggs whole and yolks, cooked crayfish, minced meat (raw), pork (raw) | 6 months |
| Fruit (dry or in syrup), egg whites, beef (raw), whole chicken, lamb (raw), fruit cakes | 12 months |
When freezing fresh food with a “best before / best before / best date” date, you must freeze it before that date has expired. Check that the food has not already been frozen. This is because frozen foods that have thawed completely should not be refroze Once thawed, food should be eaten quickly.
- To avoid spoilage of food due to transfer of germs: Store unpackaged animal and plant products separately in drawers. This also applies to different kinds of meat.
- If food needs to be kept together for lack of space: wrap it.
- Never store fruits and vegetables on a balcony with meat or fish.
| Food | Storage period |
| Butter | 90 days |
| Hard cheese | 110 days |
| Milk | 7 days |
| Sausage, cold meats | 9 days |
| Meat | 7 days |
Refrigerant

Danger; fire hazard/ flammable materials
WARNING: When positioning the appliance, make sure that the power cord is not stuck or damaged.
WARNING: Do not place multiple socket outlets or portable power supplies on the back of the device.
The refrigerant gas contained in the circuit of this device is isobutane (R 600a), a low-polluting but flammable gas. When transporting and installing the appliance, take care not to damage any part of the refrigeration circuit. Do not use any sharp or pointed tools to defrost the unit. Do not use any electrical device inside the device. The LED lamp is not replaceable. Only an authorized technician can change the LED in the event of a fault. For instructions for installing the device, refer to the paragraph ‘Installation instructions’ below in the manual. For maintenance and cleaning of the device, refer to the paragraph ‘Maintenance and cleaning’
Replaceable light source (LED only) by a professional. This product contains two light sources of energy efficiency class G.
IMPORTANT STANDARDS, WARNINGS, AND RECOMMENDATIONS
This product complies with current European safety standards for electrical devices. It has been subjected to long trials and meticulous tests to assess its safety and reliability. Read this manual carefully before using the machine so that you know exactly what to do and what not to do. Improper use of the appliance may be dangerous, especially for children. Before connecting the appliance, check that the data on the rating plate correspond to those for your installation. The packaging materials are recyclable, do not leave them in the environment, take them to a specialized center for recycling. The electrical safety of this device is guaranteed only when it is connected to an electrical installation equipped with a grounded plug-in in good condition, in accordance with the standards in force. If in doubt, have the installation checked carefully by a qualified technician (law 46/90). The use of this device, like that of any electrical device, involves observing certain fundamental rules:
- If the power cable is damaged, it must be replaced by the manufacturer, its after-sales service, or similarly qualified persons in order to avoid any danger.
- Do not touch the appliance with wet or damp hands or feet;
- do not pull on the power cable to disconnect the plug from the outlet;
- do not leave the device exposed to atmospheric agents;
- do not allow the appliance to be used by children without supervision;
- do not unplug or insert the plug into the socket with wet hands; before carrying out any cleaning or maintenance operation, disconnect the appliance from the electricity supply by unplugging the plug or turning off the main switch of the installation; The socket must remain accessible after installation of the device.
- in the event of a breakdown or malfunction, switch off the appliance and do not damage it.
INSTRUCTIONS FOR USE
DEVICE IDENTIFICATION A nameplate is stuck on each appliance, behind the vegetable drawer
CHARACTERISTICS
The most important feature of this device is the Automatic defrosting of the refrigerator cell. The defrost water is conveyed to a tank placed on a compressor from where it evaporates with the heat generated during the refrigeration process.
WARNING!
When you install your refrigeration appliance, it is important to take into account the climatic class of the product. To find out which climate class your refrigerator belongs to, please check the data plate as shown below: The refrigeration appliance operates correctly within the ambient temperature range shown in the table, depending on the climate class.
| Class | Symbol | Average ambient temperature ° C |
| temperate enlarged | SN | from + 10 to + 32 |
| temperate | N | from + 16 to + 32 |
| subtropical | ST | from + 16 to + 38 |
| Tropical | T | from + 16 to + 43 |
ELECTRICAL CONNECTION
Check that the voltage values of the electrical network can withstand those indicated on the nameplate placed behind the refrigerator crisper If the outlet is not equipped with an earthed socket, or if the plug is not suitable for your network, we advise you to contact a specialized electrician.
Do not use adapters or taps to avoid heating and burning If the appliance is not equipped with an electrical outlet, it will have to be connected to the network by means of a switch which will be connected directly to the power supply terminals. This switch must guarantee a single-pole disconnection of the device with separation of the contacts of not less than 3 mm.
TECHNICAL ASSISTANCE
Before calling after-sales service, if the refrigerator is not in operation, check that the power plug is correctly inserted in the outlet and that the thermostat is not in position “0”; if the refrigerator makes noise, check the leveling and check that there is no object in contact with the rear wall; if the refrigerator is not performing sufficiently, check that the interior is not full, that the door closes and that the condenser is not full of dust. If there should be water in the lower part of the refrigerator (vegetable drawer and extractable top) check that the hole allowing the defrost water to flow is not blocked. The installation is the responsibility of the buyer. Our company is not responsible for damage due to improper installation and declines all responsibility in the event that the earth connection does not comply with the National Standards in force. At the end of the functional life of the device using R 600a refrigerant gas (isobutane) and flammable gas inside the insulating foam, the device must be set up in a safe state before it is scrapped. For information relating to this operation, contact your trusted dealer or the local body in charge.
CAUTION: Do not damage the refrigerant circuit.
PARTS AND FEATURES
- Freezer shelf
- Fan
- Thermostat and LED
- Shelves fridge
- Vegetable drawer top
- Vegetable drawer
- Adjustable feet
- Bottle shelf
- Intermediate shelves
- Upper balcony
In the drawing, the number of shelves are only indicative. The non-contractual document which may be subject to modifications
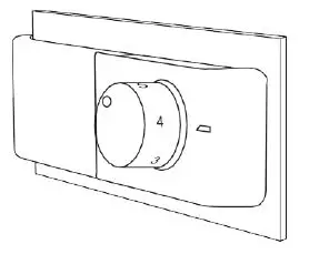
Using the thermostat:
- When you operate the refrigerator for the first time, set the thermostat to 5, plug in the power plug and let it run without putting any food. It should generally be left like this for 2 to 5 hours. Then set the thermostat as desired and place the food in the refrigerator.
- The refrigerator temperature can be adjusted by turning the thermostat knob. In general, it should be set to 5. If you set it higher, you increase the cooling capacity.
Recommended temperature setting: 5
Installation Instructions
- Make sure that the device remains upright during transport. Do not tilt the device more than 45 degrees when moving it. Do not exert pressure on the condenser, the door, and its handle to avoid deformations or disturbances to the functioning of the refrigerator.

- Make sure there is enough space around the refrigerator for it to function well. Allow a dozen cms of free space at the back and sides of the unit so that air can circulate to cool the compressor. Also, leave about thirty centimeters above it.
- Place the device away from direct sunlight and heat sources (stoves, heater, radiators, etc.). Direct sunlight can damage the acrylic coating and heat sources can increase electricity consumption. Extremely cold ambient temperatures can also cause malfunctions. Avoid placing the device in humid places. If there is too much humidity in the air, there will quickly be frost on the evaporator.

Place the device against a wall with a free distance not exceeding 50-75mm
For refrigeration devices with a climatic class:
- extended temperate (SN): this refrigeration appliance is intended for use at ambient temperatures between 10 ° C and 32 ° C;
- temperate (N): this refrigeration appliance is intended for use at ambient temperatures between 16 ° C and 32 ° C;
- subtropical (ST): this refrigeration appliance is intended for use at ambient temperatures between 16 ° C and 38 ° C;
- tropical (T): this refrigeration appliance is intended for use at ambient temperatures between 16 ° C and 43 ° C;
Meaning of the *-labeling of freezers
1- (*), 2- (**), and 3-stars (***) freezers are not suitable for freezing fresh food. 2-stars (**) and 3-stars (***) freezers are suitable for storing frozen food (pre-frozen) and ice or for making ice and ice cubes
| COMPARTMENTS | STARS (*) | TARGET STORAGE TEMPERATURE | SUITABLE FOOD |
| FREEZER | (***)* | ≤ -18 0C | Ø Suitable for seafood (fish, shrimps, shellfish), freshwater and meat products. Ø Recommended storage period: 3 months Suitable for freezing fresh food. |
| FREEZER | *** | ≤ -18 0C | Ø Suitable for seafood (fish, shrimps, shellfish), freshwater and meat products. Ø Recommended storage period: 3 months Not suitable for freezing fresh food. |
| FREEZER | ** | ≤ -12 0C | Ø Suitable for seafood (fish, shrimps, shellfish), freshwater and meat products. Ø Recommended storage period: 2 months Not suitable for freezing fresh food. |
| FREEZER | * | ≤ -6 0C | Ø Suitable for seafood (fish, shrimps, shellfish), freshwater and meat products. Ø Recommended storage period: 1 month Not suitable for freezing fresh food. |
| 0* – COMPARTMENT | – | -6 0C – 0 0C | Ø Suitable for fresh meat products (pork, beef, chicken, etc.) and processed food consumed or processed within the same day or within the next three days after storage (max.). Not suitable for freezing food or for storing frozen food. |
This product complies with the requirements imposed by directives 2014/35 / EU (repealing directive 73/23 / EEC amended by directive 93/68 / EEC) and 2014/30 / EU (repealing directive 89/336 / EEC)
Read all instructions before using the appliance
- Before throwing away your appliance: remove the door, leave the shelves in place so that children can not easily play indoors.
- Don’t let children never operate or play with the appliance.
- Never clean any parts of the appliance with flammable fluids. The fumes represent a fire hazard or can cause explosions.
- Do not store or use gasoline or other flammable gases or liquids near this appliance. Fumes can cause fire or explosion.
- Do not install this device in a location with extreme weather conditions such as insufficient ventilation, temperatures below 10 ° C or above 30 ° C
Cool zone
This is where you need to store foods that can be kept longer if you keep cool. Milk, yogurt, fruit juice, hard cheeses, e.g. cheddar. Bottles and other open jars of salad dressings, sauces and jams. Fat, e.g., butter, margarine, low fat spreads, fried foods and bacon. Eggs.
Coldest zone: 1 ° C to 5 ° C
This is where it is wrong to put the food that must be cold to be stored safely. security. More generally, it is any fresh product whose use-by date (DLC) is associated with a storage temperature less than or equal to + 4 ° C.
- Raw and uncooked foods should always be wrapped.
- Refrigerated precooked foods, e.g., ready-to-eat foods, meat pies, soft cheeses.
- Pre-cooked meats, for example, ham.
- Prepared salads (including mixed, chopped, pre-washed, prepackaged green salads, rice, potato salad, etc.).
- Desserts, for example, cream cheese, home-cooked food, and leftovers or cream cakes.
Salad tray
This is the wettest part of the Refrigerator. Vegetables, fruits, pieces of fresh salad, e.g., whole unwashed lettuce, whole tomatoes, radishes, etc. … WE RECOMMEND THAT ALL PRODUCTS PRESERVED IN THE SALAD CONTAINER BE PACKAGED.
REMARK :
ALWAYS PACK AND STORE RAW MEAT, CHICKEN, AND FISH ON THE LOWEST SHELF AT THE BOTTOM OF THE REFRIGERATOR. THIS WAY THEY WILL NOT DRAIN ON OR TOUCH OTHER FOODS. DO NOT STORE GAS OR FLAMMABLE LIQUID
Freezer Freezer shelf
- Store food in small portions
Note: Food packaging
Pack foods in portions that suit your needs. Portions of fruits and vegetables should not exceed 1 kg, those of meat can reach 2.5 kg. Small portions freeze faster and help preserve food quality better when defrosting and preparing meals. It is important to package foods in airtight bags or containers before placing them. freeze to prevent them from losing their taste or becoming dehydrated. Wrap the food, expel the air, and seal the bag or container tightly.
Appropriate packaging:
Plastic bags, stretch film, aluminum foil, and freezer trays. You can obtain this packaging from your usual traders.
Inappropriate packaging:
Wrapping paper, parchment or cellophane, garbage bags or bags that have already been used.
Suitable sealing devices:
Elastics, plastic clips, cords, ties for freezer bags or similar devices. Plastic films and bags can be sealed using a special iron or press.
Before placing the package in the freezer, affix a label with the description of the contents and the date of freezing.
Precautions
- Plug the machine into a properly installed and grounded proprietary wall outlet. Never cut or remove (for any reason) the third wire (ground) from the power cord. Any questions regarding power or grounding should be addressed to a licensed electrician or to a center authorized to work on this type of product.
Warning: If the grounded plug is used improperly, there may be a risk of electric shock. - The installation socket must always have an earth connection. If the current supply is not connected to the earth; you do not need to connect the device

- Do not throw water on the refrigerator: it can cause equipment failure or risk of electric shock.
- Do not store or use No gasoline or other flammable gases or liquids near this appliance. Fumes can cause fire or explosion.

Use:
- Before connecting the appliance to the electric current, let it stand for about two hours. This will reduce the risk of malfunction in the cooling system, due to handling during transport. Run your product about 2/3 hours before adding food.
CAUTION: To avoid a danger caused by instability of the device, the device must be installed and secured in accordance with the instructions in the installation manual. - Using the thermostat: To regulate the temperature in the refrigerator, turn the thermostat knob from right to left. The thermostat can be set to any position from “0” (off) to “7” (coldest). For normal use, please select the position “3-4”
- Do not put not too much food in the appliance. Do not open the door too often to maintain the indoor temperature and save electricity.
When the setting is 0, the device is turned off. When the setting is at the maximum, the compressor does not stop, the internal temperature may be -4 ℃ ~ 6 ℃.
Defrost:
In order to allow the device to function correctly, it is necessary to carry out defrost at least once a year or when the ice cover is greater than 10 mm. From time to time you can remove the layer of ice that has formed using a squeegee or other plastic instrument. NEVER USE A METAL OR AN ELECTRICAL DEVICE TO DEFROST.
Warnings :
- When defrosting, do not use never any sharp or metallic object to remove the ice on the surface of the evaporator so as not to damage the latter.
- Reconnect current again after more than 15 minutes.
To defrost:
To defrost the device, choose a period when your device is not overcharged. Remove all the food, place it in another refrigerator or in a very cool place. Set the thermostat to the off position (0), unplug the appliance and open the door. Once the frost has melted, remove the water and dry the interior of the refrigerator. Wait 15 minutes then reconnect the device. You can then restart the refrigerator by turning the thermostat to the desired setting.
CARE AND MAINTENANCE
- Cleaning your Refrigerator:
- Unplug the device
- Wash the inside with water hot and a baking soda solution. To do this, add about 1 to 2 tablespoons of baking soda to a quart of water.

- shelves and trays with a mild detergent solution. The exterior of the appliance should be cleaned with a mild detergent and warm water.
Never use acids, solvents, gasoline or similar products to clean the refrigerator, as they can damage the paint or the plastic parts of the appliance.

TROUBLESHOOTING GUIDE
- The refrigerator does not work, the light does not work:
- The device is not plugged in
- The switch is in the off position.
- The fridge is not cold enough:
- The thermostat temperature is not set correctly.
- The outdoor environment may require a higher setting.
- The door is opened too often, or the door is not fully closed.
- The door seal is not tight enough.
- There is not enough space between the appliance and the walls behind and to the sides.
- The refrigerator seems to make too much noise:
- The rustling may come from the refrigerant flow, which is normal.
- At the end of each cycle, you may hear a gurgling sound due to the flow of refrigerant through your appliance.
- The contraction and expansion of the interior walls can cause cracking and cracklings.
- The appliance is not level.
Notes:
Avoid placing the device in humid places. If there is too much humidity in the air, there will quickly be frost on the evaporator. During periods of high relative humidity, condensation may form on the surface of the refrigerator. It is not a malfunction. Clean the surface. If the refrigerator does not operate properly after all these checks, contact Technical Service without further delay. Keep the invoice or proof of purchase of the product to be able to use the warranty. For any questions during use, please contact your store.
ELIMINATION
This logo affixed to the product means that it is a device whose treatment as waste falls within the framework of directive 2012/19 / EU of January 4, 2012, relating to waste electrical and electronic equipment. (WEEE). The presence of hazardous substances in electrical and electronic equipment may have potential effects on the environment and human health in the reprocessing cycle of this product. Thus, at the end of the life of this device, it must not be disposed of with unsorted municipal waste. As an end consumer, your role is essential in the cycle of reuse, recycling, and other forms of recovery of this electrical and electronic equipment. Return and collection systems are made available to you by local authorities (waste reception centers) and distributors. You have the obligation to use the selective collection systems made available to you.
COLDEST ZONE IN THE REFRIGERATOR
The symbol opposite indicates the location of the coldest zone in your refrigerator. This zone is delimited at the bottom by the glass of the vegetable drawer, and at the top by the symbol or the shelf positioned at the same height. In order to guarantee the temperatures in this zone, take care not to modify the positioning of this shelf. In forced-air refrigerators (equipped with a fan or No Frost models), the symbol of the coldest zone is not shown because the temperature inside them is homogeneous.
TEMPERATURE INDICATOR INSTALLATION
To help you adjust your refrigerator properly, it is equipped with a temperature indicator that will allow you to control the average temperature in the coldest zone. CAUTION: This indicator is intended to work only with your refrigerator, be careful not to use it in another refrigerator (in fact, the coldest zone is not the same), or for any other use.
CHECKING THE TEMPERATURE IN THE COLDEST ZONE
Thanks to the temperature indicator, you can regularly check that the temperature of the coldest area is correct. Indeed, the temperature inside the refrigerator depends on several factors such as the ambient temperature of the room, the quantity of foodstuffs stored, the frequency of opening of the door. Take these factors into consideration when setting up the device. When the indicator shows “OK”, it means that your thermostat is correctly adjusted and that the indoor temperature is correct. If the color of the indicator is white, it means that the temperature is too high, in this case, it is necessary to increase the thermostat setting and wait 12 hours to carry out a visual check of the indicator again. After loading or opening the door, the indicator may turn white after a few moments.

Tips – Energy savings
- Install the appliance in a cool, dry, and adequately ventilated room.
- Take care not to expose the device to direct sunlight and never place it near a direct source of heat (near a radiator, for example).
- Never block the appliance’s ventilation openings or grids. Let food cool before placing it in the appliance.
- Place frozen products in the refrigerator to thaw them.
- The low temperature of frozen food will help cool the food in the refrigerator
- Defrost the freezer when ice has collected. A thick layer of ice may impair the transfer of cold to frozen products and thus increase the energy consumption of the appliance.
- Do not leave the appliance doors open for too long when storing or removing food from the appliance.
- Less ice will form in the freezer if you leave the door open for as little time as possible.
ENERGY LABELING REGULATION DATA SHEET: 2019/2016 / EU
The product information sheet according to EU regulation n ° 2019/2016 The energy labeling of refrigerating appliances can be found under the URL or QR code indicated on the energy label
SCDD309VB – URL: https://eprel.ec.europa.eu/qr/503469
SCDD309VR – URL: https://eprel.ec.europa.eu/qr/503479
SCDD309VCR – URL:https://eprel.ec.europa.eu/qr/503474
SCDD309VWR – URL: https://eprel.ec.europa.eu/qr/503481
Relationship between the energy label 1060/2010 / EU and the new energy label 2019/2016 / EU
The current 1060/2010 / EU label uses the less efficient A + ++ / D labeling system. The mixed scale of the label with many ” + ” is no longer transparent and the majority of products are already in the first 2 to 3 classes today. Therefore, the European Union has revised and optimized the label according to the needs of users. The new energy label 2019/2016 / EU will only contain energy classes A to G. Class levels will be regularly updated.
GUARANTEE
The warranty does not cover product wear parts, problems or damage resulting from:
- surface deterioration due to normal wear and tear of the product;
- defects or deterioration due to contact of the product with liquids and due to corrosion caused by rust or the presence of insects;
- any incident, unauthorized abuse, misuse, modification, disassembly or repair;
- any improper maintenance operation, use not in accordance with the product instructions or connection to an incorrect voltage;
- any use of accessories not supplied or approved by the manufacturer. The warranty will be void if the nameplate and / or product number is removed.
Product warranty and spare parts available
Under the terms of the manufacturer’s warranty applicable to the location, use of the Service is free. The minimum warranty period (manufacturer’s warranty for private consumers) in the European Economic Area is 2 years according to the warranty terms applicable to the place. The warranty conditions do not affect any other rights or claims held by you under local law. Detailed information on the warranty period and country warranty conditions are available from customer service, your dealer or our Original spare parts functional according to the corresponding Eco-design Directive can be obtained from customer service for a period of at least from the date your device is placed on the market in the European Economic Area. For more technical specifications on the repair agent and to order replacement parts, please visit: https://www.schneiderconsumer.com
Imported by SCHNEIDER CONSUMER GROUP
12, rue Jules Ferry, 93110 Rosny-sous-Bois, FRANCE
www.schneiderconsumer.com



























