CROSLEY XRE18GGABB Top Freezer Refrigerator
Installation Instructions For All XRS and XRE Models
BEFORE YOU BEGIN
Read these instructions completely and carefully.
- IMPORTANT – Save these instructions for the local inspector’s use.
- IMPORTANT – Observe all governing codes and ordinances.
- Note to Installer – Be sure to leave these instructions with the Consumer.
- Note to Consumer – Keep these instructions for future reference.
- Skill level – Installation of this appliance requires basic mechanical skills.
- Completion time – Refrigerator Installation
- 15 minutes
- Reversing the Door
- Swing 15 minutes
- Proper installation is the responsibility of the installer.
- Product failure due to improper installation is not covered under the Warranty.
WATER SUPPLY TO THE ICE
MAKER (on some models)
If the refrigerator has an ice maker, it will have to be connected to a cold water line. A water supply kit (containing copper tubing, shutoff valve, fittings and instructions) is available at extra cost from your dealer, by visiting GEAppliances.com, or from Parts and Accessories, at 1.877.959.8688. See instructions for Installing the Water Line.
REFRIGERATOR LOCATION
- Do not install the refrigerator where the temperature will go below 55°F (12.7°C) because it will not run often enough to maintain proper temperatures. Models with adjustable control in the freezer compartment can be installed at temperatures at, but not below, 38°F (3.3°C).
- Do not install the refrigerator where the temperature will go above 110°F (43.3°C) because it will not perform properly.
- Do not install the refrigerator in a location exposed to water (rain, etc.) or direct sunlight.
- Install it on a floor strong enough to support it fully loaded.
CLEARANCES
Allow the following clearances for ease of installation, proper air circulation and plumbing and electrical connections.
- Sides 3/4” (19 mm) on 16 & 18 cuft models
- Sides 1/8” (3 mm) on 22 cuft models
- Top 1” (25 mm)
- Back 1” (25 mm) on 16 cuft models
- Back 2″ (50 mm) on 18 & 22 cuft models
ROLLERS AND LEVELING LEGS
Leveling legs near each front corner of the refrigerator are adjustable. They firmly position the refrigerator and prevent it from moving when the doors are opened. Leveling legs should be set so the front of the refrigerator is raised just enough that the doors close easily when opened about halfway.
Turn the leveling legs clockwise to raise the refrigerator, and counterclockwise to lower it.
Rollers next to the leveling legs allow you to move the refrigerator away from the wall for cleaning.
Turn the legs counterclockwise until the weight of the refrigerator is transferred from them to the rollers. After rolling the refrigerator back into place, turn the legs clockwise until the legs again bear the weight of the refrigerator.
Installation Instructions
INSTALLING THE WATER LINE (on some models)
BEFORE YOU BEGIN
Recommended copper water supply kits are WX8X2, WX8X3 or WX8X4, depending on the amount of tubing you need. Approved plastic water supply lines are SmartConnect™ Refrigerator Tubing
(WX08X10006, WX08X10015 and WX08X10025).
When connecting your refrigerator to a GE Appliances Reverse Osmosis Water System, the only approved installation is with a GE Appliances RVKit. For other reverse osmosis water systems, follow the manufacturer’s recommendations.
This water line installation is not warranted by the refrigerator or ice maker manufacturer. Follow these instructions carefully to minimize the risk of expensive water damage.
Water hammer (water banging in the pipes) in house plumbing can cause damage to refrigerator parts and lead to water leakage or flooding. Call a qualified plumber to correct water hammer before installing the water supply line to the refrigerator.
To prevent burns and product damage, do not hook up the water line to the hot water line.
If you use your refrigerator before connecting the water line, make sure the ice maker power switch
is in the OFF position (on power switch models) or operating arm is in OFF position.
Do not install the ice maker tubing in areas where temperatures fall below freezing.
When using any electrical device (such as a power drill) during installation, be sure the device is double insulated or grounded in a manner to prevent the hazard of electric shock, or is battery powered.
All installations must be in accordance with local plumbing code requirements.
WARNING: Connect to potable water supply only.
WHAT YOU WILL NEED
- Copper or SmartConnect™ Refrigerator Tubing kit, 1/4” outer diameter to connect the refrigerator to the water supply. If using copper, be sure both ends of the tubing are cut square.
To determine how much tubing you need: measure the distance from the water valve on the back of the refrigerator to the water supply pipe. Then add 6’
(1.8 m). Be sure there is sufficient extra tubing (about 6’ [1.8 m] coiled into 2 turns of about 10” [25 cm] diameter) to allow the refrigerator to move out from the wall after installation.
SmartConnect™ Refrigerator Tubing Kits are available in the following lengths:
- 8’ (2.4 m) – WX08X10006
- 15’ (4.6 m) – WX08X10015
- 25’ (7.6) m) – WX08X10025
- Be sure that the kit you select allows at least 6’ (1.8 m) as described above.
NOTE: The only Crosley-approved plastic tubing is supplied in GE Appliances SmartConnect™ Refrigerator Tubing kits. Do not use any other plastic water supply line because the line is under pressure at all times. Certain types of plastic will crack or rupture with age and cause water damage to your home.
- AGE Appliances water supply kit (containing tubing, shutoff valve and fittings listed below) is available at extra cost from your dealer or from Parts and Accessories, 877.959.8688.
- A cold water supply. The water pressure must be between 20 and 120 psi (138 – 827 kilopascals) on models without a water filter and between 40 and 120 psi (275 – 827 kilopascals) on models with a water filter.
- Power drill.

- 1/2” or adjustable wrench.
- Straight and Phillips blade screwdriver.
- Two 1/4” outer diameter compression nuts and 2 ferrules (sleeves)—to connect the copper tubing to the shutoff valve and the refrigerator water valve.
OR
- If you are using a SmartConnect™ Refrigerator Tubing kit, the necessary fittings are preassembled to the tubing.
- If your existing copper water line has a flared fitting at the end, you will need an adapter (available at plumbing supply stores) to connect the water line to the refrigerator OR you can cut off the flared fitting with a tube cutter and then use a compression fitting. Do not cut formed end from SmartConnect™ Refrigerator tubing.
- Shutoff valve to connect to the cold water line. The shutoff valve should have a water inlet with a minimum inside diameter of 5/32” at the point of connection to the COLD WATER LINE. Saddle-type shutoff valves are included in many water supply kits. Before purchasing, make sure a saddle-type valve complies with your local plumbing codes.

BEFORE YOU BEGIN
Read these instructions completely and carefully.
WARNING To reduce the risk of electric shock or injury during installation, you must first unplug the refrigerator before proceeding.
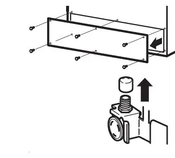
- SHUT OFF THE MAIN WATER SUPPLY AND UNPLUG THE REFRIGERATOR
Turn on the nearest faucet (counterclockwise) long enough to clear the line of water. - CHOOSE THE VALVE LOCATION
Choose a location for the valve that is easily accessible. It is best to connect into the side of a vertical water pipe. When it is necessary to connect into a horizontal water pipe, make the connection to the top or side, rather than at the bottom, to avoid drawing off any sediment from the water pipe.
- DRILL THE HOLE FOR THE VALVE
Drill a 1/4” hole in the water pipe (even if using a self-piercing valve), using a sharp bit. Remove any burrs resulting from drilling the hole in the pipe. Take care not to allow water to drain into the drill. Failure to drill a 1/4” hole may result in reduced ice production or smaller cubes.
- FASTEN THE SHUTOFF VALVE
Fasten the shutoff valve to the cold water pipe with the pipe clamp.
Tighten the clamp screws until the sealing washer begins to swell.
NOTE: Do not overtighten or you may crush the tubing.
NOTE: Commonwealth of Massachusetts Plumbing Codes 248CMR shall be adhered to. Saddle valves are illegal and use is not permitted in Massachusetts. Consult with your licensed plumber. - ROUTE THE TUBING
Route the tubing between the cold water line and the refrigerator.
Route the tubing through a hole drilled in the wall or floor (behind the refrigerator or adjacent base cabinet) as close to the wall as possible.
NOTE: Be sure there is sufficient extra tubing (about 6 feet [1.82 m] coiled into 2 turns of about 10” [25 cm] diameter) to allow the refrigerator to move out from the wall after installation. - CONNECT THE TUBING TO THE VALVE
Place the compression nut and ferrule (sleeve) for copper tubing onto the end of the tubing and connect it to the shutoff valve.
Make sure the tubing is fully inserted into the valve. Tighten the compression nut securely.
For plastic tubing from a SmartConnect™ Refrigerator Tubing kit, insert the molded end of the tubing into the shutoff valve and tighten compression nut until it is hand tight, then tighten one additional turn with a wrench. Overtightening may cause leaks.
NOTE: Commonwealth of Massachusetts Plumbing Codes 248CMR shall be adhered to. Saddle valves are illegal and use is not permitted in Massachusetts. Consult with your licensed plumber. - FLUSH OUT THE TUBING
Turn the main water supply on (counterclockwise) and flush out the tubing until the water is clear.
Shut the water off at the water valve after about one quart (1 liter) of water has been flushed through the tubing.
- CONNECT THE TUBING TO THE REFRIGERATOR
NOTES:- Before making the connection to the refrigerator, be sure the refrigerator power cord is not plugged into the wall outlet.
- We recommend installing a water filter (GXRLQ, available on gewaterfilters.com or 877.959.8688) if your water supply has sand or particles that could clog the screen of the refrigerator’s water valve. Install it in the water line near the refrigerator. If using SmartConnect™ Refrigerator Tubing kit, you will need an additional tube (WX08X10002) to connect the filter. Do not cut plastic tube to install filter.
WARNING To reduce the risk of death or electric shock, you must follow these instructions:- Unplug the refrigerator before removing any panels.
- Do not damage any wiring while the panel is removed.
- Replace all parts and panels before plugging the refrigerator back in.
- Remove the access cover.

- Remove the plastic flexible or screw cap from the water valve (refrigerator connection) and discard.
- Place the compression nut and ferrule (sleeve) onto the end of the tubing as shown. On SmartConnect™ Refrigerator Tubing kit, the nuts are already assembled to the tubing.
- Insert the end of the tubing into the water valve connection as far as possible. While holding the tubing, tighten the fitting.
- For plastic tubing from a SmartConnect™ Refrigerator Tubing kit, insert the molded end of the tubing into the shutoff valve and tighten compression nut until it is hand tight, then tighten one additional turn with a wrench. Overtightening may cause leaks.
- Fasten the tubing into the clamp provided to hold it in a vertical position. You may need to pry open the clamp.
WARNING: ELECTRIC SHOCK HAZARD
Attach tubing clamp using existing hole only. DO NOT drill into the refrigerator.
- TURN THE WATER ON AT THE SHUTOFF VALVE
Tighten any connections that leak.
- INSTALLING THE REFRIGERATOR
Plug in the refrigerator.
Arrange the coil of tubing so that it does not vibrate against the back of the refrigerator or against the wall. Push the refrigerator back to the wall.
- START THE ICE MAKER
Set the ice maker power switch to the 0N position. The ice maker will not begin to operate until it reaches its operating temperature of 15°F (–9°C) or below. It will then begin operation automatically.
INSTALLING THE DOOR HANDLE
- PLASTIC HANDLE
Install the handle fastener into the hole on the freezer and fresh food doors. The fasteners correspond with the handle side (the side opposite the hinge).
- STAINLESS STEEL HANDLE
Attach plastic bushing to the door with the screw on both freezer and fresh food doors. The fasteners correspond with the handle side (the side opposite the hinge).
- HANDLE INSTALLATION
- Attach handle to freezer door by sliding handle up onto plastic bushing or fastener with the screws at the bottom of the handle.
- Attach handle to fresh food door by sliding handle down onto plastic bushing or fastener with the screws at top of handle.
NOTE: Be sure to remove film before handle installation, if applicable)
- BADGE AND PLUG BUTTON INSTALLATION
- Place a plug button on the opposite side of the fresh food door across from the handle.
- Remove the backing on the Crosley badge and carefully place it covering the hole opposite the handle on the freezer door. Be sure the badge is oriented the correct way before applying it to the door.

REVERSING THE DOOR SWING
WARNING Follow all steps when reversing the door swing. Failure to follow these instructions, leaving off parts, or overtightening screws, can lead to the door falling off and result in injury and property damage.
IMPORTANT NOTES:
When reversing the door swing:
- Read the instructions all the way through before starting.
- Handle parts carefully to avoid scratching paint.
- Set screws down by their related parts to avoid losing them.
- Provide a non-scratching work surface for the doors.
IMPORTANT: Once you begin, do not move the cabinet until door-swing reversal is completed.
These instructions are for changing the hinges from the right side to the left side—if you ever want to change the hinges back to the right side, follow these same instructions and reverse all references to left and right.
CAUTION: Lifting Hazard
The fresh food and freezer doors are heavy Use both hands to secure the doors before lifting.
TOOLS REQUIRED
- BEFORE YOU START
- Unplug the refrigerator from its electrical outlet.
- Empty all door shelves, including the dairy compartment.
CAUTION: Do not let either door drop to the floor. To do so could damage the door stop.
- REMOVE THE FREEZER DOOR
- Tape the door shut with masking tape.

- Remove the screws that hold the top hinge to the cabinet.

- Lift the hinge straight up to free the hinge pin from the socket in the top of the door and set it aside, along with its screws.

- Remove the tape.
Lift it off the center hinge pin. - Set the door on a non-scratching surface with the outside up.
- Transfer the 2 screws from the opposite side of the cabinet to the screw holes vacated by the top hinge removal.

WARNING Follow all steps when reversing the door swing. Failure to follow these instructions, leaving off parts, or overtightening screws, can lead to the door falling off and result in injury and property damage.
- Tape the door shut with masking tape.
- REMOVE THE FRESH FOOD DOOR
- Tape the door shut with masking tape.

- Unscrew the center hinge pin and remove it from its socket. Be careful not to lose the center hinge and washer.

- Remove the tape and tilt the door away from the cabinet. Lift the door from the pin in the bottom hinge. (If the plastic washer sticks to the door bottom, put it back on the hinge.)
- Set the door outside-up on a non-scratching surface.

- Tape the door shut with masking tape.
- REVERSING THE HARDWARE
- Interchange the hinge and screws at top right with screws at top left of cabinet. Do not tighten screws on hinge side.
NOTE: Some hinges have 4 holes. Which holes you use for installing depends on which side you install the hinge.
The outer edge of the hinge should be parallel to the edge of the case for correct installation.
- Remove the three screws holding the center hinge to the cabinet.
- Transfer the three screws from the opposite side of the cabinet to the screw holes vacated by the center hinge removal.

- Reattach the center hinge with all three screws on the left side of the cabinet.
NOTE: The center hinge must be turned over as shown when mounted on the left side.
- Remove the screws holding the bottom hinge to the cabinet. Move the bottom hinge from the right to left side of the cabinet. Switch the hinge pin to the opposite side of the hinge and reinsert the screws.

- Interchange the hinge and screws at top right with screws at top left of cabinet. Do not tighten screws on hinge side.
- REVERSING THE DOOR HANDLES
- Remove handle screws from the top of fresh food door. Remove handle screws from the bottom of freezer door.
- Remove door handle on fresh food door by sliding the handle up off of the fastener (Plastic Handle) or plastic bushing (Stainless Steel Handle). Remove door handle on freezer door by sliding the handle down off of the fastener (Plastic Handle) or plastic bushing (Stainless Steel Handle).

- Change places between the handle fastener or plastic bushing and plug button on door front.
- Move the plug buttons on top and front of the door to fill the now vacant holes.
- Transfer the door stop on the bottom of the door.
- Attach handle to fresh food door by sliding handle down onto fastener (Plastic Handle) or plastic bushing (Stainless Steel handle) and with screws at top of handle.
- Attach handle to freezer door by sliding handle up onto fastener (Plastic Handle) or plastic bushing (Stainless Steel handle) and with screws at bottom of handle.
- Attach badge on freezer door opposite the handle.

- RE-HANGING THE DOORS
- Re-hang the fresh food door
- Lower the fresh food door onto the bottom hinge pin. Be sure the washer is in place on the pin.

- Tilt the door towards the cabinet. As the door is brought into position, align the socket in the door with the hole in the center hinge. Place the center hinge pin into the hole in the center hinge and tighten. Make sure the washer is on the top of the hinge pin.

- Lower the fresh food door onto the bottom hinge pin. Be sure the washer is in place on the pin.
- Re-hang the freezer door
- Lower the freezer door onto the center hinge pin. Be sure the washer is in place on the pin.

- Tilt the door towards the cabinet, lifting the top hinge so the pin fits into the socket on the top of the door.
- Make sure the door is slightly above the top of the cabinet and the gap between the doors is even across the front. Tighten the top hinge screws. Do not over-tighten these screws. Tighten them until they are just snug, and then turn them another one-half turn.

- Lower the freezer door onto the center hinge pin. Be sure the washer is in place on the pin.
- Re-hang the fresh food door
Installation Instructions For All XRS and XRE Models












NOTE: Be sure to remove film before handle installation, if applicable)

































