STIHL KM 94 R Multi-Task Tool

KombiSystem
In the STIHL KombiSystem a number of different KombiEngines and KombiTools can be combined to produce a power tool. In this instruction manual the functional unit formed by the KombiEngine and KombiTool is referred to as the power tool.
Therefore, the separate instruction manuals for the KombiEngine and KombiTool should be used together for the power tool.
Always read and and make sure you understand both instruction manuals before using your power tool for the first time and keep them in a safe place for future reference.
Safety Precautions and Working Techniques
Special safety precautions must be observed when working with a power tool.
Always read and and make sure you understand both instruction manuals (KombiMotor and KombiTool) before using your power tool for the first time and keep them in a safe place for future reference. Non-observance of the safety precautions may result in serious or even fatal injury.
Observe all applicable local safety regulations, standards and ordinances.
If you have not used this type of power tool before: Have your dealer or other experienced user show you how it is operated or attend a special course in its operation.
Minors should never be allowed to use a power tool.
Keep bystanders, especially children, and animals away from the work area.
When the power tool is not in use, shut it off so that it does not endanger others. Secure it against unauthorized use.
The user is responsible for avoiding injury to third parties or damage to their property.
Lend or rent your power tool only to persons who are familiar with this model and its operation – do not lend your power tool without the KombiMotor and KombiTool instruction manuals.
The use of noise emitting power tools may be restricted to certain times by national or local regulations.
To operate the power tool you must be rested, in good physical condition and mental health.
If you have any condition that might be aggravated by strenuous work, check with your doctor before operating a power tool.
Persons with pacemakers only: The ignition system of your power tool produces an electromagnetic field of a very low intensity. This field may interfere with some pacemakers. STIHL recommends that persons with pacemakers consult their physician and the pacemaker manufacturer to reduce any health risk.
Do not operate the power tool if you are under the influence of any substance (drugs, alcohol) which might impair vision, dexterity or judgment.
Use your power tool only for the applications described in the instruction manual of the Kombi‐Tool you are using.
Do not use your power tool for any other purpose because of the increased risk of accidents.
Do not operate the KombiEngine without a prop‐erly mounted KombiTool since this may result in damage to the machine.
Only use KombiTools and accessories that are explicitly approved for this power tool by STIHL or are technically identical. It is important that you read the chapter on “Approved KombiTools”. If you have any questions in this respect, consult a servicing dealer. Use only high quality tools and accessories in order to avoid the risk of acci‐dents and damage to the machine.
STIHL recommends the use of genuine STIHL tools and accessories. They are specifically designed to match the product and meet your performance requirements.
Never attempt to modify your power tool in any way since this may increase the risk of personal injury. STIHL excludes all liability for personal injury and damage to property caused while using unauthorized attachments.
Do not use a pressure washer to clean your power tool. The solid jet of water may damage parts of the power tool.
Clothing and Equipment
Wear proper protective clothing and equipment.
Avoid clothing that could get caught on branches or brush or moving parts of the machine. Do not wear a scarf, necktie or jewelry. Tie up long hair so that it is above shoulder level.
See also notes on “Clothing and Equipment” in the instruction manual of the KombiTool you are using.
Transporting the Power Tool

Always shut off the engine.
Transporting by vehicle: Properly secure your power tool to prevent turnover, fuel spillage and damage.
See also notes on “Transporting the Machine” in the instruction manual of the KombiTool you are using.
Fueling
Gasoline is an extremely flammable fuel. Keep clear of naked flames. Do not spill any fuel – do not smoke.
Always shut off the engine before refueling.
Do not fuel a hot engine – fuel may spill and cause a fire.
Open the fuel cap carefully to allow any pressure build-up in the tank to release slowly and avoid fuel spillage.
Fuel your power tool only in well-ventilated areas. If you spill fuel, wipe the machine immediately – if fuel gets on your clothing, change immediately.
After fueling, tighten down the fuel tank cap as securely as possible.
This reduces the risk of unit vibrations causing the fuel cap to loosen or come off and spill quantities of fuel.
To reduce the risk of serious or fatal burn injuries, check for fuel leakage. If fuel leak is found, do not start the engine.
Before Starting
Check that your power tool is properly assembled and in good condition – refer to appropriate chapters in the instruction manuals.
- Check the fuel system for leaks, paying special attention to visible parts such as the tank cap, hose connections and the manual fuel pump (on machines so equipped). If there are any leaks or damage, do not start the engine – risk of fire. Have your machine repaired by a servicing dealer before using it again.
- Use only an approved combination of cutting attachment, deflector, handle and harness. All parts must be assembled properly and securely.
- The stop switch must move freely.
- Smooth action of choke knob, throttle trigger lockout and throttle trigger – the throttle trigger must return automatically to the idle position. The choke knob must spring back from the g position to the run position F when the throttle trigger lockout and throttle trigger are squeezed.
- Check that the spark plug boot is secure – a loose boot may cause arcing that could ignite combustible fumes and cause a fire.
- Never attempt to modify the controls or safety devices in any way.
- Keep the handles dry and clean – free from oil and dirt – for safe control of the power tool.
- Adjust harness and handle to suit your height and reach.
To reduce the risk of accidents, operate your power tool only if it is in a safe condition.
If you use a shoulder strap or full harness: Practice removing and putting down the machine as you would in an emergency. To avoid damage, do not throw the machine to the ground when practicing.
See also notes on “Before Starting” in the instruction manual of the KombiTool you are using.
Starting the Engine
Start the engine at least 3 meters from the fueling spot, outdoors only.
Place the unit on firm ground in an open area. Make sure you have good balance and secure footing. Hold the unit securely. The attachment must be clear of the ground and all other obstructions because it may begin to run when the engine starts.
To reduce the risk of injury, avoid contact with the attachment.
Do not drop start the power tool – start the engine as described in the instruction manual. Note that the attachment continues to run for a short period after you let go of the throttle trigger – flywheel effect.
Check idle speed setting: The attachment must be stationary when the engine is idling with the throttle trigger released.
To reduce the risk of fire, keep hot exhaust gases and hot muffler away from easily combustible materials (e.g. wood chips, bark, dry grass, fuel).
See also notes on “Starting / Stopping the Engine” in the instruction manual of the Kombi‐Tool you are using.
Holding and Controlling the Power Tool
Always hold the power tool firmly with both hands on the handles.
Make sure you always have good balance and secure footing.

Left hand on loop handle, right hand on control handle, even if you are left-handed.
On the HT‑KM KombiTool, use the handle hose as the left handle.
During Operation
In the event of impending danger or in an emergency, switch off the engine immediately – move the stop switch in the direction of 0.
The correct engine idle speed is important to ensure that the attachment stops moving when you let go of the throttle trigger.
Check and correct the idle speed setting regularly. If the attachment continues to run when the engine is idling, have your dealer check the machine and make proper adjustments or repairs. STIHL recommends an authorized STIHL servicing dealer.
Be particularly alert and cautious when wearing hearing protection because your ability to hear warnings (shouts, alarms, etc.) is restricted.
To reduce the risk of accidents, take a break in good time to avoid tiredness or exhaustion.
Work calmly and carefully – in daylight conditions and only when visibility is good. Stay alert so as not to endanger others.
Use your power tool only for those applications described in the KombiTool instruction manual.
Your power tool produces toxic exhaust fumes as soon as the engine is running. These fumes may be colorless and odorless and contain unburned hydrocarbons and benzene. Never operate the power tool in enclosed or poorly ventilated locations.
To reduce the risk of serious or fatal injury from breathing toxic fumes, ensure proper ventilation when working in trenches, hollows or other con‐fined locations.
To reduce the risk of accidents, stop work immediately in the event of nausea, headache, visual disturbances (e.g. reduced field of vision), problems with hearing, dizziness, deterioration in ability to concentrate. Apart from other possibilities, these symptoms may be caused by an excessively high concentration of exhaust gases in the work area.
Operate your power tool so that it produces a minimum of noise and emissions – do not run the engine unnecessarily, accelerate the engine only when working.
To reduce the risk of fire, do not smoke while operating or standing near your power tool. Note that combustible fuel vapor may escape from the fuel system.
The dusts, vapor and smoke produced during operation may be dangerous to health. Wear a suitable respirator in very dusty or smoky conditions.
If your power tool is subjected to unusually high loads for which it was not designed (e.g. heavy impact or a fall), always check that it is in good condition before continuing work – see also “Before Starting”.
Check the fuel system in particular for leaks and make sure the safety devices are working properly. Do not continue operating your power tool if it is damaged. In case of doubt, consult your servicing dealer.
Before leaving the power tool unattended: Shut off the engine.
To reduce the risk of injury, always shut off the engine before changing the KombiTool or attachment.
Vibrations
Prolonged use of the power tool may result in vibration-induced circulation problems in the hands (whitefinger disease).
No general recommendation can be given for the length of usage because it depends on several factors.
The period of usage is prolonged by:
- Hand protection (wearing warm gloves)
- Work breaks
The period of usage is shortened by: - Any personal tendency to suffer from poor circulation (symptoms: frequently cold fingers, tingling sensations).
- Low outside temperatures.
- The force with which the handles are held (a tight grip restricts circulation).
Continual and regular users should monitor closely the condition of their hands and fingers. If any of the above symptoms appear (e.g. tingling sensation in fingers), seek medical advice.
Maintenance and Repairs
Service the machine regularly. Do not attempt any maintenance or repair work not described in the instruction manual. Have all other work per‐formed by a servicing dealer.
STIHL recommends that you have servicing and repair work carried out exclusively by an author‐ized STIHL servicing dealer. STIHL dealers are regularly given the opportunity to attend training courses and are supplied with the necessary technical information.
Only use high-quality replacement parts in order to avoid the risk of accidents and damage to the machine. If you have any questions in this respect, consult a servicing dealer.
STIHL recommends the use of original STIHL replacement parts. They are specifically designed to match your model and meet your performance requirements.
To reduce the risk of injury from unintentional engine startup, always shut off the engine and disconnect the spark plug boot before performing any repairs, maintenance or cleaning work. –Exception: Carburetor and idle speed adjustments.
Do not turn the engine over on the starter with the spark plug boot or spark plug removed since there is otherwise a risk of fire from uncontained sparking.
To reduce the risk of fire, do not service or store your machine near open flames.
Check the fuel filler cap for leaks at regular intervals.
Use only a spark plug of the type approved by STIHL and make sure it is in good condition – see “Specifications”.
Inspect the ignition lead (insulation in good condition, secure connection).
Check the condition of the muffler.
To reduce the risk of fire and damage to hearing, do not operate your machine if the muffler is damaged or missing.
Do not touch a hot muffler since burn injury will result.
Vibration behavior is influenced by the condition of the AV elements – check the AV elements at regular intervals.
Approved KombiTools
The following STIHL KombiTools may be mounted on the KombiMotor:
- KombiTool: Application
- FS-KM: Brushcutter with mowing head
- FS-KM¹: Brushcutter with grass cutting blade
- FSB‑KM: Brushcutter with mowing head
- RG-KM¹: Weeder
- HL-KM 145°: Long reach hedge trimmer, adjustable
- HL‑KM 0°: Long reach hedge trimmer
- FH-KM 145°: Power scythe
- BG‑KM: Blower
- HT‑KM: Pole pruner
- BF-KM: Cultivator
- FCB-KM: Edger
- FCS‑KM²: Edger
- SP-KM: Special Harvester
- KB‑KM: Bristle brush
- KW-KM: PowerSweep
¹ the barrier bar supplied with the machine must be used – see also “Mounting the Loop Handle”
² If the FCS-KM is used with the KM 94 R, a flexible shaft must be installed in place of the rigid shaft.
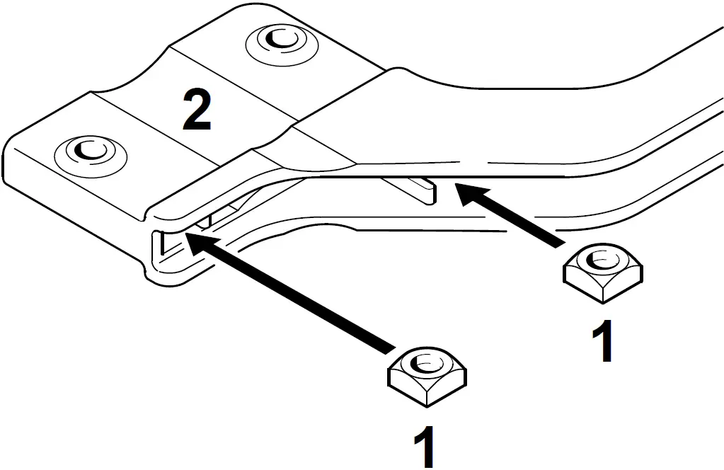
Mounting the Loop Handle
A barrier bar is supplied with the machine. Fit the barrier bar on the loop handle.

- Fit the square nuts (1) in the barrier bar (2); the holes must line up.

- Place the clamp (3) in the loop handle (4) and position them both against the drive tube (5).
- Position the clamp (6) against the drive tube.
- Place the barrier bar (2) in position as shown.
- Line up the holes.
- Insert the screws (7) in the holes and screw them into the barrier bar (2) as far as stop.
- Go to “Adjusting and Securing the Loop Handle”.
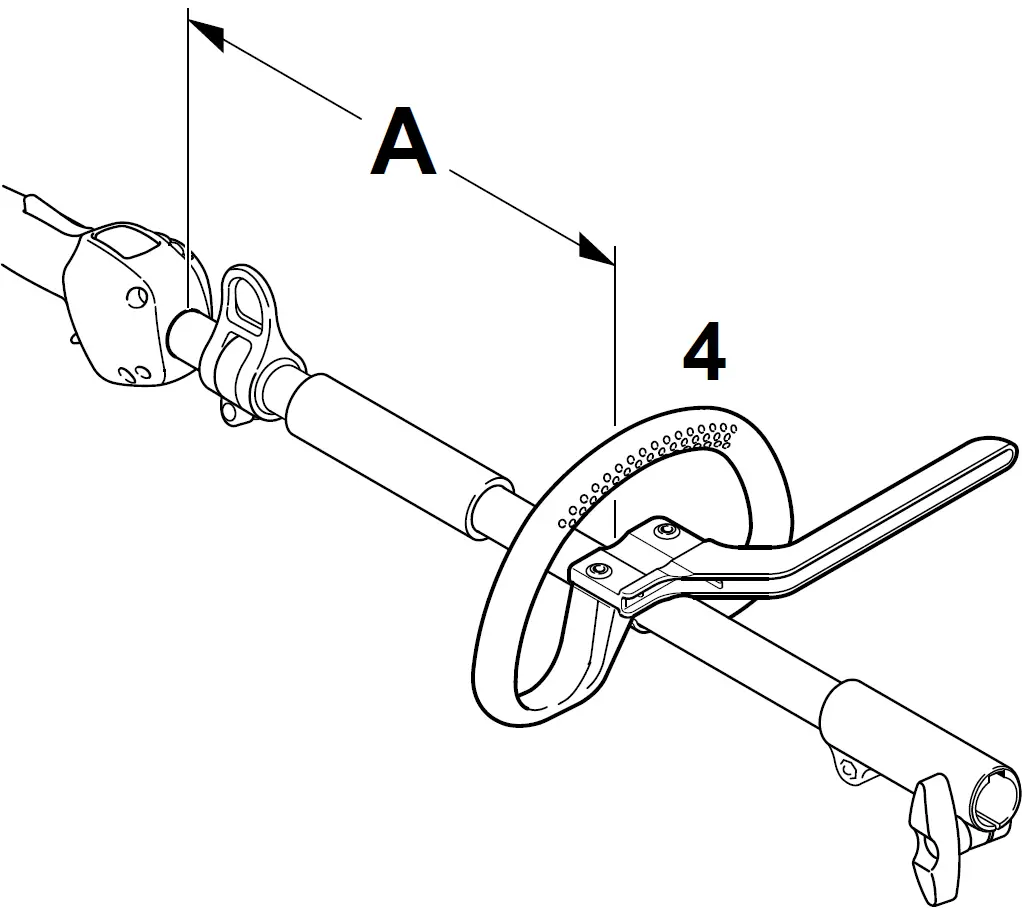
Adjusting and Securing the Loop Handle

The loop handle can be adjusted to suit the height and reach of the operator and the application by changing distance (A).
Recommendation: distance (A): about 22 cm (8.7 in)
- Slide the handle to the required position.
- Line up the loop handle (4).
- Tighten down the screws until the loop handle can no longer be rotated on the drive tube. If no barrier bar is fitted – lock the nuts if necessary.
Leave the barrier bar permanently mounted to the loop handle.
Fuel
The engine requires a mixture of gasoline and engine oil.
STIHL MotoMix
STIHL recommends using STIHL MotoMix. This pre-blended fuel is free of benzene and lead, is distinguished by a high octane rating, and always provides the proper mixing ratio.
STIHL MotoMix uses STIHL HP Ultra two-stroke engine oil for optimum engine life.
MotoMix is not available in all markets.
Mixing Fuel
NOTICE
Unsuitable fuels or a mixing ratio that deviates from the specification can lead to severe engine damage. The engine, seals, fuel lines and fuel tank may be damaged if low-quality gasoline or engine oil is used.
Gasoline
Use only high-quality gasoline with an octane rating of at least 90 ROC – leaded or unleaded.
Gasoline with an alcohol component exceeding 10% can cause impaired engine performance in engines with manually adjustable carburetors and thus should not be used in these engines.
Engines with M-Tronic deliver full engine performance using gasoline with an alcohol component of up to 27% (E27).
Engine Oil
If you mix the fuel yourself, use only STIHL two-stroke engine oil or another high-performance engine oil classified as JASO FB, JASO FC, JASO FD, ISO-L-EGB, ISO-L-EGC or ISO-L-EGD.
STIHL specifies STIHL HP Ultra two-stroke engine oil or an equivalent high-performance engine oil in order to maintain emission limits over the machine’s service life.
Mixing Ratio
with STIHL two-stroke engine oil 1:50; 1:50 = 1 part oil + 50 parts gasoline
- Pour oil into an approved safety fuel canister first, then add gasoline and mix thoroughly
Storing Fuel Mixture
Store in approved safety fuel canisters only in a dry, cool and secure place protected against light and sunlight.
Fuel mixture deteriorates with age – mix only as much as needed for a few weeks. Do not store fuel mixture for longer than 30 days. The fuel mixture can become unusable more quickly if exposed to light, sunlight or low or high temperatures.
STIHL MotoMix however can be stored for up to 5 years without any problems.
- Shake the canister containing the fuel mixture thoroughly before refueling
WARNING
Pressure may have built up in the canister – open it carefully.
- The fuel tank and the canister in which fuel mixture is stored should be cleaned thoroughly from time to time
Residual fuel and the liquid used for cleaning must be disposed of in accordance with regulations and without harming the environment!
Fueling
Fuel Filler Cap

- Place the machine on level ground so that the filler cap is facing up.
- Before fueling, clean the filler cap and the area around it to ensure that no dirt falls into the tank.
Open the Tank Cap

- Turn the cap counterclockwise until it can be removed from the tank opening.
- Remove the cap.
Filling up with Fuel
Take care not to spill fuel while fueling and do not overfill the tank.
STIHL recommends you use the STIHL filler nozzle for fuel (special accessory).
Close the Tank Cap

- Place the cap in the opening.
- Turn the cap clockwise as far as stop and tighten it down as firmly as possible by hand.
Starting / Stopping the Engine
Controls

- Throttle trigger lockout
- Throttle trigger
- Stop switch with Run and Stop positions.
Depress the stop switch to switch off the ignition – see “Function of Stop Switch and Ignition System”. - Throttle set wheel – limits travel of throttle trigger – see “Function of throttle set wheel”.
Function of Stop Switch and Ignition System
The ignition is switched off and the engine stopped when the stop switch is pressed. The stop switch returns automatically to the Run position when it is released: The ignition is switched on again after the engine stops – the engine is then ready to start.
Function of Throttle Set Wheel

The throttle set wheel (4) enables the travel of the throttle trigger to be preset anywhere between idle and full throttle.
- Turn throttle set wheel (4) in direction of – to reduce throttle trigger travel and maximum engine speed.
- Turn throttle set wheel (4) in direction of + to increase throttle trigger travel and maximum engine speed.
- It is possible to override the preset stop and open the throttle wide by pulling the throttle trigger firmly – the preset stop remains unaffected. The original setting is restored when the throttle trigger is released.
Starting the Engine

- Press the manual fuel pump bulb (5) at least five times – even if the bulb is already filled with fuel.
- Turn throttle set wheel in direction of + as far as stop.
Cold engine (cold start)

- Turn choke knob (6) and then push it.
Also use this setting if the engine has been running but is still cold.
Hot engine (hot start)
- Choke knob (6) remains in I position.
Cranking

- Place the power tool on the ground so that it rests on the machine support:
- If fitted: Remove the transport guard from the cutting attachment.
To reduce the risk of accidents, check that the working tool is not touching the ground or any other obstacles – see also “Starting / Stopping the Engine” in the KombiTool instruction manual.
- Make sure you have a firm footing, either standing, stooping or kneeling.
- Hold the unit firmly on the ground with your left hand and press down – do not touch the throttle trigger, lockout lever or stop switch.
Do not stand or kneel on the shaft.

- Hold the starter grip with your right hand.
- Pull the starter grip slowly and steadily.
- Do not let the starter grip snap back. Guide it slowly back into the housing so that the starter rope can rewind properly.
- Continue cranking until the engine runs.
As soon as the engine runs
At temperatures below +10°C
Warm up the engine for at least 10 seconds in position.
At temperatures above +10°C
Warm up the engine for at least 5 seconds in position.

- Depress throttle trigger lockout and pull the throttle trigger – the choke knob moves to the Run I position.
Warm up a cold engineat varying speeds.
Make sure the carburetor is correctly adjusted. The working tool must not rotate when the engine is idling.
Your machine is now ready for operation.
Stopping the Engine
- Depress the momentary contact stop switch –the engine stops – release the stop switch – it springs back to the run position.
Other Hints on Starting
Engine stalls in cold start position.
- Depress throttle trigger lockout and pull the throttle trigger – the choke knob moves to the run position I.
- Continue cranking in position I until the engine runs.
Running engine stalls in cold start position or under acceleration.
- Continue cranking in position I until the engine runs.
If the engine does not start
- Check that all settings are correct.
- Check that there is fuel in the tank and refuel if necessary.
- Check that the spark plug boot is properly connected.
- Repeat the starting procedure.
Fuel tank run until completely dry - After refueling, depress the manual fuel pump bulb at least five times – even if the bulb is already filled with fuel.
- Set the choke knob according to engine temperature.
- Now start the engine.
Operating Instructions
During Break-in Period
A factory-new machine should not be run at high revs (full throttle off load) for the first three tank fillings. This avoids unnecessary high loads during the break-in period. As all moving parts have to bed in during the break-in period, the frictional resistances in the engine are greater during this period. The engine develops its maximum power after about 5 to 15 tank fillings.
During Operation
After a long period of full throttle operation, allow the engine to run for a short while at idle speed so that engine heat can be dissipated by the flow of cooling air. This protects engine-mounted components (ignition, carburetor) from thermal overload.
After Finishing Work
Storing for a short period: Wait for the engine to cool down. Empty the fuel tank and keep the machine in a dry place, well away from sources of ignition, until you need it again. For longer out-of-service periods – see “Storing the Machine”.
Replacing the Air Filter
Do not remove the filter cover or replace the air filter as long as there is no noticeable loss of power.
If there is a noticeable loss of engine power

- Turn the choke knob to g.
- Take out the screws (1).
- Remove the filter cover (2).
- Clean away loose dirt from around the filter.
- Remove the filter element (3).
- Replace dirty or damaged filters.
- Replace any damaged parts.
- Fit the new air filter in the filter housing (4).
- Fit the filter cover.
- Fit the screws and tighten them down firmly.
Adjusting the Carburetor

The carburetor of the machine has been adjus‐ted for optimum performance and fuel efficiency in all operating states at the factory.
Setting the Idle Speed
Engine stops when idling
- Slowly turn idle speed screw (LA) clockwise until the engine runs smoothly – the working tool must not move along
Working tool turns when idling
- Turn the idle speed adjusting screw (LA) slowly counterclockwise until the working tool stops turning
WARNING
If the working tool continues to keep rotating in idle even after adjustment, have the power tool checked by a servicing dealer.
Spark Plug
- If the engine is down on power, difficult to start or runs poorly at idle speed, first check the spark plug.
- Fit a new spark plug after about 100 operating hours – or sooner if the electrodes are badly eroded. Install only suppressed spark plugs of the type approved by STIHL – see “Specifications”.
Removing the Spark Plug

- Turn screw (1) in cap (2) until cap can be removed
- Lay down cap

- Pull off the spark plug boot (3)
- Unscrew spark plug,
Checking the Spark Plug

- Clean dirty spark plug.
- Check electrode gap (A) and readjust if necessary – see “Specifications”.
- Rectify the problems which have caused fouling of the spark plug.
Possible causes are:
- Too much oil in fuel mix.
- Dirty air filter.
- Unfavorable running conditions.

WARNING
Arcing may occur if the adapter nut (1) is loose or missing. Working in an easily combustible or explosive atmosphere may cause a fire or an explosion. This can result result in serious injuries or damage to property.
- Use resistor type spark plugs with a properly tightened adapter nut.
Installing the Spark Plug
- Fit the spark plug and tighten it down firmly.
- Press the boot firmly onto the spark plug.

- Fit the cap (1), insert the screw (2) and tighten it down firmly.
Storing the Machine
For periods of 30 days or longer
- Drain and clean the fuel tank in a well ventilated area.
- Dispose of fuel properly in accordance with local environmental requirements.
- If a manual fuel pump is fitted: Press the manual fuel pump at least 5 times.
- Start the engine and run it at idling speed until it stops.
- Thoroughly clean the machine – pay special attention to the air filter.
- Remove, clean and check the attachment. Coat metal parts with corrosion inhibiting oil.
- Store the machine in a dry and secure location Keep out of the reach of children and other unauthorized persons.
Inspection and Maintenance by User
Throttle Cable
Checking adjustment of throttle cable
Error: Engine speed increases when only the throttle trigger is depressed.

- Start the engine.
- Depress the throttle trigger (1) – do not press down the throttle trigger lockout (2).
If the engine speed increases or if the cutting attachment rotates, the throttle cable has to be adjusted.
- Shut off the engine.
- Have throttle cable adjusted by your dealer. STIHL recommends an authorized STIHL servicing dealer.
Spark Arresting Screen in Muffler
WARNING
To reduce the risk of fire caused by hot particles escaping from the machine, never operate the machine without a spark arresting screen, or with the spark arresting screen damaged. Do not modify the muffler or spark arresting screen.
NOTICE
According to the law or regulations in some countries or federal states, certain operations may only be carried out if a properly serviced spark arresting screen is provided.
If the engine is down on power, check the spark arresting screen in the muffler.
- Wait for the muffler to cool down

- Undo screw (1)
- Lift the spark arresting screen (2) and pull it out.
- Clean the spark arresting screen. If the screen is damaged or heavily carbonized, fit a new one
- Refit the spark arresting screen
- Insert and tighten the screw
Inspections and Maintenance by Dealer
Maintenance Work
STIHL recommends that all maintenance and repairs be carried out by STIHL dealers.
Fuel Pickup Body in Tank

- Check the pickup bodies in the fuel tank annually and have them replaced when necessary
The pickup bodies should be located in the tank in the areas shown in the figure.
Spacer, Shim
WARNING
To reduce the risk of damage to persons or objects from contact with hot parts, never operate the machine without a spacer, or with the spacer damaged.

The spacer (arrow) is integrally molded to the cover.
- Check the spacer (1) for damage.
- If the spacer (1) is damaged, have the cover replaced immediately.
Antivibration Element

A vibration-absorbing rubber element is installed between the powerhead and the shaft. Have it checked in the event of noticeable wear or constantly increased vibration.
Maintenance and Care
| The following intervals apply for normal operating conditions. The specified intervals must be shortened accordingly when working for longer than nor‐ mal or under difficult cutting conditions (extensive dust, etc.). | Before starting work | At the end of work and/or daily | Whenever tank is refilled | Weekly | Monthly | Annually | If faulty | If damaged | As required | |
| Complete machine | Visual inspection (safe condition, leaks) | X | X | |||||||
| Clean | X | |||||||||
| Replace any damaged parts | X | |||||||||
| Control handle | Function test | X | X | |||||||
| Air filter | Visual inspection | X | X | |||||||
| Clean the filter housing | X | |||||||||
| Replace the felt filter1) | X | X | ||||||||
| Fuel tank | Clean | X | X | X | ||||||
| Manual fuel pump (if present) | Check | X | ||||||||
| Have repaired by a specialist dealer2) | X | |||||||||
| Fuel pickup body in fuel tank | Have checked by dealer2) | X | ||||||||
| Have replaced by serv‐ icing dealer2) | X | X | X | |||||||
| Carburetor | Check idle adjustment, the work tool must not turn | X | X | |||||||
| Adjust idle speed | X | |||||||||
| Spark plug | Set electrode gap Replace after every 100 hours of operation | X | ||||||||
| Intake port for cooling air | Visual inspection | X | ||||||||
| Clean | X | |||||||||
| Cylinder fins | Have cleaned by dealer2) | X | ||||||||
| Spark arresting screen in muffler | Check if installed | X | ||||||||
| Check or replace2) | X | |||||||||
| Spacer molded to the cover | Check3) | X | ||||||||
| Have hood replaced by dealer2) | X | X | ||||||||
| All accessible screws, nuts and bolts (not adjusting screws) | Tighten | X | ||||||||
| Anti-vibration elements | Visual inspection4) | X | X | X | ||||||
| Have replaced by serv‐ icing dealer2) | X | |||||||||
| Safety information label | replace | X | ||||||||
| ||||||||||
Main Parts

- Manual fuel pump
- Choke knob
- Carburetor adjusting screw
- Tank cap
- Fuel tank
- Starter grip
- Muffler with spark arresting screen
- Throttle trigger
- Set wheel
- Stop switch
- Throttle trigger lockout
- Carrying ring
- Loop handle
- Barrier bar
- Coupling sleeve
- Wing screw
- Spark plug boot with cap
- Air filter cover
- Machine support
- Spacer on shroud
# Serial number
Specifications
Engine
Single cylinder two-stroke engine
- Displacement: 24.1 cc
- Bore: 35 mm
- Stroke: 25 mm
- Engine power to ISO 8893: 0.9 kW (1.2 bhp) at 8,500 rpm
- Idle speed: 2,800 rpm
- Cut-off speed (rated): 9,800 rpm
Ignition System
Electronic magneto ignition
- Spark plug (resistor type): NGK CMR 6 H
- Electrode gap: 0.5 mm
Fuel System
All position rotary valve carburetor with integral fuel pump
- Fuel tank capacity: 540 cc (0.54 l)
Weight
Dry, without KombiTool KM 94 RC-E: 4.0 kg
Features
- C: Convenience features
- R: Loop handle
- E: ErgoStart
Noise and Vibration Data
With KombiTool
For version see “Approved KombiTools”.
For further details on compliance with Vibration Directive 2002/44/EC visit www.stihl.com/vib.
REACH
REACH is an EC regulation and stands for the Registration, Evaluation, Authorization and Restriction of Chemical substances.
For information on compliance with the REACH regulation (EC) No. 1907/2006 see www.stihl.com/reach.
Exhaust Emissions
The CO2value measured in the EU type approval procedure is specified at www.stihl.com/co2.
The measured CO2value was determined on a representative engine in accordance with a standardized test procedure under laboratory conditions and does not represent either an explicit or implied guarantee of the performance of a specific engine.
The applicable exhaust emission requirements are fulfilled by the intended usage and maintenance described in this instruction manual. The type approval expires if the engine is modified in any way.
Maintenance and Repairs
Users of this machine may only carry out the maintenance and service work described in this user manual. All other repairs must be carried out by a servicing dealer.
STIHL recommends that you have servicing and repair work carried out exclusively by an authorized STIHL servicing dealer. STIHL dealers are regularly given the opportunity to attend training courses and are supplied with the necessary technical information.
When repairing the machine, only use replacement parts which have been approved by STIHL for this power tool or are technically identical. Only use high-quality replacement parts in order to avoid the risk of accidents and damage to the machine.
STIHL recommends the use of original STIHL replacement parts.
Original STIHL parts can be identified by the STIHL part number, the STIHL logo and the STIHL parts symbol K (the symbol may appear alone on small parts).
Disposal
Observe all country-specific waste disposal rules and regulations.
STIHL products must not be thrown in the garbage can. Take the product, accessories and packaging to an approved disposal site for environment-friendly recycling.
Contact your STIHL servicing dealer for the latest information on waste disposal.
















