BF-KM Mini-Cultivator
STIHL BF-KM

Instruction Manual
KombiSystem
In the STIHL KombiSystem a number of different KombiEngines and KombiTools can be combined to produce a power tool. In this instruction manual the functional unit formed by the KombiEngine and KombiTool is referred to as the power tool.
Therefore, the separate instruction manuals for the KombiEngine and KombiTool should be used together for the power tool.
Always read and and make sure you understand both instruction manuals before using your power tool for the first time and keep them in a safe place for future reference.
Guide to Using this Manual
Pictograms
All the pictograms attached to the machine are shown and explained in this manual.
Symbols in text
WARNING
Warning where there is a risk of an accident or personal injury or serious damage to property.
NOTICE
Caution where there is a risk of damaging the machine or its individual components.
Special safety precautions must be observed when working with the cultivator because its pointed and sharp-edged rotor blades rotate at high
speed.
Always read and and make sure you understand both user manuals (KombiEngine and KombiTool) before using your power tool for the first time and keep them
in a safe place for future reference. Non-compliance with the user manuals may cause serious or even fatal injury.
Lend or rent your machine only to persons who are familiar with this model and its operation do not lend or rent your machine without the KombiEngine and KombiTool user manuals.
Use the cultivator only for tilling previously cultivated, packed or loose soil, furrowing and working in mulches.
The machine must not be used for any other purposes – risk of accidents!
Only mount rotor blades and accessories that are explicitly approved for this power tool by STIHL or are technically identical. If you have any questions in this respect, consult your
dealer.
Use only high quality parts and accessories. In order to avoid the risk of accidents and damage to the machine.
STIHL recommends the use of original
STIHL replacement parts, rotor blades
and accessories. They are specifically
designed to match the product and meet
your performance requirements.
The deflector on this power tool cannot
protect the operator from all objects
thrown by the blade (stones, glass, wire,
etc.). Ejected objects may also ricochet
and strike the operator.
Never attempt to modify your power tool
in any way since this may increase the
risk of personal injury. STIHL excludes
all liability for personal injury and
damage to property caused while using
unauthorized attachments.
Do not use a high-pressure washer to
clean the power tool. The solid jet of
water may damage parts of the unit.
Clothing and equipment
Wear proper protective clothing and equipment.
Clothing must be sturdy but allow complete freedom of movement. Wear
close-fitting clothes such as a boiler suit, not a loose jacket.
Do not wear clothing which could become trapped in wood, brush or moving parts of the machine. Do not wear a scarf, necktie or jewelry. Tie up and confine long hair above your
shoulders.
Wear safety boots with
steel toe caps and nonslip
soles.
WARNING
To reduce the risk of eye injuries, wear close-fitting safety glasses in
accordance with European Standard EN 166. Make sure the safety
glasses are a snug fit.
Wear “personal” sound protection, e.g. ear defenders.
Wear sturdy protective gloves made of a resistant
material (e. g. leather).
STIHL can supply a comprehensive range of personal protective equipment.
Transporting the machine
Always stop the engine.
Carry the power tool hanging from the
shoulder strap or properly balanced by
the drive tube.
Do not touch hot parts of the machine –
risk of burn injury!
By vehicle: When transporting in a
vehicle, properly secure your machine to
prevent turnover, damage and fuel
spillage.
Before starting
Check that your power tool is properly
assembled and in good condition – refer
to appropriate chapters in the
KombiEngine and KombiTool user
manuals:
– Rotor blades, correctly fitted, secure
and in perfect condition (clean,
moves freely, not warped)
– Inspect the deflectors for damage
and wear. Do not operate the
machine with a damaged deflector –
replace damaged parts.
– Do not attempt to modify the
controls or safety devices in any
way – only work with the deflector
fitted
– Keep the handles dry and clean –
free from oil and dirt – this is
important for safe control of the
machine
– Adjust carrying harness and
handles in accordance with body
height. Observe the chapter “Fitting
the Harness”
To reduce the risk of personal injury, do
not operate your power tool if it is
damaged or not properly assembled!
To prepare for emergencies when using
a harness: Practice setting down the
machine quickly. To avoid damage, do
not throw the machine to the ground
when practicing.
Holding and guiding the machine
Make sure you always have good
balance and secure footing.
Always hold the unit firmly with both
hands on the handles.
For versions with bike handle

Right hand on control handle, left hand
on grip on handlebar.
For versions with loop handle

For versions with loop handle and loop
handle with barrier bar, left hand on the
loop handle, right hand on the control
handle – even if you are left-handed.
While working
In the event of impending danger or in
an emergency, switch off the engine
immediately by moving the slide control
/ stop switch/button to 0 or STOP.

To reduce the risk of injury from ejected
objects, do not allow any other persons
within 5 meters of your own position.
This distance must also be maintained in
relation to objects (vehicles, window
panes) – risk of property damage!
As soon as the engine is running, the power machine generates toxic exhaust gas. These gases may be odorless and invisible and may contain unburned hydrocarbons and benzene. Never run the engine indoors or in poorly ventilated locations, even if your model is equipped with a catalytic converter.
Arrows on the blades show the direction
of rotation. The arrows on the rotor
blades must point in the same direction
as the arrows on the gear.
Make sure the idle speed setting is
correct. The rotor blades must not rotate
when the engine is idling with the throttle
trigger released. Check and correct the
idle speed setting at regular intervals. If
the rotor blades still rotate, have your
dealer check your machine and make
proper adjustments or repairs – see
KombiEngine instruction manual.
Never work without suitable protection
for the unit and KombiTool – risk of injury
from thrown objects!
Take special care in slippery conditions
– damp, snow, ice, on slopes or uneven
ground!
Watch out for obstacles: tree stumps,
roots – risk of tripping or stumbling!
Check the work site – rocks, metal
objects etc. may be caught up and
ejected – risk of injury! – and may
damage the rotor blades.
To avoid the risk of electrocution, never use your power tool in areas where electrical lines are laid on the surface or buried just below the surface. Striking
and damaging such lines with the KombiTool could cause serious or even fatal injury.
Make sure you always have good
balance and secure footing.
Operate your power tool at normal
walking pace only.
Take particular care when working close
to fences, walls, stones, roots, trees and
areas of dense growth. The rotor blades
may snag –risk of injury!
Be extremely cautious when pulling the
power tool towards you because of the
risk of injury from contact with the
rotating blades.
Be particularly alert and cautious when
wearing hearing protection because
your ability to hear warnings (shouts,
alarms, etc.) is restricted.
Take breaks when you start getting tired
or feeling fatigue – risk of accidents!
Work calmly and carefully – in daylight
conditions and only when visibility is
good. Proceed with caution, do not put
others in danger.
If your power tool is subjected to
unusually high loads for which it was not
designed (e.g. heavy impact or a fall),
always check that it is in good condition
before continuing work – see also
“Before Starting”. Make sure the safety
devices are working properly. Never use
a power tool that is no longer safe to
operate. In case of doubt, contact a
dealer.
Do not touch the rotor blades while the
engine is running. If the rotor blades
become jammed by an object, switch off
the engine immediately before
attempting to remove the object – there
is otherwise a risk of injury!
Opening the throttle while the rotor
blades are blocked increases the load
and reduces engine speed. The clutch
then slips continuously and this causes
overheating and damage to important
components (e.g. clutch, polymer
housing components) – and this can
increase the risk of injury from the rotor
blades running while the engine is idling.
Check the rotor blades at regular short
intervals during operation or
immediately if there is a noticeable
change in operating behavior:
– Shut off the engine, hold the
machine securely.
– Check condition and secure fitting;
watch out for cracks
– Replace damaged rotor blades
immediately, even if they have only
superficial cracks.
Clean the rotor blades and deflector at
regular intervals during operation.
– Shut off the engine
– Use gloves
– Remove grass, weeds, clumps of
soil, etc.
Switch off the engine before changing
the rotor blades – Risk of injury!
Do not continue using or attempt to
repair damaged or cracked rotor blades
by welding or straightening – risk of
deformation (out of balance).
Particles or pieces may come off and hit
the operator or a bystander at a high
speed – risk of most severe injuries!
After finishing work
After finishing work or before leaving the
power tool unattended: Shut off the
engine.
After finishing work, clean dirt, soil and
plant residue off the KombiTool – wear
gloves to reduce the risk of injury!
Do not use any grease solvents when
cleaning.
After thorough cleaning, wet the surface
of metal KombiTools with an
anticorrosive agent.
Maintenance and Repairs
Service the machine regularly. Do not
attempt any maintenance or repair work
not described in the KombiTool and
KombiEngine instruction manuals. Have
all other work performed by a servicing
dealer.
STIHL recommends that you have
servicing and repair work carried out
exclusively by an authorized STIHL
servicing dealer. STIHL dealers are
regularly given the opportunity to attend
training courses and are supplied with
the necessary technical information.
Only use high-quality replacement parts
in order to avoid the risk of accidents
and damage to the machine. If you have
any questions in this respect, consult a
servicing dealer.
STIHL recommends the use of genuine
STIHL replacement parts. They are
specifically designed to match your
model and meet your performance
requirements.
To reduce the risk of injury, always shut
off the engine before carrying out any
maintenance or repairs or cleaning the
machine.
Using the Unit
General Information

Preparation
- Starting the engine
- Fitting the harness
Working techniques
You can work with your cultivator in the
forward (1) and backward (2) directions,
from left to right or vice versa (3) or in a
circular motion.
Choose the best method to suit your
purpose, i.e. this depends on the shape
and size of the area and soil conditions.
Working in an alternating backwards
and forwards motion is particularly
suitable for loosening packed soil.
WARNING
The cultivator moves away from the user
during work. Always ensure a secure
footing to be able to control the
cultivator.
Example applications

- Breaking up soil
A few preparations are necessary before
you begin to break up soil which has
been previously tilled (e.g. last year’s
vegetable or flower garden). First clear
away surface weeds and remains of
other plants as well as hard objects like
rocks, stones, bottles, pieces of wood
etc. which can be thrown up by the rotor
blades.
Hold the cultivator firmly with both hands
and till only a small area at a time to the
required depth.
Finish tilling the area by guiding the
cultivator in such a way that you leave
no footprints. Use a rake to level off the
entire area.
- Loosening soil around plants Only loosen the surface soil around plants. Avoid going too deep as this could damage the shallow roots of some plants. To avoid any damage to the cultivator or trees, be wary not to catch the blades on the large roots of trees.
- Working in soil improvers The cultivator can be used for mulching with loam, compost, leaves, other organic material or fertilizers.
Prepare the area by removing all old
roots, the remains of large plants and
hard objects (stones etc.). Spread the
mulch evenly on the ground.
Work in the mulch with a circular or back
and forth motion.
Finish off by leveling the area with a
rake.
- Trenching or furrowing
Walk slowly backward and pull the
cultivator to create the furrow required.
Repeat as necessary to obtain deeper
furrows.
Cleaning the Rotor Blades
Parts of plants, e.g. roots, can become
tightly wrapped around or between the
rotor blades during operation. To clean
the rotor blades:
– Switch off the cultivator and wait
until the blades come to a complete
standstill.
– Pull the hitch pins out of the axle
– Pull the rotor blades off the shaft
– Remove pieces of roots, plants and
soil
WARNING
Rotor blades are sharp edged. Wear
gloves while cleaning.
Approved KombiEngines
KombiEngines
Only use KombiEngines supplied or
explicitly approved by STIHL for use with
the attachment.
This KombiTool may be operated only in
combination with the following
KombiEngines:
STIHL KM 55 R, KM 56 R, KM 85 R,
KM 90, KM 90 R, KM 94 R, KM 100,
KM 100 R, KM 110, KM 110 R, KM 130,
KM 130 R, KMA 130 R, KMA 135 R
WARNING
Loop-handled machines must be
equipped with a barrier bar.
Brushcutters with split boom
The KombiTool can also be fitted to
STIHL brushcutters with a split boom (Tmodels)
(basic power tools).
This KombiTool can therefore also be
used on the following machine:
STIHL FR 130 T
WARNING
Refer to the user manual of the power
tool for use of the barrier bar.
Assembling the Unit

- Pull the protective caps off the ends
of the shaft and keep them in a safe
place for later use – see “Storing the
Machine”

NOTICE
The plug may come out of the drive tube
when you pull off the cap. Push it back
into the shaft as far as it will go.
Mounting the guard

- Slide the deflector (1) onto the drive
tube (2) until distance (a) is 100 mm - Line up the deflector (1) so that it is
vertical and the fixing lug (arrow) on
the drive tube points up - Tighten the clamp screw (3)
moderately
NOTICE
Check that the deflector is secure – it
must not be possible to rotate it on the
drive tube.
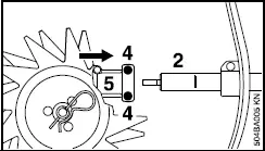
Mounting the gearbox

- Loosen the clamp screws (4)
- Push the gearbox (5) onto the drive
tube (2), turn the gearbox back and
forth as necessary

- Slide the deflector (1) onto the drive
tube (2) until distance (a) is 100 mm - Line up the deflector (1) so that it is
vertical and the fixing lug (arrow) on
the drive tube points up - Tighten the clamp screw (3)
moderately
NOTICE
Check that the deflector is secure – it
must not be possible to rotate it on the
drive tube.

the axle (1) must be located below the
shaft (2). The arrows on the gear unit
indicate the direction of rotation
WARNING
Ensure that the gearbox is properly
aligned and that the cultivator moves
away from the user during operation.
Mounting the Rotor Blades
Take care not to lose the two washers
on the gearbox output shaft.
N Arrange the blades in the order they
will be fitted on the shaft, noting the
following points:
Left-hand and right-hand rotor blades
are different. The direction of rotation is
marked with arrows on the gearbox and
rotor blades.

- rotate the inner right-hand rotor
blade (7) on the shaft until it can be
pushed into position – check the
direction of rotation again – arrows –
The hub of the inner rotor blade is larger
than that of the outer blade.
- rotate the outer right-hand rotor
blade (8) on the shaft until it can be
pushed into position – check the
direction of rotation again – arrows - Insert and engage the hitch pin (9)
in the hole in the shaft – fold the
hitch pin flat against the rotor blade - Use the same procedure to mount
the rotor blades on the left-hand
side
WARNING
The rotor blades are sharp-edged. Wear
gloves when mounting the rotor blades
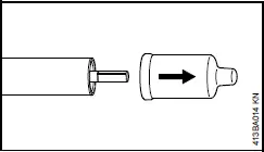
Mounting the KombiTool

- Push the lug (1) on the drive tube
into the slot (2) in the coupling
sleeve as far as stop.

When correctly installed, the red line (3)
(arrow point) must be flush with the end
of the coupling sleeve.
- Tighten down the star knob (4)
firmly.
Removing the KombiTool
- Reverse the above sequence to
remove the drive tube.
Fitting the Harness
The type and style of the harness,
carrying ring and carabiner (spring hook)
depend on the market.
Shoulder Strap

- Put on the shoulder strap (1).
- Adjust the length of the strap so that
the carabiner (2) is about a hand’s
width below your right hip.
Full harness

- Put on the full harness (1).
- Adjust the length of the strap so that
the carabiner (2) is about a hand’s
width below your right hip.
Attaching Machine to Harness

- Attach the carabiner (1) to the
carrying ring (2) on the drive tube –
hold the carrying ring steady.
Disconnecting Machine from Harness
- Press down the bar on the
carabiner (1) and pull the carrying
ring (2) out of the carabiner.
Throwing Off the Machine
WARNING
The machine must be quickly thrown off
in the event of imminent danger.
Practice removing and putting down the
machine as you would in an emergency.
To avoid damage, do not throw the
machine to the ground when practicing.
Practice quickly detaching the power
tool from the carabiner as described
under “Disconnecting Machine from
Harness”.
If you are using a shoulder strap:
Practice slipping the strap off your
shoulder.
If you are using a full harness: Practice
quickly opening the locking plate and
slipping the harness straps off your
shoulders.
Starting / Stopping the Engine
Starting the Engine
Always follow the operating instructions
for the KombiEngine and basic power
tool.
- Place the machine on the ground: It
must rest securely on the machine
support. Rest the deflector end of
the drive tube on a raised support
(e.g. mound, log, brick).
To reduce the risk of accidents, check
that the rotor blades are not touching the
ground of any other obstacles.
- Make sure you have a firm footing,
either standing, stooping or
kneeling. - Hold the machine with you left hand
and press it down firmly – do not
touch the controls on the control
handle – see KombiEngine or basic
power tool instruction manual.
NOTICE
Do not stand or kneel on the drive tube.
WARNING
The blades may begin to rotate as soon
as the engine starts. For this reason, blip
the throttle after starting – the engine
returns to idling speed.
The starting procedure is now as
described in the instruction manual of
the KombiEngine or basic power tool
you are using.
Stopping the Engine
- See KombiEngine or basic power
tool instruction manual.
Storing the Machine
For periods of 3 months or longer
- Remove, clean and inspect the rotor
blades. - If the KombiTool is removed from
the KombiEngine and stored
separately: Fit the protective cap on
the drive tube to avoid dirt getting
into the coupling. - Store the machine in a dry, high or
locked location – out of the reach of
children and other unauthorized
persons.
Maintenance and Care
The following intervals apply to normal
operating conditions only. If your daily
working time is longer or operating
conditions are difficult (very dusty work
area, etc.), shorten the specified
intervals accordingly.
All accessible screws and nuts
- Retighten if necessary
Sweeping attachments and deflectors - Visual inspection, check tightness
before starting work and after every
refueling stop - Replace if damaged
Safety labels - Replace illegible safety labels
Main Parts

1 Drive Tube
2 Deflector
3 Gearbox
4 Outer Right-Hand Cultivator Blade
5 Inner Right-Hand Cultivator Blade
6 Inner Left-Hand Cultivator Blade
7 Outer Left-Hand Cultivator Blade
8 Hitch Pin
- Drive Tube
Encloses and protects the drive
shaft between the coupling sleeve
and gearbox. - Deflector
Designed to reduce the risk of injury
from foreign objects flung
backwards toward the operator by
the attachments and from contact
with the attachments. - Gearbox
Transmits power from the engine to
the cultivator blades. - Outer Right-Hand Cultivator Blade
Metal blade, star-shaped with
pointed or curved tines. Mounts to
the outer right-hand side. - Inner Right-Hand Cultivator Blade
Metal blade, star-shaped with
pointed or curved tines. Mounts to
the inner right-hand side. - Inner Left-Hand Cultivator Blade
Metal blade, star-shaped with
pointed or curved tines. Mounts to
the inner left-hand side. - Outer Left-Hand Cultivator Blade
Metal blade, star-shaped with
pointed or curved tines. Mounts to
the outer left-hand side. - Hitch Pin
Secures the attachments and
simplifies removal and installation of
the attachments.
Specifications
Gearbox
Single-stage worm gear
Reduction ratio: 44:1
Rotor Blades
Four rotor blades, double-edged, rotate
in same direction
Diameter: 230 mm
Working width: 220 mm
Weight
Complete with deflector and drive tube:
4.1 kg
Maintenance and Repairs
Users of this machine may only carry out
the maintenance and service work
described in this user manual. All other
repairs must be carried out by a
servicing dealer.
STIHL recommends that you have
servicing and repair work carried out
exclusively by an authorized STIHL
servicing dealer. STIHL dealers are
regularly given the opportunity to attend
training courses and are supplied with
the necessary technical information.
When repairing the machine, only use
replacement parts which have been
approved by STIHL for this power tool or
are technically identical. Only use highquality
replacement parts in order to
avoid the risk of accidents and damage
to the machine.
STIHL recommends the use of original
STIHL replacement parts.
Original STIHL parts can be identified by
the STIHL part number, the {
logo and the STIHL parts symbol K
(the symbol may appear alone on small
parts).
Disposal
Observe all country-specific waste
disposal rules and regulations.
![]()
the latest information on waste disposal.
















