
SP-KM

Instruction Manual
KombiSystem
In the STIHL KombiSystem, a number of different KombiEngines and KombiTools can be combined to produce a power tool. In this instruction manual, the functional unit formed by the Kom‐ engine, and KombiTool is referred to as the power tool. Therefore, the separate instruction manuals for the KombiEngine and KombiTool should be used together for the power tool. Always read and make sure you understand both instruction manuals before using your power tool for the first time and keep them in a safe place for future reference.
Guide to Using this Manual
2.1 Pictograms
All the pictograms attached to the machine are shown and explained in this manual.
2.2 Symbols in text
WARNING
Warning where there is a risk of an accident or personal injury or serious damage to property.
NOTICE
Caution where there is a risk of damaging the machine or its individual components.
2.3 Engineering improvements
STIHL’s philosophy is to continually improve all of its products. For this reason, we may modify the design, engineering, and appearance of our products periodically. Therefore, some changes, modifications, and improvements may not be covered in this manual.
Safety Precautions and Working Techniques
Special safety precautions must be observed when working with this powerful tool because the rakes and tines move at a high stroke rate.
Both user manuals (KombiEngine and KombiTool) must be read through attentively before using the unit for the first time and kept in a safe place for future reference. compliance with the User Manual may cause serious or even fatal injury.
The machine should only be passed on or loaned to people familiar with this model and its operation. The KombiEngine and KombiTool user manuals should always be anded over with the machine. Use your special harvester only for harvesting fruit about the size of coffee berries, nuts, olives, sloes, etc. The machine must not be used for any other ur‐ poses – the risk of accidents! Only mount rakes and tines or accessories that are explicitly approved for this power tool by 3 Safety Precautions and Working Techniques
STIHL or are technically identical. If you have any questions about this, consult your dealer. Use only high-quality parts and accessories. in order to avoid the risk of accidents and damage to the machine. STIHL recommends the use of genuine STIHL tools and accessories. They are specifically designed to match the product and meet your performance requirements. Never attempt to modify your power tool in any way since this may increase the risk of personal injury. STIHL excludes all liability for personal injury and damage to property caused while using unauthorized attachments. Do not use a high-pressure washer to clean the power tool. The solid jet of water may damage parts of the unit.
3.1 Clothing and equipment
Wear proper protective clothing and equipment. Clothing must be sturdy but allow complete freedom of movement. Wear close-fitting clothes such as a boiler suit or coverall, not a loose jacket. Do not wear clothing that could become trapped in wood, brush, or moving parts of the machine. Do not wear a scarf, necktie, or jewelry. Tie up and confine long hair above your shoulders.
Wear sturdy shoes with non-slip soles.
WARNING
To reduce the risk of eye injuries, wear close-fitting safety glasses in accordance with European Standard EN 166. Make sure the safety glasses are a snug fit. Wear face protection and make sure it is a good fit. Face protection alone is not sufficient to pro‐ test the eyes. Wear “personal” sound protection, e.g. ear defenders. Wear a safe hard hat where there is a danger of head injuries from falling objects.
Wear sturdy protective gloves made of a resistant material (e. g. leather).
3.4 Holding and guiding the machine
Make sure you always have a firm and secure footing.
Always hold the unit firmly with both hands on the handles. Right hand on the control handle, left hand on loop handle, even if you are left-handed. Wrap your fingers and thumbs around the handles.
The machine can be carried on a harness that bears the weight of the machine.
3.5 While working
In the event of impending danger or in an emergency, switch off the engine immediately by moving the slide control/stop switch/stop button to
STOP or 0.
This power tool is not insulated. Keep at least 15 m away from electric power lines – Danger of fatal electric shock! 3 Safety Precautions and Working Techniques

To reduce the risk of injury from falling objects, do not allow bystanders within a radius of 15 meters of your own position. This distance must also be maintained in relation to objects (vehicles, window panes) – the risk of property damage! Maintain a minimum clearance of 15 m between the tips of the rakes and electric power lines. Electric current may also arc over from high-volt-age cables at a greater distance. Have the power switched off before starting work in the immediate vicinity of power lines? The correct engine idle speed is important to ensure that the attachment stops moving when you let go of the throttle trigger. Check and correct the idle speed setting at regular intervals. If the attachment continues running when the engine is idling, have it repaired by your dealer – see KombiEngine user manual. Note that the rakes and tines continue to run for a short period after you let go of the throttle trigger – flywheel effect!
The gear head becomes hot during operation. Do not touch the gear housing – the risk of burns!
Take special care in wet conditions, on slopes, uneven ground, etc. – Risk of slipping! Watch out for obstacles: tree stumps, roots – the risk of tripping or stumbling! Clear away fallen branches and scrub from the work area. Keep the rakes and tines clear of foreign objects – such objects may be caught and thrown and damage the rakes and tines. 3 safety Precautions and Working Techniques Make sure you always have a firm and secure footing.
When working at heights:
– Always use a lift bucket
– Never use the machine while standing on a ladder or in a tree
– never work on an unstable surface
– Never use the machine with just one hand
Be particularly alert and cautious when wearing hearing protection because your ability to hear warnings (shouts, alarms, etc.) is restricted. Take breaks when you start getting tired or feel‐ ing fatigued – the risk of accidents! Work calmly and carefully – in daylight conditions and only when visibility is good. Proceed with caution, do not put others in anger. Never touch the rakes or tines while the engine is running. If the rakes or tines become jammed by thick branches or other obstructions, switch off the engine immediately before attempting to remove the obstruction – Risk of injury! Opening the throttle while the rakes and tines are blocked increases the load and reduces engine speed. The clutch then slips continuously and this causes overheating and damage to impor‐ tant components (e.g. clutch, plastic housing components) – and this can increase the risk of injury from the rakes and tines moving while the engine is idling. If your power tool is subjected to unusually high loads for which it was not designed (e.g. heavy impact or a fall), always check that it is in good condition before continuing work – see also “Before Starting”. Make sure the safety devices are working properly. Never use a power tool that is no longer safe to operate. In case of doubt, contact a dealer. Check the rakes and their tines at regular short intervals or immediately if there is a noticeable
change in the tool’s behavior:
– Shut off the engine, hold the machine securely.
– Wait until the rakes and tines come to a standstill.
– Check condition and secure fitting; watch out for cracks
– Replace damaged parts immediately, even if they have only superficial cracks.
Shut off the engine before changing the tines Risk of injury!
Never continue using or attempt to repair damaged or cracked rakes or tines.
3.6 After finishing work
After finishing work or before leaving the power tool unattended: Shut off the engine. After finishing work, regularly clean dirt, soil, and plant residue off the attachment – wear gloves to reduce the risk of injury. Do not use any grease solvents when cleaning. After thoroughly cleaning, coat the metal surface of attachments with a corrosion inhibitor.
3.7 Maintenance and Repairs
Service the machine regularly. Do not attempt any maintenance or repair work not described in the KombiTool and KombiEngine instruction manuals. Has all other work been performed by a servicing dealer? STIHL recommends that you have servicing and repair work carried out exclusively by an authorized STIHL servicing dealer. STIHL dealers are regularly given the opportunity to attend training courses and are supplied with the necessary technical information. Only use high-quality replacement parts in order to avoid the risk of accidents and damage to the machine. If you have any questions in this respect, consult a servicing dealer. STIHL recommends the use of genuine STIHL replacement parts. They are specifically designed to match your model and meet your performance requirements. To reduce the risk of injury, always shut off the engine before carrying out any maintenance or repairs or cleaning the machine.
Using the Unit

This power tool is used for harvesting nuts and fruits. The influences of ripeness, variety, and size of fruits or nuts determine whether this power tool is suitable for harvesting. The performance of this special harvester is affected by the abovementioned factors. This unit is not recommended for harvesting des‐ sert fruit, e.g. apples, pears, plums, etc.
WARNING
Do not operate the unit if one of the tines (1) is missing or broken. Operating the unit with broken and/or missing tines (1) may result in the operator being exposed to high loads caused by increased vibration – see “Vibrations”.

NOTICE
The forkhead (2) performs rapid reciprocating movements during operation. Take care not to damage branches with the forkhead. Do not force branches between the rakes (3).
4.1 Working Technique
Use the following working technique to obtain the best results and good performance from the har‐ vester:
► Accelerate the engine and comb the branches with the rakes. Use the throttle trigger to obtain the optimum rake stroke rate.
► Keep the throttle open only as long as the rakes are engaged in the branches.
► Do not accelerate the engine when the rakes are not engaged in the branches.
► Reposition the rakes in the next section of the tree.
► Repeat this process for all sections of the tree.

► Pay attention to the tree’s limb structure during operation:
– Comb the lower section (A) from the top downwards, this also applies for drooping branches at the outer extremities of the tree.
– Comb the upper section (B) from the bottom upwards.
– Comb the tree from the inside outwards, towards the tips of the branches.
5 Approved KombiEngines
► While combing the branches, turn the rakes to and fro around the shaft’s axis (C) if necessary.
► Have the whole tree even if there is very little fruit left on it.
► Do not hold the unit in one spot for too long so as not to damage leaves and branches unnecessarily.
► Always shut off the engine before leaving the unit unattended.

NOTICE
Operating the unit with broken and/or missing tines (1) may result in damage to gearbox components or overload them. Therefore, do not continue using a unit with broken and/or missing tines.
Operating the unit with broken and/or missing tines reduces the unit’s harvesting performance.
► Always replace damaged tines – see chapter on “Inspection and Maintenance by User”.
Approved KombiEngines
Only use KombiEngines supplied or explicitly approved by STIHL for use with the attachment. This KombiTool may be operated only in combi‐ a nation with the following KombiEngines:
STIHL KM 55 R, KM 56 R, KM 85 R1) , KMA 130 R,KMA 135 R1), KM 90 R,KM 94 R, KM 100 R, KM 110 R
WARNING
Loop-handled machines must be equipped with a barrier bar.
Assembling the Unit

► Use the drive tube supplied with the unit.
► Pull the protective caps off the ends of the shaft and keep them in a safe place for later use – see “Storing the Machine”

The plug may come out of the drive tube when you pull off the cap. Push it back into the shaft as far as it will go.
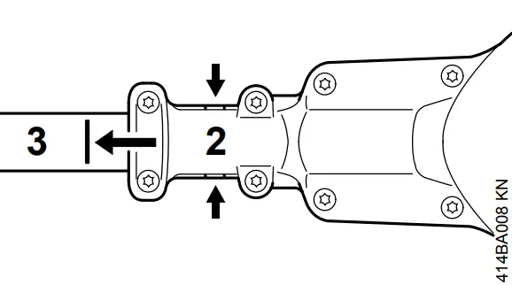
6.1 Mounting the Gearhead
► Loosen the clamp screws (1) on the gearhead – do not remove them.
► Apply a mark (with pencil or crayon) at dis‐ tance A (50 mm) from the end of the drive tube.
► Push the gearhead (2) onto the drive tube (3) – turn it back and forth at the same time – until it reaches or covers the mark on the drive tube. Alternative check: The drive tube is correctly positioned when it completely closes the slot in the gearhead’s clamp (short arrows).
► Line up the center of the gearhead with the lug (4) on the drive tube – the STIHL logo facing up.
► Tighten down the clamp screws on the gear‐ head firmly.
6.2 Fitting the Tines

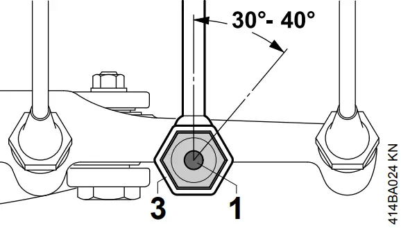
► Screw the tines (1) by hand into the two rakes (2) as far as stop – fit all eight tines on the rakes.
► Tighten down the tines by hand.

► Engage the combination wrench (3) on the hexagon (4) at the base of tine (1).

► Use the combination wrench (3) to tighten down the tine (1) firmly by turning it another 30° to 40°.
► Remove the combination wrench from the tine.
Mounting the KombiTool

► Push the lug (1) on the drive tube into the slot (2) in the coupling sleeve as far as the stop.

When correctly installed, the red line (3) (arrow point) must be flush with the end of the coupling sleeve.
► Tighten down the star knob (4) firmly.
7.1 Removing the KombiTool
► Reverse the above sequence to remove the drive tube.
Fitting the Harness
The type and style of the harness, carrying ring, and carabiner (spring hook) depend on the market.
8.1 Shoulder Strap

► Put on the shoulder strap (1).
► Adjust the length of the strap so that the carabiner (2) is about a hand’s width below your right hip.
8.2 Full harness

► Put on the full harness (1).
► Adjust the length of the strap so that the carabiner (2) is about a hand’s width below your right hip.
8.3 Attaching Machine to Harness
► Attach the carabiner (1) to the carrying ring (2) on the drive tube – hold the carrying ring steady.
8.4 Disconnecting Machine from Harness

► Press down the bar on the carabiner (1) and pull the carrying ring (2) out of the carabiner.
8.5 Throwing Off the Machine
WARNING
The machine must be quickly thrown off in the event of imminent danger. Practice removing and putting down the machine as you would in an emergency. To avoid damage, do not throw the machine to the ground when practicing. Practice quickly detaching the power tool from the carabiner as described under “Disconnecting Machine from Harness”.
If you are using a shoulder strap: Practice slipping the strap off your shoulder. If you are using a full harness: Practice quickly opening the locking plate and slipping the har‐
ness straps off your shoulders.
Starting / Stopping the Engine
9.1 Starting the Engine
Always follow the operating instructions for the KombiEngine and basic power tool.

► Place the unit on the ground: It must rest securely on the engine support. Rest the gear‐ head on a raised support (high mound) or position the drive tube in the fork of a branch.
To reduce the risk of accidents, check that the rakes are not touching the ground or any other obstacles.
► Make sure you have a firm footing, either standing, stooping, or kneeling.
► Hold the machine with your left hand and press it down firmly – do not touch the controls on the control handle – see KombiEngine or basic power tool instruction manual.
NOTICE
Do not stand or kneel on the drive tube.
An alternative method of starting
► Make sure you have a safe and secure footing.
► Hold the powerhead firmly with your left hand on the fan housing – your thumb should be under the fan housing.
WARNING
The rakes may begin to run as soon as the engine starts. For this reason, blip the throttle after starting – the engine returns to idling speed.
The starting procedure is now as described in the instruction manual of the KombiEngine or basic power tool you are using.
9.2 Stopping the Engine
► See KombiEngine or basic power tool instruction manual.
Storing the Machine
For periods of 3 months or longer
► Clean the rakes and tines and check them for damage
► If the KombiTool is removed from the Kom‐ engine and stored separately: Fit the protective cap on the drive tube to avoid dirt getting into the coupling.
► Store the machine in a dry, high, or locked location, out of the reach of children and other unauthorized persons.
Inspection and Maintenance by User
11.1 Replacing Tines
A set of 4 tines is also available as accessories for further maintenance.
► Broken, badly worn and missing tines must be replaced immediately with new tines.

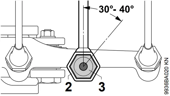
► Engage the combination wrench (2) on the hexagon (3) at the base of the tine (1).
► Use the combination wrench to loosen the tine.
► Unscrew the tine from the rake (4).

► Screw the tine (1) into the rake (4) as far as possible by hand.
► Engage the combination wrench (2) on the hexagon (3) at the base of tine (1) and screw down as far as the stop.

► Use the combination wrench (2) to tighten down the tine (3) firmly by turning it another30° to 40°.
Maintenance and Care
The following intervals apply to normal operating conditions only. If your daily working time is longer or operating conditions are difficult (very dusty work area, etc.), shorten the specified intervals accordingly. All accessible screws and nuts
► Retighten if necessary
Working tools
► Visual inspection of rakes and tines before starting work and after every fueling stop
► Check the tightness of tines before starting work and after every fueling stop
► Replace damaged tines immediately
Safety labels
► Replace illegible safety labels
Minimize Wear and Avoid Damage
Observing the instructions in this manual and the KombiEngine manual helps reduce the risk of unnecessary wear and damage to the power tool. The power tool must be operated, maintained, and stored with the due care and attention described in these instruction manuals. The user is responsible for all damage caused by non-observance of the safety precautions, operating and maintenance instructions. This includes in particular:
– Alterations or modifications to the product not approved by STIHL.
– Using tools or accessories which are neither approved nor suitable for the product or are of poor quality.
– Using the product for purposes for which it was not designed.
– Using the product for sports or competitive events.
– Consequential damage caused by continuing to use the product with defective components.
13.1 Maintenance Work
All the operations described in the “Maintenance Chart” and “Inspection and Maintenance by User” must be performed on a regular basis. If these maintenance operations cannot be performed by the owner, they should be performed by a servicing dealer. STIHL recommends that you have servicing and repair work carried out exclusively by an authorized STIHL servicing dealer. STIHL dealers are regularly given the opportunity to attend training courses and are supplied with the necessary technical information. If these maintenance operations are not carried out as specified, the user assumes responsibility for any damage that may occur. Among other things, this includes:
– Corrosion and other consequential damage resulting from improper storage.
– Damage to the product resulting from the use of poor quality replacement parts.
13.2 Parts Subject to Wear and Tear
Some parts of the power tool, e.g. the rakes and the drive and mounting components of the rakes and tines (connectors, pins, etc.), are subject to normal wear and tear even during regular operation in accordance with instructions and, depending‐ ing on the type and duration of use, have to be replaced in good time.
Main Parts
| 1 Tine 2 Rake 3 Forkhead 4 Gearbox 5 Drive tube | 6 Coupling sleeve 7 Loop handle 8 Integral carrying ring 9 Adjustable carrying ring 10 KombiEngine |
Specifications
15.1 Gearhead
| Gear ratio: | 11:1 |
| Forkhead stroke: | 20 mm |
| Strokes per minute at 10,000 rpm1): | 1,820/min |
15.2 Weight
| KombiTool, complete: | 2.0 kg |
15.3 Length
| KombiTool, complete: | 1450 mm |
15.4 Sound and Vibration Levels
Noise and vibration data measurements on power tools with the SP-KM KombiTool include idling and rated maximum speed in a ratio of 1:6. For further details on compliance with Vibration Directive 2002/44/EC, see www.stihl.com/vib
15.4.1 Sound pressure level Lpeq to ISO 11201
| KM 55 R with loop handle: KM 56 R with loop handle: KM 85 R with loop handle: KM 90 R with loop handle: KM 94 R with loop handle: KM 130 R with loop handle: KM 135 R with loop handle: KM 100 R with loop handle: | 93 dB(A) 94 dB(A) 93 dB(A) 90 dB(A) 91 dB(A) 80 dB(A) 76.2 dB(A) 90 dB(A) |
15.4.2 Sound power level Lw to ISO 3744
| KM 55 R with loop handle: KM 56 R with loop handle: KM 85 R with loop handle: KM 90 R with loop handle: KM 94 R with loop handle: KM 130 R with loop handle: KM 135 R with loop handle: KM 100 R with loop handle: | 105 dB(A) 106 dB(A) 105 dB(A) 102 dB(A) 106 dB(A) 90 dB(A) 87.2 dB(A) 103 dB(A) |
15.4.3 Vibration level ahv,eq to ISO 20643
| Handle, left | Handle, right | |
| KM 55 R with loop handle: KM 56 R with loop handle: KM 85 R with loop handle: KM 90 R with loop handle: KM 94 R with loop handle: KM 130 R with loop handle: KM 135 R with loop handle: KM 100 R with loop handle: | 7.0 m/s2 8.5 m/s2 4.3 m/s2 4.9 m/s2 6.8 m/s2 4.1 m/s2 2.8 m/s2 4.5 m/s2 | 8.7 m/s2 7.7 m/s2 6.3 m/s2 5.4 m/s2 5.3 m/s2 3.2 m/s2 2.8 m/s2 5.8 m/s2 |
- The movement of the rake in one direction is a stroke. The up and down movement of the rake counts as two strokes (= 2 working strokes).
The K‑factor in accordance with Directive 2006/42/EC is 2.0 dB(A) for the sound pressure level and sound power level; the K‑factor in accordance with Directive 2006/42/EC is 2.0 m/s2 for the vibration level.
15.5 REACH
REACH is an EC regulation and stands for the Registration, Evaluation, Authorisation, and Restriction of Chemical substances. For information on compliance with the REACH regulation (EC) No. 1907/2006 see www.stihl.com/reach.
Maintenance and Repairs
Users of this machine may only carry out the maintenance and service work described in this user manual. All other repairs must be carried out by a servicing dealer. STIHL recommends that you have servicing and repair work carried out exclusively by an authorized STIHL servicing dealer. STIHL dealers are regularly given the opportunity to attend training courses and are supplied with the necessary technical information. When repairing the machine, only use replacement parts that have been approved by STIHL for this power tool or are technically identical. Only use high-quality replacement parts in order to avoid the risk of accidents and damage to the machine. STIHL recommends the use of original STIHL replacement parts.
Original STIHL parts can be identified by the STIHL part number, the
logo, and the STIHL parts symbol K (the symbol may appear alone on small parts).
Disposal
Observe all country-specific waste disposal rules and regulations.
![]()
STIHL products must not be thrown in the garbage can. Take the product, accessories, and packaging to an approved disposal site for environment-friendly recycling.
Contact your STIHL servicing dealer for the latest information on waste disposal.
EC Declaration of Conformity
ANDREAS STIHL AG & Co. KG
Bad. 115
D-71336 Waiblingen
Germany
declares under our sole responsibility that
| Type: | Special harvester KombiTool |
| Make: | STIHL |
| Series: | SP-KM |
| Serial identification number: | 4249 |
conforms to the relevant provisions of Directive 2006/42/EC and has been developed and manufactured in compliance with the following standards in the versions valid on the date of production: EN ISO 12100 (in conjunction with the specified KM and KMA models). Technical documents deposited at ANDREAS STIHL AG & Co. KG
Produktzulassung The year of manufacture is specified on the power tool. Done at Waiblingen, 03.02.2020 ANDREAS STIHL AG & Co. KG pp
Dr. Jürgen Hoffmann
Head of Product Data, Regulations and Licensing
www.stihl.com


















