STIHL BG-KM KombiSystem Blower Attachment Instruction Manual
Dear Customer
Thank you for choosing a quality engineered STIHL product.
It has been built using modern production techniques and comprehensive quality assurance. Every effort has been made to ensure your satis‐ faction and trouble-free use of the product.
Please contact your dealer or our sales company if you have any queries concerning this product. Your

Dr. Nikolas Stihl
KombiSystem
In the STIHL KombiSystem a number of different KombiEngines and KombiTools can be com‐ bined to produce a power tool. In this instruction manual the functional unit formed by the Kom‐ biEngine and KombiTool is referred to as the power tool.
Therefore, the separate instruction manuals for the KombiEngine and KombiTool should be used together for the power tool.
Always read and and make sure you understand both instruction manuals before using your power tool for the first time and keep them in a safe place for future reference.
Guide to Using this Manual
Pictograms
All the pictograms attached to the machine are shown and explained in this manual.
Symbols in text
WARNING
Warning where there is a risk of an accident or personal injury or serious damage to property.
NOTICE
Caution where there is a risk of damaging the machine or its individual components.
Engineering improvements
STIHL’s philosophy is to continually improve all of its products. For this reason we may modify the design, engineering and appearance of our products periodically.
Therefore, some changes, modifications and improvements may not be covered in this manual.
Safety Precautions and Working Techniques
Special safety precautions must be observed when operating a power tool.
Both user manuals (KombiEngine and KombiTool) must be read through attentively before using the unit for the first time and kept in a safe place for future reference. Noncompliance with the user manuals may cause serious or even fatal injury.
Lend or rent your machine only to persons who are familiar with this model and its operation – do not lend of rent your machine without the Kom‐
biEngine and KombiTool user manuals.
The blower is designed for blow-sweeping leaves, grass, paper, snow and similar materials, e.g. in gardens, sports stadiums, car parks and driveways. It is also suitable for blow-sweeping forest paths.
The machine must not be used for any other purposes – risk of accidents!
3 Safety Precautions and Working Techniques
Only use parts and accessories that are explicitly approved for this power tool by STIHL or are technically identical. If you have any questions in this respect, consult a STIHL dealer.
Use only high quality parts and accessories in order to avoid the risk of accidents and damage to the machine.
STIHL recommends the use of original STIHL parts and accessories. They are specifically designed to match the product and meet your performance requirements.
Never attempt to modify your power tool in any way since this may increase the risk of personal injury. STIHL excludes all liability for personal injury and damage to property caused while using unauthorized attachments.
Do not use a high-pressure washer to clean the power tool. The solid jet of water may damage parts of the unit.
Clothing and equipment
Wear proper protective clothing and equipment.
Clothing must be sturdy but allow complete freedom of movement. Wear snug-fitting clothing, e.g. an overall and jacket combination, do not wear a work coat.
Avoid any clothing, scarves, neckties, jewelry or anything that could get into the air intake. Tie up and confine long hair above your shoulders.
Wear sturdy shoes with non-slip soles.
WARNING
To reduce the risk of eye injuries, wear close-fitting safety glasses in accordance with European Standard EN 166. Make sure the safety glasses are a snug fit.
Wear “personal” sound protection, e.g. ear defenders.
STIHL can supply a comprehensive range of personal protective equipment.
Transporting the machine
Always stop the engine.
By vehicle: When transporting in a vehicle, properly secure your machine to prevent turnover, damage and fuel spillage.
Before starting
Check that your power tool is properly assem‐ bled and in good condition – refer to appropriate chapters in the KombiEngine and KombiTool user manuals.
- A worn fan housing (cracks, nicks, chips) may result in an increased risk of injury from thrown foreign objects
- If the fan housing is damaged, consult your dealer – STIHL recommends you contact a STIHL dealer.
- Never attempt to modify the controls or safety devices
- Keep the handles dry and clean – free from oil and dirt – this is important for safe control of the machine
To reduce the risk of personal injury, do not operate your power tool if it is damaged or not properly assembled!
To prepare for emergencies when using a harness: Practice setting down the machine quickly. To avoid damage, do not throw the machine to the ground when practicing.
See also notes on “Before Starting” in the user manual of the KombiEngine you are using.
While working
Do not direct the air blast towards bystanders or animals – the machine may eject small objects at high speed – risk of injury!.
In the event of impending danger or in an emergency, switch off the engine immediately by moving the slide control / stop switch / stop button to STOP or 0.
To reduce the risk of injury, do not allow any other persons within a radius of 5 meters of your own position.
This distance must also be maintained in relation to objects (vehicles, window panes) – risk of property damage!
As soon as the engine is running, the power machine generates toxic exhaust gas. These gases may be odorless and invisible and may contain unburned hydrocarbons and benzene. Never run the engine indoors or in poorly ventilated locations, even if your model is equipped with a cata‐ lytic converter.
Never leave a running machine unattended.
Take special care in slippery conditions dampness, snow, ice, on slopes or uneven ground.
When blow-sweeping (in open terrain and in gardens), look out for small animals to prevent endangering them.
Mufflers with catalytic converters can become especially hot.
The dust, which is swirled up during operation, may be harmful to health. Wear a dust mask in case of dust formation.
Be particularly alert and cautious when wearing hearing protection because your ability to hear warnings (shouts, alarms, etc.) is restricted.
After work, place the machine on a level, nonflammable surface. Do not place the machine near easily flammable materials (e.g. wood chips, bark, dry grass, fuel) – risk of fire!
If your power tool is subjected to unusually high loads for which it was not designed (e.g. heavy impact or a fall), always check that it is in good condition before continuing work – see also notes in chapter on “Before Starting” in the Kom‐ biEngine user manual. Make sure the safety devices are working properly. Never use a power tool that is no longer safe to operate. In case of doubt, contact a dealer.
Using the Machine

Always hold the unit firmly with both hands on the handles. Right hand on control handle, left hand on loop handle on the shaft, even if you are left-handed. Wrap your fingers and thumbs around the handles.
WARNING
To reduce the risk of injury, operate the unit only with a properly mounted blower tube.
Work only slowly, moving in a forwards direction always observe the discharge area of the blower tube – do not move backwards – risk of tripping!
When blow-sweeping in open terrain and in gardens, look out for small animals.
The machine can be carried on a harness (available as special accessory in some markets) to relieve the weight on your arms.
Working Technique
To minimize blowing time, use a rake and broom to loosen dirt particles before you start blowing.
- If necessary, dampen the surface to be cleaned in order to avoid creating too much dust.
- Do not blow particles in the direction of bystanders, in particular in the direction of children, pets, open windows or freshly washed vehicles. Take special care in such situations.
- Remove the blow-swept debris in rubbish bins
- do not blow it onto the neighbor’s land.
- Operate your power tool at reasonable times only – not early in the morning, late at night or during midday rest periods when people could be disturbed. Observe local rest periods.
- Operate blowers at the lowest engine speed necessary to accomplish the task.
- Check your blower before starting work. Pay special attention to the muffler, air intakes and air filter.
Maintenance and Repairs
Service the machine regularly. Do not attempt any maintenance or repair work not described in the KombiTool and KombiEngine instruction manuals. Have all other work performed by a servicing dealer.
STIHL recommends that you have servicing and repair work carried out exclusively by an author‐ ized STIHL servicing dealer. STIHL dealers are regularly given the opportunity to attend training courses and are supplied with the necessary technical information.
Only use high-quality replacement parts in order to avoid the risk of accidents and damage to the machine. If you have any questions in this respect, consult a servicing dealer.
STIHL recommends the use of genuine STIHL replacement parts. They are specifically designed to match your model and meet your performance requirements.
To reduce the risk of injury, always shut off the engine before carrying out any maintenance or repairs or cleaning the machine.
Approved KombiEngines
KombiEngines
Only use KombiEngines supplied or explicitly approved by STIHL for use with the attachment.
This KombiTool may be operated only in combination with the following KombiEngines:
STIHL KM 55 R, KM 56 R, KM 85 R, KM 90, KM 90 R, KM 94 R, KM 100, KM 100 R, KM 110, KM 110 R, KM 130, KM 130 R, KMA 130 R, KMA 135 R
WARNING
Loop-handled machines must be equipped with a barrier bar
Brushcutters with split boom
The KombiTool can also be fitted to STIHL brushcutters with a split boom (T-models) (basic power tools).
This KombiTool can therefore also be used on the following machine:
STIHL FR 130 T
WARNING
Refer to the user manual of the power tool for use of the barrier bar.
Assembling the Unit
Push the nozzle onto the blower tube as far as the lug and then rotate it clockwise up to stop to lock in positon.
WARNING
To reduce the risk of injury, operate the unit only with a properly mounted blower tube.
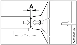
Mounting the KombiTool
Mounting the KombiTool

Push the lug (1) on the drive tube into the slot (2) in the coupling sleeve as far as stop.

When correctly mounted, the intake screen (3) must be flush with the coupling sleeve (gap ‘A’ no more than 5 mm).
Tighten down the wing screw (4) firmly.
Removing the KombiTool
Reverse the above sequence to remove the KombiTool.
Starting / Stopping the Engine
Starting the Engine
Always follow the operating instructions for the KombiEngine and basic power tool.

NOTICE
Start your machine on a clean surface only to ensure that no dust is sucked in.
- Place the machine securely on the ground and make sure that bystanders are well clear of the nozzle outlet.
- Make sure you have a firm footing, either standing, stooping or kneeling.
- Hold the machine with you left hand and press it down firmly – do not touch the controls on the control handle – see KombiEngine or basic power tool instruction manual.
NOTICE
Do not stand or kneel on the drive tube.
The starting procedure is now as described in the instruction manual of the KombiEngine or basic power tool you are using.
Stopping the Engine
See KombiEngine or basic power tool instruction manual.
Storing the Machine
For periods of about 3 months or longer
- Clean and inspect the housing.
- If the KombiTool is removed from the KombiEngine and stored separately: Fit the protective cap on the drive tube to avoid dirt getting into the coupling.
- Store the machine in a dry, high or locked location – out of the reach of children and other unauthorized persons.
Maintenance and Care
The following intervals apply to normal operating conditions only. If your daily working time is lon‐ ger or operating conditions are difficult (very dusty work area, etc.), shorten the specified intervals accordingly.
Intake screen

- Check and clean before starting work, after finishing work and when required.
- If damaged, have replaced by dealer1)
Minimize Wear and Avoid Damage
Observing the instructions in this manual and the KombiEngine manual helps reduce the risk of unnecessary wear and damage to the power tool.
The power tool must be operated, maintained and stored with the due care and attention described in these instruction manuals.
The user is responsible for all damage caused by non-observance of the safety precautions, operating and maintenance instructions. This includes in particular:
- Alterations or modifications to the product not approved by STIHL.
- Using tools or accessories which are neither approved or suitable for the product or are of a poor quality.
- Using the product for purposes for which it was not designed.
- Using the product for sports or competitive events.
- Consequential damage caused by continuing to use the product with defective components.
Maintenance Work
All the operations described in the chapter on “Maintenance and Care” must be performed on a regular basis. If these maintenance operations cannot be performed by the owner, they should be performed by a servicing dealer.
STIHL recommends that you have servicing and repair work carried out exclusively by an author‐ ized STIHL servicing dealer. STIHL dealers are regularly given the opportunity to attend training courses and are supplied with the necessary technical information.
If these maintenance operations are not carried out as specified, the user assumes responsibility for any damage that may occur. Among other parts, this includes:
- Corrosion and other consequential damage resulting from improper storage.
- Damage to the product resulting from the use of poor quality replacement parts.
Parts Subject to Wear and Tear
Some parts of the power tool are subject to normal wear and tear even during regular operation in accordance with instructions and, depending on the type and duration of use, have to be replaced in good time. Among other parts, this includes:
Nozzle
Intake screen
Main Parts

- Drive tube
- Blower housing
- Blower tube
- Nozzle
Specifications
Maximum air flow rate (with round nozzle)
depending on KM or FR model being used
875 – 1025 m3/h
Air velocity (with round nozzle)
depending on KM or FR model being used
60 – 70 m/s
Weight
1.8 kg
Noise and Vibration Data
Noise and vibration data measurements on power tools with the BG‑KM KombiTool include idling and rated maximum speed in a ratio of 1:6.
For further details on compliance with Vibration Directive 2002/44/EC see www.stihl.com/vib/
Sound pressure level Lpeq to ISO 22868
KM 55 R with loop handle: 95 dB(A)
KM 56 R with loop handle: 96 dB(A)
KM 85 R with loop handle: 97 dB(A)
KM 90 R with loop handle: 95 dB(A)
KM 94 R with loop handle: 93 dB(A)
KM 100 R with loop handle: 95 dB(A)
KM 130 R with loop handle: 97 dB(A)
FR 130 T: 96 dB(A)
Sound pressure level Lpeq to EN 50636-2-100
KMA 130 R with loop handle: 91 dB(A)
Sound pressure level Lpeq to ISO 11201
KMA 135 R with loop handle: 89.2 dB(A)
Sound power level Lw to ISO 22868
KM 55 R with loop handle: 106 dB(A)
KM 56 R with loop handle: 107 dB(A)
KM 85 R with loop handle: 108 dB(A)
KM 90 R with loop handle: 107 dB(A)
KM 94 R with loop handle: 106 dB(A)
KM 100 R with loop handle: 107 dB(A)
KM 130 R with loop handle: 109 dB(A)
Sound power level Lweq to ISO 22868
FR 130 T: 108 dB(A)
Sound power level Lw to EN 50636-2-100
KMA 130 R: 102 dB(A)
Sound power level Lw to ISO 3744
KMA 135 R: 104 dB(A)
Vibration measurement ahv,eq to ISO 22867
Handle, left Handle, right
KM 55 R with loophandle: 4.6 m/s2 7.0 m/s2
KM 56 R with loophandle: 4.7 m/s2 6.7 m/s2
KM 85 R with loophandle: 4.4 m/s2 8.2 m/s2
KM 90 R with loophandle: 3.1 m/s2 5.9 m/s2
KM 94 R with loophandle: 4.8 m/s2 5.9 m/s2
KM 100 R with loophandle: 3.1 m/s2 5.8 m/s2
KM 130 R with loophandle: 3.6 m/s2 7.3 m/s2
FR 130 T: 4.6 m/s2 3.0 m/s2
Vibration level ahv,eq to EN 50636-2-100
Handle, left Handle, right
KMA 130 R with loop handle: 1.6 m/s2 2.0 m/s2
KMA 135 R with loop handle: 3.9 m/s2 2.7 m/s
The K‑factor in accordance with Directive 2006/42/EC is 2.0 dB(A) for the sound pressure level and sound power level; the K‑factor in accordance with Directive 2006/42/EC is 2.0 m/s2 for the vibration level.
REACH
REACH is an EC regulation and stands for the Registration, Evaluation, Authorisation and Restriction of Chemical substances.
For information on compliance with the REACH regulation (EC) No. 1907/2006 see www.stihl.com/reach.
Maintenance and Repairs
Users of this machine may only carry out the maintenance and service work described in this user manual. All other repairs must be carried out by a servicing dealer.
STIHL recommends that you have servicing and repair work carried out exclusively by an author‐ ized STIHL servicing dealer. STIHL dealers are regularly given the opportunity to attend training courses and are supplied with the necessary technical information.
When repairing the machine, only use replacement parts which have been approved by STIHL for this power tool or are technically identical. Only use high-quality replacement parts in order to avoid the risk of accidents and damage to the machine.
STIHL recommends the use of original STIHL replacement parts.
Original STIHL parts can be identified by the STIHL part number, the { logo and the STIHL parts symbol K (the symbol may appear alone on small parts).
Disposal
Observe all country-specific waste disposal rules and regulations.

STIHL products must not be thrown in the garbage can. Take the product, accessories and packaging to an approved disposal site for envi‐ ronment-friendly recycling.
Contact your STIHL servicing dealer for the latest information on waste disposal.
EC Declaration of Conformity
ANDREAS STIHL AG & Co. KG
Badstr. 115
D-71336 Waiblingen
Germany
declare in exclusive responsibility that the product
Category: Blower KombiTool
Make: STIHL
Type: BG‑KM
Serial identification: 4606
conforms to the relevant provisions of Directives 2006/42/EC, 2014/30/EU and 2000/14/EC and has been developed and manufactured in compliance with the following standards in the versions valid on the date of production:
EN ISO 12100 (in conjunction with the specified KM‑ and FR‑models).
EN ISO 12100, EN 60335-1, EN 50636-2-100 (in conjunction with the specified KMA models)
The measured and guaranteed sound power levels were determined according to Directive 2000/14/EC, Annex V, using the ISO 11094 standard.
Measured sound power level
with KM 55 R: 104 dB(A)
with KM 56 R: 106 dB(A)
with KM 85 R: 106 dB(A)
with KM 90 R: 105 dB(A)
with KM 94 R: 108 dB(A)
with KM 100 R: 105 dB(A)
with KM 110 R: 105 dB(A)
with KM 130 R: 108 dB(A)
with KMA 130 R: 102 dB(A)
with KMA 135 R: 101.5 dB(A)
with FR 130 T: 107 dB(A)
Guaranteed sound power level
with KM 55 R: 106 dB(A)
with KM 56 R: 108 dB(A)
with KM 85 R: 108 dB(A)
with KM 90 R: 107 dB(A)
with KM 94 R: 110 dB(A)
with KM 100 R: 107 dB(A)
with KM 110 R: 107 dB(A)
with KM 130 R: 110 dB(A)
with KMA 130 R: 104 dB(A)
with KMA 135 R: 104 dB(A)
with FR 130 T: 109 dB(A)
Technical documents deposited at:
ANDREAS STIHL AG & Co. KG
Produktzulassung (Product Licensing)
The year of manufacture is applied to the power tool.
Done at Waiblingen, 15.07.2021
ANDREAS STIHL AG & Co. KG

Dr. Jürgen Hoffmann
Director Product Certification & Regulatory
Affairs

UKCA Declaration of Conformity
ANDREAS STIHL AG & Co. KG Badstr. 115
D-71336 Waiblingen
Germany
declare in exclusive responsibility that the product
Category: Blower KombiTool
Make: STIHL
Model: BG‑KM
Serial identification: 4606
complies with the relevant provisions of the UK regulations Supply of Machinery (Safety) Regulations 2008, Electromagnetic Compatibility Regulations 2016 and Noise Emission in the Environment by Equipment for use Outdoors Regula‐ tions 2001 and has been developed and manufactured in accordance with the versions of the following standards valid on the date of manufacture:
EN ISO 12100 (in conjunction with the specified KM‑ and FR‑models).
EN ISO 12100, EN 60335-1, EN 50636-2-100 (in conjunction with the specified KMA models)
The measured and guaranteed sound power levels were determined in accordance with the UK regulation 2000/14/EC, Schedule 8, using the ISO 11094 standard.
Measured sound power level
with KM 55 R: 104 dB(A)
with KM 56 R: 106 dB(A)
with KM 85 R: 106 dB(A)
with KM 90 R: 105 dB(A)
with KM 94 R: 108 dB(A)
with KM 100 R: 105 dB(A)
with KM 110 R: 105 dB(A)
with KM 130 R: 108 dB(A)
with KMA 130 R: 102 dB(A)
witth KMA 135 R: 101.5 dB(A)
with FR 130 T: 107 dB(A)
Guaranteed sound power level
with KM 55 R: 106 dB(A)
with KM 56 R: 108 dB(A)
with KM 85 R: 108 dB(A)
with KM 90 R: 107 dB(A)
with KM 94 R: 110 dB(A)
with KM 100 R: 107 dB(A)
with KM 110 R: 107 dB(A)
with KM 130 R: 110 dB(A)
with KMA 130 R: 104 dB(A)
with KMA 135 R: 104 dB(A)
with FR 130 T: 109 dB(A)
Technical documents deposited at:
ANDREAS STIHL AG & Co. KG
The year of manufacture is applied to the power tool.
Done at Waiblingen, 15.07.2021
ANDREAS STIHL AG & Co. KG

Dr. Jürgen Hoffmann
Director Product Certification & Regulatory
Affairs


















