Rinnai RBOX04L Lockable Recess Box Instruction Manual

GENERAL INFORMATION
This Recess Box fits these Rinnai Water Heater models.

INSTALLATION METHOD

- Preparation of opening in brickwork:
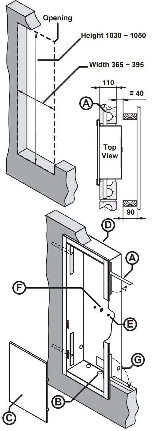
Height 10301050mm, width 365395mm and depth 150mm.
The box can either be fitted as the brickwork is being laid using the fold out brick ties (A) to secure the box, or in an existing wall. For an existing wall, provide an opening in the brickwork to the above dimensions and fix the box in place by drilling holes in the sides and fixing in position with suitable flush headed masonry anchors. - The gas, cold water inlet and hot water outlet pipes can be brought through the pipe entry holes panel of the box (B) in the bottom.
IMPORTANT
The Rinnai water heater serial number and model number on the data plate located on the left hand side of the appliance, MUST be copied to the sticker on the inside of the access panel (C). The serial number is needed for any warranty or service work. - The Rinnai water heater can now be mounted in the recess box via the top and bottom heater securing points. Slide the Rinnai upper water heater stainless steel mounting bracket through the top of securing slot (D) by guiding the mounting bracket through the slot cut-out on the top of the recess box. Lower the unit so that the keyhole slots in the lower stainless steel mounting bracket are securely resting on the two bottom threaded studs E and over the padlock tab (F). Hold the Rinnai water heater in place and fit the two 5mm nuts to each of the threaded studs (E) so that the bottom mounting bracket on the water heater is held firmly to the back panel of the box.
- Make the gas and water connections to the water heater. On completion check for gas escapes and water leaks.
- Use silicone to seal the pipe entry holes and seal between the bottom, side and back panels to ensure that no water can enter the wall cavity. The bottom panel of the box is designed with a 2° slope towards the front allowing any water that enters the enclosure to drain out.
- To help reduce the risk of theft or damage, attach the supplied padlock to the padlock tab (F) as required.
CAUTION
TAKE CARE TO AVOID CONTACT WITH THE EDGES OF THE RETAINING SLOT TABS, WHICH MAY BE SHARP! - Using a screwdriver, bend the four access panel retaining slot tabs (I) out at 90°.

- Align and insert the four hooked tabs (J) of the access panel (C) into the retaining slot (I) of the box, then gently tabs push down to secure, noting that a gap (H) is retained for drainage.
NOTE
Cable access holes (G) are provided on both the left and right to allow installation of a weatherproof NOTE electrical outlet.
Alternatively an external weatherproof electrical outlet may be used by passing the power lead through the access panel gap (H).
If you require any further information, please contact Rinnai.

Rinnai Australia Pty. Ltd.
ABN 74 005 138 769
100 Atlantic Drive Keysborough, Victoria 3173
P.O. Box 460 Braeside, Victoria 3195
AU45204
Rinnai has a Service and Spare Parts network with personnel who are fully trained and equipped to give the best service on your Rinnai appliance. If your appliance requires service, please call our National Help Line. Rinnai recommends that this appliance be serviced at least every 2 years.
With our policy of continuous improvement, we reserve the right to change, or discontinue at any time, specifications or designs without notice.
Product Sales & Service National Help Line
Tel: 1300 555 545*
Fax: 1300 555 655
*Monday to Friday, 8.00am to 5.30pm EST
For further information visit www.rinnai.com.au or email [email protected]














