Contents hide
GIANNI ML-450 Electric Lock

Specifications
- Operating Voltage: 12 ~ 24 VDC/AC
- Current Draw: 280mA/12VDC; 180mA/24VDC
- Locking Mode: Fail-Safe
- Operating Temperature: -10°C~+49°C
- Humidity: 0~85% non-condensing
- Applicable to horizontal and vertical installation
- For single/double action swing doors
- Latch Throw: 13mm
- Endurance Rating: 250,000 cycles (Factory tested)
- Static strength: 1,500 lbs
- Preload: 500 lbs of pressure strength
Mortise Mount Model Dimensions
ML-450 Series Models
- ML-450M: Mortise mount
- ML-450MSMB: Surface mount
- ML-450MVGL: Surface mount (for frameless glass doors & walls)
Strike Plate Dimensions
Wiring Diagram
Butt Splice (IDC) Connector
- Using crimper or pliers and pressing the header of the connector down to an even position.
Mortise Mount Installation 
- The door loop protects the wiring from damage at the door hinge.
- Attention! Please ensure that the template is the correct way up.

- Align the center line (CL) of the lock body template with the CL of the door leaf. Ensure the CL of the strike plate template matches the lock body CL as closely as possible.

- Cut out mortise holes for the lock body and strike plate and drill holes according to the templates

- Tighten the fixing lugs with screws.

- Connect power cable to the lock and test before screwing to the door leaf.

- Affix the strike plate.

Surface Mount Model Dimensions
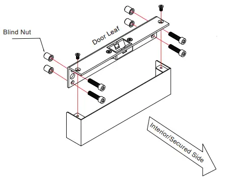
Surface Mount Installation

Installing Blind Nuts
- Blind Nut Assembly

- Drill a 9.4mm hole and hammer the blind nut assembly into the hole.

- Use a wrench or vice-grip to tightly hold the nut. Then use the included Allen wrench to slowly tighten the screw until it does not turn any further.

- This compresses the blind nut so that it remains permanently fixed in the hole.

- Remove the installation tool from that it remains permanently fixed the blind nut. Repeat step 2 in the hole. through 4 for the other blind nuts.


Glass Mount Model Dimensions
Glass Mount Installation
Installation Instructions
- Confirm the installation location and clean the surface of the glasses.
- Take off the sticker on the back side of the spacer and attach the space to the glass. Add more spacers if needed per glass thickness. Use silicone sealant or other adhesives to secure the bracket firmly.
- Tighten the set screws with an Allen wrench, secure the electric lock to the glass bracket, and then install the cover.
Caution:
- It is recommended to attach the spacers to the interior/secured side of the door.
- Tighten the set screws firmly but do not overtighten them to cause damage to the glass.
- The glass thickness should be 10-13 mm. The bracket can be adjusted to properly align the position of the strike plate and lock body depending on the door gap ranging from 6 to 10 mm.

- Frameless Glass Door (10 to 13 mm thick)
Copyright All Rights Reserved. P-MU-ML-450 Published: 2021.11.29






































