STIHL AHK 800.0 Ridger Attachment Instruction Manual
Introduction
Dear Customer,
Thank you for choosing STIHL. We develop and manufacture our quality products to meet our customers’ requirements. The products are designed for reliability even under extreme con‐ ditions.
STIHL also stands for premium service quality. Our dealers guarantee competent advice and instruction as well as comprehensive service support.
STIHL expressly commit themselves to a sus‐ tainable and responsible handling of natural resources. This user manual is intended to help you use your STIHL product safely and in an environmentally friendly manner over a long service life.
We thank you for your confidence in us and hope you will enjoy working with your STIHL product.
Dr. Nikolas Stihl
IMPORTANT! READ BEFORE USING AND KEEP IN A SAFE PLACE FOR REFERENCE.
Guide to Using this Manual
Applicable Documents
Local safety regulations apply.
- In addition to this instruction manual, read, understand and keep the following documents:
- STIHL MH 600.1, STIHL MH 700.1 instruc‐ tion manual
Symbols used with warnings in the text
WARNING
- This symbol indicates dangers that can cause serious injuries or death.
- The measures indicated can avoid serious injuries or death.
NOTICE
- This symbol indicates dangers that can cause damage to property.
- The measures indicated can avoid damage to property
Symbols in Text
This symbol refers to a chapter in this instruction manual.
Overview
Ridger

- Ridger wings
The adjustable ridger wings are used to adjust the working width. - Ridger tip
The ridger tip makes the furrow in the ground. - Bracket
The bracket attaches the ridger wings to the adapter and is used to adjust the working depth. - Bracket fastening
The bracket fastening consists of bolts and nuts and secures the bracket. - Adjustment screws
The adjustment screws are used to adjust the working angle. - Catches
The catches can be adjusted to change the working width.
Safety Precautions
Intended Use
The ridger is used to make furrows in the ground.
The ridger can be mounted on a tiller on which either STIHL ART 012.0 running wheels or STIHL AMR 060.0, STIHL AMR 070.0 cast-iron wheels are fitted.
Fitting cast-iron wheels improves the traction of the tiller and therefore significantly increases the ridger’s tractive force.
The ridger may only be used in combination with the tiller.
WARNING
- Failure to use the ridger as intended may result in serious or fatal injury to people and damage to property.
- Use the ridger as described in this instruc‐ tion manual.
Requirements for the User
WARNING
- Uninstructed users cannot recognise or evalu‐ ate the dangers posed by the ridger. This may result in serious or fatal injury to the user or other people
Read, understand and keep the instruction manual.- If passing on the ridger to another person: provide them with the instruction manual also.
- Make sure that the user meets the following conditions:
- The user is rested.
- The user is physically, sensorily and mentally capable of operating the ridger and working with it. If the user is physi‐ cally, sensorily or mentally impaired, the ridger must only be used under supervi‐ sion or following instruction by a respon‐ sible person.
- The user can recognise and evaluate the dangers posed by the ridger.
- The user is of legal age or the user is being trained under supervision in a profession in accordance with national regulations.
- The user has received instruction from a STIHL specialist dealer or a competent person before using the ridger for the first time.
- The user is not impaired by alcohol, medicines or drugs.
- If anything is unclear: consult a STIHL spe‐ cialist dealer
Clothing and Equipment
WARNING
- The user may come into contact with the ridger during assembly or when working. This may result in serious injury to the user.
- Wear work gloves made from resistant material.
- Wear protective boots with steel caps.
- Wear long trousers made from resistant material.
- The user may come into contact with the ridger during cleaning or maintenance. This may result in injury to the user.
- Wear work gloves made from resistant material.
Work Area and Surroundings
WARNING
- By standing people, children and animals can‐ not recognize or evaluate the dangers posed by the ridge. This may result in serious injury to by standing people, children and animals.
- Keep by standing people, children and ani‐ mals out of the work area.
- Do not leave the ridger unattended.
- Make sure that children cannot play with the ridger
Safe Condition
Ridge
The ridge is in safe condition when the following conditions are met:
- The ridger is undamaged.
- The ridger is clean.
- The ridger is working and has not been modi‐ fied.
- Genuine STIHL accessories for this ridger are attached.
- The accessories are correctly attached.
WARNING
- If not in safe condition, components may no longer operate correctly and safety devices may be disabled. This may result in serous or fatal injury to people.
- Do not use a damaged ridger.
- If the ridger is dirty: clean the ridger.
- Do not modify the ridger.
- Attach genuine STIHL accessories for this ridger.
- Attach the ridger as described in this instruction manual.
- If anything is unclear: consult a STIHL spe‐ cialist dealer.
Working
WARNING
- In certain situations, the user may no longer be able to concentrate on their work. This may result in the user stumbling, falling and becom‐ ing seriously injured.
- Work calmly and carefully.
- Ensure that you keep your feet and legs far enough away from the tiller and the ridger.
- If the light and visibility conditions are poor: do not use the ridger.
- Watch out for obstacles.
- If signs of fatigue occur: take a break.
- If the ridger changes or starts to behave differ‐ ently when working, it may not be in safe con‐ dition. This may result in serious injury to peo‐ ple and damage to property.
- Stop working, stop the engine and consult a STIHL specialist dealer.
Transporting
WARNING
- The ridger may tip over or move during trans‐ port. This may result in injury to people and damage to property.
- Remove the ridger.
- Secure the ridger with lashing straps, belts or a net so it cannot tip over and move.
Storing
WARNING
- Children cannot recognise or evaluate thedangers posed by the ridger. There is a risk of serious injury to children.
- Remove the ridger.
- Keep the ridger out of reach of children.
Cleaning, Maintenance and Repair
WARNING
- Abrasive cleaning agents and using sharp objects for cleaning may result in damage to the ridger. If the ridger is not cleaned correctly, components may no longer operate correctly and safety devices may be disabled. This may result in serious injury to people.
- Clean the ridger as described in this instruction manual.
- If the ridger is not maintained or repaired cor‐ rectly, components may no longer operate cor‐ rectly and safety devices may be disabled. This may result in serous or fatal injury to peo‐ ple.
- Do not maintain or repair the ridger your‐ self.
- If the ridger needs to be maintained or repaired: consult a STIHL specialist dealer.
Preparing the Ridger for Operation
Preparing the Ridger for Oper‐ ation
The following steps must be performed before commencing work:
- Make sure that the following components are in safe condition:
- Ridger,
4.5.1.
- Ridger,
- Clean the ridger,
12. - Assemble the ridger,
6. - If the steps cannot be performed: do not use the ridger and consult a STIHL specialist dealer.
Assembling the Ridger

- Unscrew nut (1) and remove bolt (2).
- Insert bracket (3) into the guide of ridger (4) so bores (5) align.
- Insert bolt (2).
- Screw on nut (1) and tighten firmly.
- Tighten screws (6). Bracket (3) is secured.
Attaching and Removing the Ridger
Attaching the Ridger
WARNING
- The tiller may tip over or move when attaching the ridger. This may result in injury to people and damage to property.
- Always work in pairs when attaching the ridger.
- Stop the engine.
- Place the tiller on a level surface.

- Have a second person lift and hold tiller (1) so blade spur (2) can be removed.

- Loosen screws (3).

- Detach retaining pin (4) and remove pin (5). Blade spur (2) can be removed.

- Insert ridger (6) into adapter (7) from below so the bores align.
- Insert pin (5).
- Push retaining pin (4) through the bore in pin (5). The ridger is secured.
Removing the Ridger
WARNING
- The tiller may tip over or move when removing the ridger. This may result in injury to people and damage to property.
- Always work in pairs when removing the ridger.
- Stop the engine.
- Place the tiller on a level surface.

- Have a second person lift and hold tiller (1) so ridger (2) can be removed.

- Loosen screws (3).

- Detach retaining pin (4) and remove pin (5). The ridger (2) can be removed.

- Insert blade spur (6) into adapter (7) from below so the bores align.
- Insert pin (5).
- Push retaining pin (4) through the bore in pin (5). The blade spur is secured.
Working with the Ridger
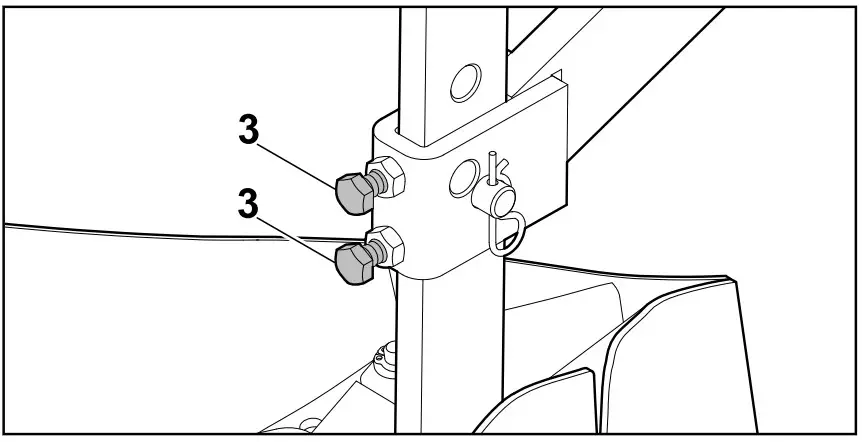
Adjusting the Swivel Range
The swivel range of the ridger can be adjusted.
- Stop the engine.
- Place the tiller on a level surface.

- Loosen lock nuts (1).
- Screw in screws (2) by turning clockwise.
- Tighten lock nuts (1) firmly. The swivel range is decreased.

- Loosen lock nuts (1).
- Unscrew screws (2) by turning anti-clockwise.
- Tighten lock nuts (1) firmly. The swivel range is increased.
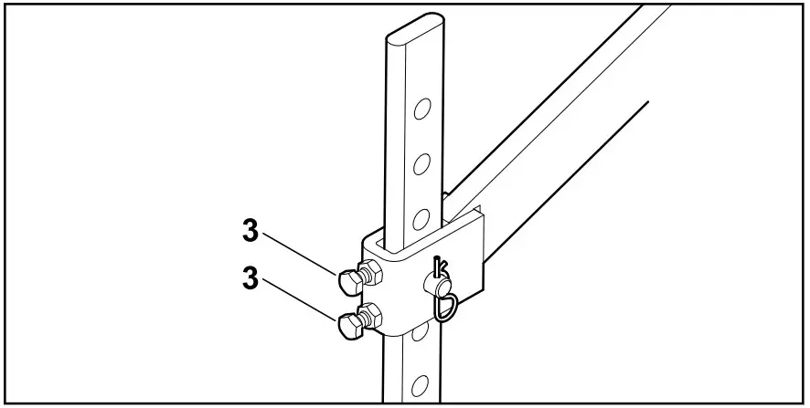
Adjusting the Working Angle
The working angle of the ridger can be adjusted.
- Stop the engine.
- Place the tiller on a level surface.

- Loosen lock nuts (1).
- Loosen screw (2).
- Unscrew screw (3) by turning anti-clockwise.
- Tighten screw (2) so bracket (4) is locked in place.
- Tighten lock nuts (1) firmly. The working angle is decreased.

- Loosen lock nuts (1).
- Loosen screw (2).
- Screw in screw (3) by turning clockwise.
- Tighten screw (2) so bracket (4) is locked in place.
- Tighten lock nuts (1) firmly. The working angle is increased
Adjusting the Working Width
The working width of the ridger can be adjusted to five levels.
- Stop the engine.
- Place the tiller on a level surface.

- Lift catches (1).
- Adjust ridger wings (2) so catches (1) can be hooked into a bore.
- Allow catches (1) to engage. The ridger wings are adjusted.
Adjusting the Working Depth
The working depth of the ridger can be adjusted to four levels.
- Stop the engine.
- Place the tiller on a level surface.

- Detach retaining pin (1) and remove pin (2).
- Adjust ridger (3) so the bores in bracket (4) and adapter (5) align.
- Insert pin (2).
- Push retaining pin (1) through the bore in pin (2).
The ridger is locked in place and the working depth is adjusted.
After Finishing Work
- Stop the engine.
- Remove the ridger.
- If the ridger is wet: allow the ridger to dry.
- Clean the ridger.
Transporting
Transporting the Ridger
- Stop the engine.
- Remove the ridger
Storing
Storing the Ridger
- Stop the engine.
- Remove the ridger.
- Store the ridger in accordance with the follow‐ ing conditions:
- The ridger is out of reach of children.
- The ridger is clean and dry.
Cleaning
Cleaning the Ridger
- Stop the engine.
- Remove the ridger.
- Clean the ridger with a damp cloth or STIHL resin solvent.
- Clean the catch of the ridger with a paintbrush or a soft brush
Maintenance and Repairs
Maintaining and Repairing the Ridger
The ridger does not need to be maintained and cannot be repaired.
- If the ridger is defective or damaged: have the ridger replaced by a STIHL specialist dealer.
Troubleshooting
Remedying Ridger Faults
| Fault | Cause | Remedy |
| Excessive vibration during operation. | Ridger fastening loose. |
|
| Ridger not making clean furrows. | Swivel range set incorrectly. |
|
| Working angle set incorrectly. |
| |
| Working width set incorrectly |
| |
| Working depth is set incorrectly. |
|
Spare Parts and Accesso‐ ries
Spare parts and accessories
These symbols indicate original STIHL spare parts and original STIHL acces‐ sories
STIHL recommends the use of original STIHL spare parts and accessories.
Despite ongoing market observation, STIHL is unable to judge the reliability, safety and suitabil‐ ity of other manufacturers’ spare parts and accessories; accordingly, STIHL cannot warrant for the use of those parts.
Original STIHL spare parts and original STIHL accessories are available from STIHL dealers
Disposal
Disposing of the Ridger
Information on disposal is available from your local authority or from a STIHL specialist dealer.
Improper disposal may be harmful to health and pollute the environment
- Take STIHL products including packaging to a suitable collection point for recycling in accord‐ ance with local regulations.
- Do not dispose of the product with domestic waste.































