STIHL FC-MM Bed Edger Attachment

MultiSystem

In the STIHL MultiSystem, various MultiEngines and MultiTools are combined to form a machine. In this Instruction Manual, the functional unit of MultiEngine and MultiTool is referred to as a machine.
Accordingly, the instruction manuals for the Mul‐tiEngine and the MultiTool constitute the entire Instruction Manual for the machine.
Always read both manuals carefully before using your machine for the first time and keep them safe for future reference.
Guide to Using this Manual
Pictograms
All the pictograms attached to the machine are shown and explained in this manual.
Symbols in text
- WARNING
- Warning where there is a risk of an accident or personal injury or serious damage to property.
- NOTICE
- Caution where there is a risk of damaging the machine or its individual components.
Engineering improvements
STIHL’s philosophy is to continually improve all of its products. For this reason we may modify the design, engineering and appearance of our products periodically.
Therefore, some changes, modifications and improvements may not be covered in this manual.
Safety Precautions and Working Techniques
Special safety precautions must be observed when working with this power edger because it has a sharp cutting blade that rotates at high speed.
Always read and and make sure you understand both user manuals (Multi‐Engine and MultiTool) before using your power tool for the first time and keep them in a safe place for future reference. Non-compliance with the user manuals may cause serious or even fatal injury. Lend or rent your power tool only to persons who are familiar with this model and its operation – do not lend of rent your power tool without the Multi‐Engine and MultiTool user manuals. The edger may only be used to cut borders along paths, flower beds and lawns.
The machine must not be used for any other purposes – risk of accidents!
Only use attachments and accessories that are explicitly approved for this power tool model by STIHL or are technically identical. If you have 3 Safety Precautions and Working Techniques
any questions in this respect, consult your dealer. Use only high quality parts and accessories. in order to avoid the risk of accidents and damage to the machine.
STIHL recommends the use of original STIHL tools and accessories. They are specifically designed to match the product and meet your performance requirements.
The deflector on this power tool cannot protect the operator from all objects thrown by the attachment (stones, glass, wire, etc.). Ejected objects may also ricochet and strike the operator.
Never attempt to modify your power tool in any way since this may increase the risk of personal injury. STIHL excludes all liability for personal injury and damage to property caused while using unauthorized attachments.
Do not use a high-pressure washer to clean the power tool. The solid jet of water may damage parts of the unit.
Clothing and equipment
Wear proper protective clothing and equipment. Clothing must be sturdy but allow complete freedom of movement. Wear close-fitting clothes such as a boiler suit, not a loose jacket. Do not wear clothing which could become trap‐ped in wood, brush or moving parts of the machine. Do not wear a scarf, necktie or jewelry. Tie up and confine long hair above your shoulders. Wear steel-toed safety boots with non-slip soles.
WARNING To reduce the risk of eye injuries, wear close-fitting safety glasses in accordance with European Standard EN 166. Make sure the safety glasses are a snug fit.
Wear “personal” sound protection, e.g. ear defenders. Wear sturdy protective gloves made of a resistant material (e. g. leather). STIHL can supply a comprehensive range of personal protective equipment.
Transporting the machine

Always stop the engine.
Carry your power tool by the handle, attachment in front of you.
Do not touch hot parts of the machine – risk of burn injury!
By vehicle: When transporting in a vehicle, prop‐erly secure your machine to prevent turnover, damage and fuel spillage.
Before starting
Check that your power tool is properly assembled and in good condition – refer to appropriate chapters in the MultiEngine and MultiTool user manuals.
- Blade correctly and securely mounted and in good condition (clean, move freely, not war‐ped)
- Inspect the deflectors for damage and wear. Do not operate the machine with a damaged deflector – replace damaged parts.
- Never attempt to modify the controls or safety device.
- Keep the handles dry and clean – free from oil and dirt – this is important for safe control of the machine
Swing the bike handle to the normal operating position and tighten it down firmly with the rotary knob. See chapter on “Adjusting the Bike Handle” in the MultiEngine user manual.
To reduce the risk of personal injury, do not operate your power tool if it is damaged or not properly assembled!
Check the gearbox for correct position, adjust if necessary. This helps reduce the risk of injury from the MultiTool rotating in the wrong direction.
See also notes on “Mounting the MultiTool”. Ensure that the gear unit and the rotor blades are correctly attached and aligned and avoid contact with the rotor blades – risk of injury! Your power tool produces toxic exhaust fumes as soon as the engine is running. These fumes may be col‐orless and odorless and contain unburned hydrocarbons and benzol. Never run the engine indoors or in poorly ventilated locations, even if your model is equipped with a cata‐lytic converter.
Arrows on the rotor blades show the direction of rotation. The arrows on the rotor blades must point in the same direction as the arrows on the gear. If you use metal tools, position the gearbox so that the axle is below the drive shaft.
Use this position for:
- BF-MM cultivator
- BK-MM bolo tines
- FC-MM edger
- RL-MM aerator
- MF-MM dethatcher
Holding and Guiding the Machine
Make sure you always have good balance and secure footing.
Always hold the unit firmly with both hands on the handles.
Right hand on control handle, left hand on grip on handlebar.
While working
In the event of impending danger or in an emergency, switch off the engine immediately by moving the slide control / stop switch/button to 0 or STOP.
Within a wide area around the workplace, there is a risk of accident by ejected objects, therefore ensure that there is no-one within a 5 m radius of the machine. This distance must also be maintained in relation to objects (vehicles, window panes) – risk of property damage! Even at a distance over 5 m, danger cannot be ruled out.
The correct engine idle speed is important to ensure that the attachment stops moving when you let go of the throttle trigger. Check and correct the idle speed setting at regular intervals. If the attachment still rotates when the engine is idling, have your dealer check your machine and make proper adjustments or repairs – see Multi‐Engine user manual. The gear head becomes hot during operation. To reduce the risk of burn injury, do not touch the gear housing! To reduce the risk of injury from thrown objects or contact with the attachment, never operate the unit without a properly mounted deflector designed specifically for the unit and the attachment.
Always stand behind the deflector or to one side of the machine during operation – never in front of the attachment.
Take special care in slippery conditions – damp or ice on slopes or uneven ground.
To reduce the risk of accidents or injury, remove all obstacles and objects from the work area.
Inspect the work area – solid objects (stones, pieces of metal, etc.) may damage the attachment. To avoid the risk of electrocution, never use your power tool in areas where electrical lines are laid on the surface or buried just below the sur‐face. Striking and damaging such lines with the attachment could cause serious or even fatal injury.
Operate your power tool at normal walking pace only.
Be extremely cautious when pulling the power tool towards you because of the risk of injury from contact with the rotating attachment.
Make sure you always have good balance and secure footing.
Be extremely cautious when changing direction with the power tool – especially on slopes.
On slopes, always work parallel to the gradient to reduce the risk of injury from slipping or contact with the attachment.
Never work on steep slopes because of the risk of injury through loss of control of the power tool.
Take particular care when working close to fen‐ces, walls, stones, roots, trees and areas of dense growth. Solid objects may be ejected in your direction or damage the attachment – risk of accidents.
When working next to high scrub, bushes and hedges, avoid harming animals!
Be particularly alert and cautious when wearing hearing protection because your ability to hear warnings (shouts, alarms, etc.) is restricted.
Take breaks when you start getting tired or feel‐ing fatigue – risk of accidents!
Work calmly and carefully – in daylight conditions and only when visibility is good. Proceed with caution, do not put others in danger.
If your power tool is subjected to unusually high loads for which it was not designed (e.g. heavy impact or a fall), always check that it is in good condition before continuing work – see also
“Before Starting”. Make sure the safety devices are working properly. Never use a power tool that is no longer safe to operate. In case of doubt, contact a dealer.
Do not touch the attachment while the engine is running. If the attachment becomes jammed by an obstruction, switch off the engine immediately before attempting to remove the obstruction –otherwise, risk of injury!
Opening the throttle while the attachment is blocked increases the load and reduces engine speed. The clutch then slips continuously and this causes overheating and damage to important components (e.g. clutch, polymer housing components) – and this can increase the risk of 0458-481-0121-B injury from the attachment moving while the engine is idling. Check the sweeping attachments at regular short intervals during operation or immediately if there is a sudden change in behavior:
- Shut off the engine, hold the machine securely.
- Check condition and secure fitting; watch out for cracks
- Replace a damaged cutting attachment immediately, even if it has only superficial cracks.
Clean the attachment and deflector at regular intervals during operation.
- Shut off the engine
- Use gloves
- Remove grass, weeds, clumps of soil, etc.
To reduce the risk of injury, shut off the engine before changing the attachment.
Do not continue using or attempt to repair dam‐aged or cracked cutting attachments by welding, straightening or modifying the shape (out of balance).
If a rotating metal cutting attachment touches a rock or another hard object, sparks may be generated which may possibly ignite combustible materials. Also dried-out plants and brushwood are combustible, above all in hot and dry weather. If there is a risk of fire, do not use metal cutting attachments in the vicinity of combustible materials, dried-out plants or brushwood. It is mandatory that you ask the responsible forestry office about the current fire hazard.
After finishing work
After finishing work or before leaving the power tool unattended: Shut off the engine.
After finishing work, clean dirt, soil and plant residue off the attachment – wear gloves to reduce the risk of injury.
Do not use any grease solvents when cleaning.
After thoroughly cleaning, coat metal surface of attachments with a corrosion inhibitor.
Maintenance and Repairs
Service the machine regularly. Do not attempt any maintenance or repair work not described in the MultiTool and MultiEngine instruction manuals. Have all other work performed by a servicing dealer.
STIHL recommends that you have servicing and repair work carried out exclusively by an authorized STIHL servicing dealer. STIHL dealers are regularly given the opportunity to attend training courses and are supplied with the necessary technical information. Only use high-quality replacement parts in order to avoid the risk of accidents and damage to the power tool. If you have any questions in this respect, consult a servicing dealer.
STIHL recommends the use of original STIHL replacement parts. They are specifically designed to match your model and meet your performance requirements. To reduce the risk of injury, always shut off the engine before carrying out any maintenance or repairs or cleaning the machine.
Using the Unit

Your FC-MM power edger MultiTool is designed to produce sharp contoured edges around lawns. It will cut almost all types of grass, weeds and soft green plants.
Preparations
If the soil is very dry, spray it with water before you start work: this softens the soil a little and also reduces the amount of dust created. Slightly damp green plants are easier to cut.
WARNING Clear away all obstacles and solid objects from the work area.
- Plan the best route for edging.

Operate the MultiEngine with FC-MM edger in the forward direction only.
The blade may only be mounted and operated in one position. Arrows on the blade show the required direction of rotation – see chapter on “Mounting the MultiTool”.
WARNING Never work without the deflector! The deflector ensures that cuttings and other debris are directed away from the machine and operator.
Edging

- Secure the handlebar in the normal operating position.
- Start the engine.
- Start the cut at no less than half throttle and continue cutting at full throttle.
- Hold and guide your edger so that the blade is vertical.
- Cut steadily so that the engine is not lugged down – do not apply force.
- Cut at no more than a normal walking pace.
- Do not push the blade into the ground.
- Always walk forwards when cutting, do not pull the unit towards you.
- Edge at a steady pace to avoid having to make several passes.

- Use the gunning sight (1) to line up the blade on the edge.
Cleaning the blade
Pieces of grass or roots may become tightly wrapped around blade mounting during opera‐tion. Clean the blade as follows:
- Shut off the engine.
- Wear work gloves.
- Pull the hitch pins out of the axle.
- Pull the blade off the axle.
- Remove pieces of roots, plants and soil.
Refer to “Mounting the MultiTool” for mounting instructions.
Approved MultiEngines
Only use MultiEngines supplied by STIHL or expressly approved by STIHL for use with the MultiTool.
This MultiTool may only be used in combination with the STIHL MM 56 MultiEngine.
Mounting the MultiTool
Removing Existing MultiTools
WARNING Wear gloves to reduce the risk of injury from con‐tact with sharp MultiTools and/or hot surface of gearbox.
- Remove the hitch pins and pull the MultiTools (if fitted) off the axle – see also “Mounting the MultiTool” in the instruction manual of the other MultiTool.
- Clean the gearbox if necessary.
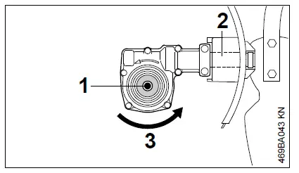
Checking Position of Gearbox
WARNING To reduce risk of injury from the MultiTool rotating in the wrong direction, check that position of gearbox is correct and adjust if necessary.
The axle (1) must be below the shaft (2). Direction of rotation (3) of MultiTool.
Adjusting Position of Gearbox

- Loosen clamp screws on gearbox.
- Turn the gearbox through 180°.
- Line up the gearbox in the correct position.
- Tighten down the two clamp screws on the gearbox in the following sequence:
- Tighten the first screw moderately.
- Tighten the second screw moderately.
- Tighten down first screw firmly.
- Tighten down second screw firmly.
NOTICE It must not be possible to rotate the gearbox on the drive tube.
Mounting the MultiTool
The direction of rotation is marked with arrows on the gearbox and cutting blade. Make sure the arrows point in the same direction.

- Fit the two sleeves (4) on the right and left.
- Rotate the blade (5) on the right-hand axle (viewed from engine) until it can be pushed into position – check the direction of rotation again (arrows).
- Push the wheel (6) and washer (7) onto the left-hand axle (viewed from engine). Insert and engage both hitch pins (8) in the holes in the axles – fold the hitch pins flat against the blade and wheel.
Starting / Stopping the Engine
Starting the Engine
Always follow the starting procedure described in the MultiEngine instruction manual.
- Secure the handlebar in the normal operating position.
- Retract the wheels, if fitted – see chapter on “Wheels” in MultiEngine instruction manual.
- Retract the spur, if fitted.
- Check that the MultiTool is not touching the ground or any other obstacles. The unit must rest on the engine flange and the support on the frame.
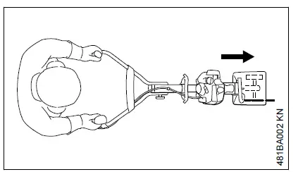
- Make sure you have good balance and secure footing – as shown in the illustration.
WARNING To reduce the risk of injury from contact with the rotating attachment, always stand to the side of the power tool, never in front of the attachment.
With your left hand on the loop handle, press the unit firmly against the ground – do not touch the throttle trigger or lockout lever.
NOTICE Do not stand or kneel on the handlebar or frame.
WARNING The attachment may begin to move as soon as the engine starts. For this reason, blip the throttle after starting – the engine returns to idling speed. Now follow the starting procedure described in the MultiEngine instruction manual.
Stopping the Engine
See MultiEngine instruction manual.
Storing the Machine
For periods of about 30 days or longer
- Remove, clean and inspect the cutting blade.
- Store the machine in a dry and secure location. Keep out of the reach of children and other unauthorized persons
Maintenance and Care
The following intervals apply to normal operating conditions only. If your daily working time is lon‐ger or operating conditions are difficult (very dusty work area, etc.), shorten the specified intervals accordingly.
All accessible screws and nuts
- Retighten if necessary
Wheel
- Visual inspection before starting work
- Replace if necessary
Blade
- Visual inspection, check tightness before starting work and after every refueling stop
- Have checked for out-of-balance if necessary, replace if out-of-balance
- Replace if damaged
Safety labels
- Replace illegible safety labels
Minimize Wear and Avoid Damage
Observing the instructions in this manual and the MultiEngine manual helps reduce the risk of unnecessary wear and damage to the power tool.
The power tool must be operated, maintained and stored with the due care and attention described in these instruction manuals.
The user is responsible for all damage caused by non-observance of the safety precautions, operating and maintenance instructions. This includes in particular:
- Alterations or modifications to the product not approved by STIHL.
- Using tools or accessories which are neither approved or suitable for the product or are of a poor quality.
- Using the product for purposes for which it was not designed.
- Using the product for sports or competitive events.
- Consequential damage caused by continuing to use the product with defective components.
Maintenance Work
All the operations described in the chapter on
“Maintenance and Care” must be performed on a regular basis. If these maintenance operations cannot be performed by the owner, they should be performed by a servicing dealer.
STIHL recommends that you have servicing and repair work carried out exclusively by an author‐ized STIHL servicing dealer. STIHL dealers are regularly given the opportunity to attend training courses and are supplied with the necessary technical information.
If these maintenance operations are not carried out as specified, the user assumes responsibility for any damage that may occur. Among other parts, this includes:\
Parts Subject to Wear and Tear
Some parts of the power tool are subject to nor‐mal wear and tear even during regular operation in accordance with instructions and, depending on the type and duration of use, have to be replaced in good time. Among other parts, this includes:
- Blade
- Mounting hardware for blade
- Deflector
Main Parts

- Blade
- Sleeve
- Wheel
- Washer
- Hitch pin
Specifications
Attachment
Blade Diameter: 230 mm
Weight
Edger with wheel: 0.8 kg 12.3 REACH
REACH is an EC regulation and stands for the Registration, Evaluation, Authorization and Restriction of Chemical substances. For information on compliance with the REACH regulation (EC) No. 1907/2006 see www.stihl.com/reach
Maintenance and Repairs
Users of this machine may only carry out the maintenance and service work described in this user manual. All other repairs must be carried out by a servicing dealer. STIHL recommends that you have servicing and repair work carried out exclusively by an author‐ized STIHL servicing dealer. STIHL dealers are regularly given the opportunity to attend training courses and are supplied with the necessary technical information.
When repairing the machine, only use replace‐ment parts which have been approved by STIHL for this power tool or are technically identical. Only use high-quality replacement parts in order to avoid the risk of accidents and damage to the machine. STIHL recommends the use of original STIHL replacement parts. Original STIHL parts can be identified by the STIHL part number, the { logo and the STIHL parts symbol K (the symbol may appear alone on small parts).
Disposal
Contact the local authorities or your STIHL serv‐icing dealer for information on disposal.
Improper disposal can be harmful to health and pollute the environment.
- Take STIHL products including packaging to a suitable collection point for recycling in accordance with local regulations.
- Do not dispose with domestic waste.


















