STIHL AHK 701 Adjustable Ridger

Notes on the instruction manual: The camera symbol serves to link the figures on the illustration pages with the corresponding text passages in the instruction manual. The figures can be found at the front of the instruction manual. This instruction manual constitutes original manufacturer’s instructions in the sense of EC Directive 2006/42/EC. STIHL is continually striving to further develop its range of products; we therefore reserve the right to make alterations to the form, technical specifications and equipment level of our standard equipment. For this reason, the information and illustrations in this manual are subject to alterations. This instruction manual is protected by copyright. All rights reserved, especially the right of reproduction, translation and processing using electronic systems.
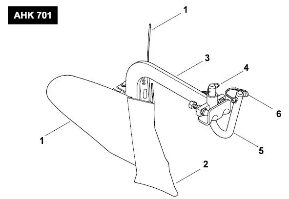
Machine overview


AHK 701 – Adjustable ridger
- Adjustable ridger wings
- Ridger tip
- Bracket
- Cotter pin
- Adapter
- Folding retainer
AHK 702 – Fixed ridger - Ridger wing
- Ridger tip
- Bracket
- Tommy screw
- Cotter pin
- Adapter
- Folding retainer
For your safety
General
These safety regulations must be observed when working with the machine. Read the entire instruction manual before using the machine for the first time. Keep the instruction manual in a safe Please also observe the instruction manual for the tiller – particularly the safety instructions in the “For your safety” section. The safety instructions contained in this instruction manual supplement the safety instructions in the instruction manual for the tiller.
Caution – risk of injury!
The ridger is intended for cutting furrows in the soil; its use for other purposes is not permitted. The ridger must only be installed on STIHL machines intended for this purpose. Information is available from your STIHL specialist dealer. Modifications or adaptations to the ridger are not permitted. Any modifications to the ridger will furthermore result in voiding of the warranty cover. Risk of injury when lifting the tiller! Installing a ridger increases the overall weight of the tiller and changes its centre of gravity.
Clothing and equipment
Always wear thick gloves when assembling, installing and removing the ridger as well as when working on the adjustment elements.
Transport
Before transporting the tiller (e.g. pushing, pulling, lifting), always remove the ridger and transport separately. Secure the ridger on a load floor using adequately dimensioned fastening materials (ropes, straps, etc.). In particular observe the instructions regarding transport in the instruction manual for the tiller.
Before initial operation
Make sure that all persons who use a tiller fitted with a ridger are familiar with the instruction manuals for the tiller and the accessory. In particular ensure that you ar also familiar with all of the controls of the accessory. Install the ridger completely and properly on the tiller as described in this instruction manual. (6.1) Before using the ridger and tiller, always carry out a visual check to ensure that they are in good operating condition. All faulty, worn or damaged parts must be replaced before using the machine. Carefully inspect the complete area on which the machine is to be used and remove any large stones, sticks, wires, bones or other foreign objects which could be thrown up by the machine. Objects hidden in the ground (lawn sprinkler systems, posts, water valves, foundations, electrical wires, etc.) must be clearly marked before working with the machine and avoided during operation. Never run over any such foreign objects.
Working with your machine
Always ensure that you keep your feet and legs far enough away from the tiller and the installed ridger. Particular care is necessary when using reverse gear. Tillers with cast-iron wheels must be driven very slowly and with extreme care on paths or other hard surfaces. Control the speed of rotation of the cast-iron wheels using the throttle lever – set the engine to the lowest speed (see instruction manual for the tiller).
Standard equipment

- Stud
- Adapter
- Cotter pin
- Folding retainer
- Instruction manual
- Ridger
- Bracket
- Bolt
- Nut
- Ridger
Preparing the machine for operation
Assembling the ridge

- Insert bracket (F) into the guide of ridger (E) as shown.
- Guide bolt (G) through the holes in ridger (E) and through the hole in bracket (F). Screw on nut (H) and tighten.
Assembling the ridger AHK 702

- Loosen tommy screw (1) and remove bracket (2) from ridger (I).
- Turn bracket (2) through 180° and replace on ridger (I) at the desired height (9.). Tighten tommy screw (1).
General recommendations
Recommendations for working with the ridger
The ridger can be used with a tiller fitted with either hoes or the cast-iron wheels AMR 031 available as an accessory. The additional weights AZG 030 (17 kg) available as an accessory can also be installed. STIHL recommends operating the ridger in combination with cast-iron wheels. Further information is available from your STIHL specialist dealer, on the Internet (www.stihl.com) or in the STIHL catalogue.
Cast-iron wheels:
Installing cast-iron wheels improves the traction of the tiller and therefore significantly increases the tensile force at the ridger. This improves the ridger function.
Additional weights:
An even better result can be achieved with additional weights. They improve the traction even further by increasing the overall weight of the tiller.
Assembly and disassembly
Risk of injury!
Always wear gloves when working on the ridger.Always work in pairs when installing or removing ridgers. Installation and removal are performed in the same manner for both ridgers. The pictures show the adjustable ridger AHK 701.
- Stop the engine and allow it to cool down.
- Park the tiller on level and solid ground.
Installing the ridger

Adjusting the oscillating movement
The side-to-side swivel range of the ridger is adjusted by tightening and loosening the two bolts (1).
Reducing the swivel range:
Loosen lock nuts (2) and tighten bolts (1) by turning in a clockwise direction. Then tighten the lock nuts again.
Increasing the swivel range:
Loosen lock nuts (2) and loosen bolts (1) by turning in an anti-clockwise direction. Then tighten the lock nuts again.
Recommended setting:
Observe a distance (A) of approx. 3 mm between the bolts (1) and adapter (3) of the tiller or adapter (4).
Adjustment elements AHK 701
Adjusting the working angle
The working angle (B) of the ridger is adjusted by tightening and loosening adjustment screw (1). Reducing the operating angle (B)
Loosen both lock nuts (2). Loosen locating screw (3). Loosen adjustment screw (1) by turning in an anti-clockwise direction. Then tighten locating screw (3) by hand until the ridger is secure, tighten both lock nuts (2) again. Loosen both lock nuts (2). Loosen locating screw (3) and tighten adjustment screw (1) by turning in a clockwise direction. Then tighten locating screw (3) by hand until the ridger is secure, tighten both lock nuts (2) again.
Adjusting the working width
The side wings (1) of the ridger can be adjusted to change the working width (C) of the ridger. Adjusting the working width (C): Lift retainers (2) and fit in one of the holes on wings (1).
Adjustment elements AHK 702
Adjusting the working depth
The ridger can be installed higher or lower on the tiller as required. Adjusting the working depth Loosen tommy screw (1) and set ridger (2) to the required height. Then tighten the tommy screw by hand until the ridger is secure.















