
SE 33

Instruction Manual
Translation of Original Instruction Manual
0000009016_008_GB
Introduction
Dear Customer,
Thank you for choosing STIHL. We develop and manufacture our quality products to meet our customers’ requirements. The products are designed for reliability even under extreme conditions.
STIHL also stands for premium service quality. Our dealers guarantee competent advice and instruction as well as comprehensive service support.
STIHL expressly commits itself to sustainable and responsible handling of natural resources. This user manual is intended to help you use your STIHL product safely and in an environmentally friendly manner over a long service life.
We thank you for your confidence in us and hope you will enjoy working with your STIHL product.

Dr. Nikolas Stihl
IMPORTANT! READ BEFORE USING AND
KEEP IN A SAFE PLACE FOR REFERENCE.
Guide to Using this Manual
2.1 Applicable Documentation
Local safety regulations apply.
2.2 Warning Notices in Text
DANGER
- This notice refers to risks that result in serious or fatal injury.
- Serious or fatal injuries can be avoided by taking the precautions mentioned.
WARNING
- This notice refers to risks that can result in serious or fatal injury.
- Serious or fatal injuries can be avoided by taking the precautions mentioned.
NOTICE
- This notice refers to risks that can result in damage to property.
- Damage to property can be avoided by taking the precautions mentioned.
2.3 Symbols in Text
This symbol refers to a chapter in this instruction manual.
Overview
3.1 Wet/Dry Vacuum Cleaner

- Container
The container collects dust, dirt, and liquid that are picked up. - Suction connector
The suction connector connects the suction hose to the container. - Rocker switch
The rocker switch is used to switch the dry/wet vacuum cleaner on and off. - Carrying handle
The carrying handle is used to carry and move the wet/dry vacuum cleaner. - Top part
The top part contains the electric motor, the filter, and the float. - Holders
The holder is used to store the connecting cable. - Lock
The lock connects the top part and the container. - Front/rear wheels
The front/rear wheels are used to move and transport the wet/dry vacuum cleaner. - Holders
The holders are used to store the nozzles. - Connecting cable
The connecting cable connects the wet/dry vacuum cleaner to the mains plug. - Mains plug
The mains plug connects the connecting cable to a socket. - Exhaust opening
The exhaust opening serves to connect the suction hose in blowing mode. - Holders
The holders are used to store the suction pipes. - Wing screw
The wing screw closes the lid at the cartridge filter. - Cartridge filter
The cartridge filter removes dust and dirt from the air drawn in. - Float
The float reduces the suction power of the wet/dry vacuum cleaner when the container is full of liquid.
# Rating plate with machine number
3.2 Accessories provided

- Floor tool
The floor tool is used for picking up hard floors and carpeted floors. - Crevice nozzle
The crevice nozzle is used for picking up in hard-to-reach places. - Suction tube
The suction tube carries dust, dirt, and liquid that are picked up to the suction hose. - Foam filter element
The foam filter element is used for the prolonged picking up of liquids. - Suction hose, fuel line, intake hose
The suction hose carries dust, dirt, and liquid that are picked up to the container. - Grip
The grip is used for holding and controlling the suction hose. - Filter bag
The filter bag collects dust and dirt that are picked up and assists with low-dust disposal. The filter bag keeps dust and dirt away from the cartridge filter.
3.3 Icons
The icons which may be attached to the wet/dry vacuum cleaners have the following meaning:
When the rocker switch is in this position, the wet/dry vacuum cleaner is switched off.
When the rocker switch is in this position, the wet/dry vacuum cleaner is switched on.
Set the floor nozzle to this position to clean hard floors.
Set the floor nozzle to this position to clean carpeted floors.
Protection class 2, double insulated.
Do not dispose of the product with domestic waste.
Safety Precautions
4.1 Warning Symbols
The warning icons on the wet/dry vacuum cleaner have the following meanings:
Observe safety notices and take the necessary precautions.
Read, understand and keep the User Manual.
If the connecting cable or the extension cord is damaged: Unplug the mains plug from the socket.
Protect the wet/dry vacuum cleaner from rain and dampness.
4.2 Intended Use
The wet/dry vacuum cleaner STIHL SE 33 is intended for the following use:
- Picking up dust, dirt, chips, sand, and similar materials
- Picking up liquids
- Blowing off small stones and leaves
The wet/dry vacuum cleaner is not suitable for commercial use.
The wet/dry vacuum cleaner STIHL SE 33 is not intended for the following use: - Picking up asbestos
- Picking up dust contaminated by pathogens and mold
- Picking up glowing particles, hot ash, lit cigarettes, and similar materials
- Picking up magnesium dust, aluminum dust, dust containing lead, and similar materials
- Picking up gasoline, thinner, solvents, and similar materials
- Picking up acids, leaches, alkalis, and similar materials
- Picking up greasy liquids
- Picking up saline water
- Use as a water pump
WARNING
- Using the wet/dry vacuum cleaner other than for its intended purpose may result in serious injuries or death and damage to property.
- Always use the wet/dry vacuum cleaner as described in this User Manual.
4.3 Requirements concerning the user
WARNING
- Users who have not received instruction are not aware of and cannot assess the dangers of the wet/dry vacuum cleaner. The user or other persons may sustain serious or fatal injuries.
Read, understand and keep the User Manual.- If the wet/dry vacuum cleaner is passed on to another person: Always give them the User Manual.
- Make sure that the user meets the following conditions:
- The user is rested.
- The user has good hearing and visual faculties and the necessary physical and mental fitness to operate the wet/dry vacuum cleaner and to work with it.
- The user can identify and assess the dangers of the wet/dry vacuum cleaner.
- The user is an adult or is being trained in an occupation under supervision according to national regulations.
- The user has received instruction from a STIHL dealer or other expertefore operating the wet/dry vacuum cleaner for the first time.
- The user is not under the influence of alcohol, medicines, or drugs.
- If you have any doubts, be sure to consult a STIHL dealer.
4.4 Clothing and equipment
WARNING
- Long hair may be pulled into the wet/dry vacuum cleaner while working. This may result in serious injury to the user.
- Tie up and confine long hair above your shoulders.
- Dust can be whipped up during operation. Whipped up dust can damage the respiratory passages and cause allergic reactions.
- If dust is generated: Wear a dust respirator mask.
- Unsuitable clothing may be caught in the wet/dry vacuum cleaner. Not wearing suitable clothing may result in serious injury.
- Wear close-fitting clothing.
- Remove scarves and jewelry.
- Wearing unsuitable footwear may cause the user to slip. This may result in injury to the user.
- Wear sturdy, closed-toed footwear with high-grip soles.
- Objects can be thrown at high speed during operation in blowing mode. This may result in injury to the user.
- If objects are thrown: Wear close-fitting safety glasses. Suitable safety glasses tested to standard EN 166 or national standards and bearing the corresponding mark are available to buy.
4.5 Work area and surroundings
WARNING
- Bystanders, children, and animals are not aware of the dangers of wet/dry vacuum cleaners and cannot assess them. Bystanders, children, and animals may be seriously injured.
- Keep bystanders, children, and animals away from the work area.
- Do not leave the wet/dry vacuum cleaner unattended.
- Ensure that children cannot play with the wet/dry vacuum cleaner.
- The wet/dry vacuum cleaner is not waterproof. If you work in the rain or in damp environment, an electric shock may occur. The user may be seriously injured or killed and the wet/dry vacuum cleaner may be damaged.
- Do not work in the rain or in a damp environment.
- Electrical components of the wet/dry vacuum cleaner can produce sparks. Sparks can cause fires and explosions in a flammable or explosive environment. This can result in serious injuries or death and damage to property.
- Do not work in a flammable environment or in an explosive environment.
- Inhaling discharged air can be harmful to health and trigger allergic reactions.
- Provide adequate ventilation.
- Observe the regulations applicable in the country concerning the ventilation of rooms and the air exchange rate.
4.6 Safe condition
The wet/dry vacuum cleaner is in a safe condition if the following conditions are fulfilled:
- The wet/dry vacuum cleaner is undamaged.
- The connecting cable, the extension cord, and their plugs are undamaged.
- The wet/dry vacuum cleaner is clean and dry.
- The controls function properly and have not been modified.
- The cartridge filter is in place and undamaged.
- If picking up liquid: the float moves easily.
- Only the original STIHL accessory for this wet/dry vacuum cleaner has been attached.
- The accessories are correctly attached.
WARNING
- If not in a safe condition, components may no longer operate correctly and safety devices may be disabled. This may result in a serious or fatal injury to people.
- Never use a damaged wet/dry vacuum cleaner.
- Never use a damaged connecting cable, an extension cord, or mains plug.
- If the wet/dry vacuum cleaner is dirty or wet: Clean the wet/dry vacuum cleaner and allow it to dry.
- Do not modify the wet/dry vacuum cleaner.
- If the controls do not work: Do not use the wet/dry vacuum cleaner.
- Always ensure the filter is in place and undamaged.
- Only fit original STIHL accessories for this wet/dry vacuum cleaner.
- Attach accessories as described in this User Manual or in the User Manual for the accessories.
- Replace worn or damaged labels.
- Do not insert objects into the openings in the wet/dry vacuum cleaner.
4.7 Operation
WARNING
- In certain situations, the user may no longer be able to concentrate on the job. The user may trip, fall, and be seriously injured.
- Keep calm and plan your work.
- In poor light conditions and poor visibility: Do not use the wet/dry vacuum cleaner.
- Use the wet/dry vacuum cleaner on your own.
- Watch out for obstacles.
- Stand safely on the ground and keep your balance.
- If you experience signs of fatigue: take a break.
- If the wet/dry vacuum cleaner starts behaving differently or in an unusual way while operating the wet/dry vacuum cleaner may be in an unsafe condition. This can result in serious injuries and damage to property.
- Stop working, unplug the mains plug from the socket and consult a STIHL servicing dealer.
- Operate the wet/dry vacuum cleaner upright.
- Do not cover the wet/dry vacuum cleaner to ensure sufficient circulation of cooling air.
- Foam may be produced when picking up liquids. The foam may fail to actuate the float and foam may be drawn into the motor. The wet/dry vacuum cleaner may be damaged.
- If foam appears: Stop working, unplug the mains plug from the socket, and consult a STIHL servicing dealer.
4.8 Connecting to the power supply
Contact with live components may occur for the following reasons:
- The connecting cable or the extension cord is damaged.
- The mains plug of the connecting cable or extension cord is damaged.
- The socket is not properly installed.
DANGER
- Contact with live parts may result in electric shock. This may result in a serious or fatal injury to the user.
- Make sure that the connecting cable, extension cord, and their mains plugs are undammed aged.
- If the connecting cable or the extension cord is damaged:

- Do not touch the damaged area.
- Disconnect the mains plug from the power supply.
- Make sure your hands are dry before touching the connecting cable, extension cord, or main plugs.
- Plug the mains plug of the connecting cable or extension cord into a properly installed, shockproof socket with the correct fuse rating.
- A damaged or unsuitable extension cord can result in electric shock. This may result in a serious or fatal injury to people.
- Use an extension cord with the correct cross-section,
16.2. - Use a splash water-protected extension cord approved for outdoor use.
- Use an extension cord that has the same characteristics as the connecting cable of the wet/dry vacuum cleaner,
16.2.
WARNING
- During operation, incorrect mains voltage or incorrect mains frequency may result in an overvoltage in the wet/dry vacuum cleaner. The wet/dry vacuum cleaner may be damaged.
- Make sure that the mains voltage and the mains frequency of the power supply match the data on the rating plate of the wet/dry vacuum cleaner.
- If several electric power tools are connected to multiple sockets, electrical components may be overloaded during operation. The components may overheat and cause a fire. Persons may be seriously or fatally injured and property may be damaged.
- Only ever connect one wet/dry vacuum cleaner to one socket.
- Do not connect a wet/dry vacuum cleaner to multiple sockets.
- An incorrectly routed connecting cable or extension cord may be damaged and people may trip over it. This may result in injury to persons and damage to the connecting cable.
- Route and mark the connecting cable and extension cord so that people will not trip over them.
- Route the connecting cable and extension cord so that they are not under tension or tangled.
- Route the connecting cable and extension cord so that they will not be damaged, kinked or crushed and will not be chafed.
- Protect the connecting cable and extension cord from heat, oil, and chemicals.
- Lay the connecting cable and extension cord on a dry surface.
- The extension cord warms up in operation. If that heat cannot escape, it may cause a fire.
- If using a cable reel: Completely unroll the cable reel.
4.9 Transport
WARNING
- The wet/dry vacuum cleaner may topple over or move during transport. Persons may be injured or property damaged.
- Unplug the mains plug of the wet/dry vacuum cleaner from the socket.
- Empty the container and dispose of its contents in accordance with the applicable regulations.
- Transport the wet/dry vacuum cleaner in an upright position.
- Secure the wet/dry vacuum cleaner using lashing straps, belts, or a net so that it cannot topple over and cannot move.
4.10 Storage
WARNING
- Children are not aware of and cannot assess the dangers of the wet/dry vacuum cleaner. Children can be seriously injured.
- Unplug the mains plug of the wet/dry vacuum cleaner from the socket.
- Store the wet/dry vacuum cleaner out of the reach of children.
- Moisture may cause the electrical contacts on the wet/dry vacuum cleaner and metal components to corrode. The wet/dry vacuum cleaner may be damaged.
- Store the wet/dry vacuum cleaner in a clean, dry state.
4.11 Cleaning, maintenance, and repair
WARNING
- If the mains plug is plugged into a socket when carrying out cleaning, servicing, or repairs, the wet/dry vacuum cleaner may be switched on inadvertently. This may result in
serious injury to people and damage to property. - Unplug the mains plug of the wet/dry vacuum cleaner from the socket.
- Harsh detergents, cleaning with a water jet, or sharp objects can damage the wet/dry vacuum cleaner. If the wet/dry vacuum cleaner is not properly cleaned, parts may not function correctly and safety devices may be disabled. Persons may be seriously injured.
- If compressed air is used to clean the wet/dry vacuum cleaner or the filters, dust which is harmful to health may be raised and breathed in. Whipped up dust can damage the respiratory passages and cause allergic reactions.
- Clean the wet/dry vacuum cleaner and filters as described in this User Manual.
- If the wet/dry vacuum cleaner is not properly serviced or repaired, parts may not function correctly and safety devices may be disabled. There is a risk of serious or fatal injury.
- Do not attempt to service or repair the wet/dry vacuum cleaner yourself.
- If the connecting cable is faulty or damaged: Have the connecting cable replaced by a STIHL dealer. 5 Preparing the wet/dry vacuum cleaner for use
- If the wet/dry vacuum cleaner needs to be serviced or repaired: Contact a STIHL dealer.
Preparing the wet/dry vac‐
uum cleaner for use
5.1 Preparing the wet/dry vacuum cleaner for use
The following steps must be performed before commencing work:
- Make sure that the wet/dry vacuum cleaner and the connecting cable are in a safe condition,
4.6. - Clean the wet/dry vacuum cleaner,
13. - Attach the suction hose,
6.2.1. - Check the cartridge filter,
8. - If using an accessory: Fit accessory,
6.3. - Plug the mains plug of the wet/dry vacuum cleaner into an easily accessible socket.
- If it is not possible to carry out these steps: Do not use the wet/dry vacuum cleaner. Consult a STIHL dealer.
Assembling the wet/dry
vacuum cleaner
6.1 Assembling the Wet/Dry Vacuum Cleaner
The accessory supplied is inside the cardboard box and inside the container.

- Release the container locks (1).
- Lift off the top part (2).
- Remove the accessory.
- Replace the top part (2) in position.
- Fasten the container locks (1).
Attaching the front/rear wheels

- Push the front wheels (1) into their seat (2) as far as they will go.
- Push the rear wheels (3) into their seat (4) with a rotary movement. The rear wheels engage audibly.
6.2 Fitting and removing suction hose
6.2.1 Attaching the Suction Hose

- Push the sleeve (1) into the suction connect tor (2) until it sits firmly.
6.2.2 Removing the Suction Hose
- Pull the sleeve out of the suction connector.
6.3 Attaching accessories

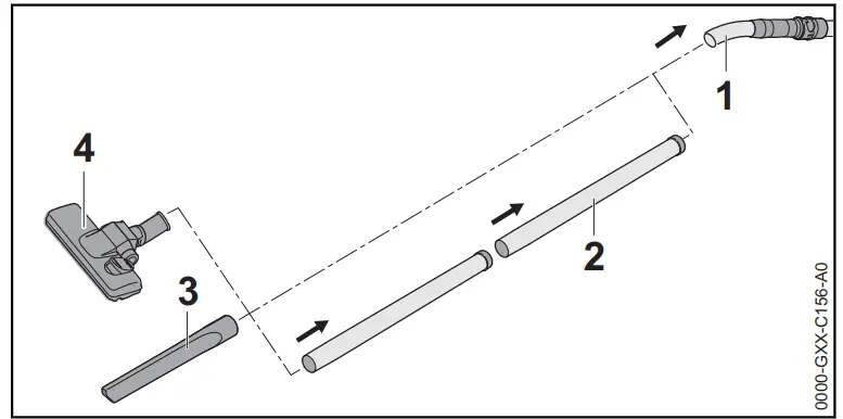
- Fit the suction pipe (2), crevice nozzle (3) or floor nozzle (4) onto the suction hose (1).
Switching the wet/dry vacuum cleaner on and off
7.1 Switching the Wet/Dry Vacuum Cleaner On

- Set the rocker switch to position I.
7.2 Switching the Wet/Dry Vacuum Cleaner Off
- Set the rocker switch to position 0.
Checking the wet/dry vacuum cleaner
8.1 Checking the cartridge filter
- Release the container locks and remove the top piece.

- If the cartridge filter (1) is dirty: Clean the cartridge filter.
- If the cartridge filter (1) is damaged: Replace the cartridge filter.
Using the wet/dry vacuum cleaner
9.1 Picking up Dust and Dirt
Picking up dust and dirt
If regular dust and dirt is picked up, a filter bag may be used in addition to the cartridge filter.
- Switch the wet/dry vacuum cleaner on. 7 Switching the wet/dry vacuum cleaner on and off
- Hold the suction hose in one hand and pick the material up either directly or via an attached accessory.
Picking up fine dry dust
If fine or dry dust is picked up, use a filter bag in addition to the cartridge filter.
- Switch off the wet/dry vacuum cleaner and pull the mains plug out of the socket.
- Release the container locks.
- Lift off the top part.

- Place the filter bag (1) in the container.
- Push the sleeve (2) over the suction connector (3).
- Open out the filter bag (1) inside the container.
- Put the top ini place and fasten the container locks.
- Switch the wet/dry vacuum cleaner on.
- Hold the suction hose in one hand and pick the material up either directly or via an attached accessory.
Picking up slightly moist dirt
After picking up slightly moist dust, remove the filter bag and use the cartridge filter only.
- Switch off the wet/dry vacuum cleaner and pull the mains plug out of the socket.
- Release the container locks.
- Lift off the top part.
- Stand the container upright.

- Pull the sleeve (2) off the suction connector (1).
- Remove the filter bag (3) from the container.
- Dispose of the filter bag (3) in accordance with the applicable regulations in an environmentally responsible manner.
9 Using the wet/dry vacuum cleaner - Put the top ini place and fasten the container locks.
- Switch the wet/dry vacuum cleaner on.
- Hold the suction hose in one hand and pick the material up either directly or via an attached accessory.
9.2 Picking up Liquid
To pick up liquid primarily: Push the foam filter over the motor housing.
- Switch off the wet/dry vacuum cleaner and pull the mains plug out of the socket.
- Release the container locks.
- Remove the top part and turn it over.
- Remove the filter bag.
Removing the cartridge filter

- Rotate the wing screw (1) counterclockwise.
- Remove the cartridge filter (2).
Checking the float

- Swing the float back and forth. The float (3) moves.
- If the float (3) does not moved: Clean float (3) with a soft brush.
- If the float (3) still does not move: Do not use the wet/dry vacuum cleaner. Consult a STIHL dealer. There is a fault in the float (3).
Placing the foam filter

- Push the foam filter element (5) over the motor housing (4).
- Put the top ini place and fasten the container locks.
- Switch the wet/dry vacuum cleaner on.
- Hold the suction hose in one hand and pick the material up either directly or via an attached accessory.
- If the suction power deteriorates noticeably: Switch off the wet/dry vacuum cleaner, pull the mains plug out of the socket, and empty the container.
9.3 Using the Floor Nozzle

- To clean carpeted floors, set the rocker switch on the floor nozzle to position (1).
- To clean hard floors, set the rocker switch on the floor nozzle to position (2).
9.4 Blowing
The wet/dry vacuum cleaner can also be used to blow off dirt and dust from hard-to-reach spots.
- Remove the suction hose from the suction connector.

- Insert the suction hose (1) into the exhaust opening (2).
- Switch the wet/dry vacuum cleaner on.
- Hold the suction hose in one hand and blow the dirt off either directly or via an attached accessory.
After Finishing Work
10.1 When Work is Finished
- Switch off the wet/dry vacuum cleaner and pull the mains plug out of the socket.
- Empty the container.
- Detach the accessory and clean it.
- Clean the wet/dry vacuum cleaner.

- Roll up the connecting cable and hang it on the holder (1).
- Wrap the suction hose around the vacuum cleaner and fasten it at the holder (3).
- Fasten the accessories at the holders (2) or holders (4).
10.2 Emptying the Container
- Switch off the wet/dry vacuum cleaner and pull the mains plug out of the socket.
- Release the container locks.
- Liftoff the top part.
- Empty the container and dispose of its contents in accordance with the applicable regulations.
- If the filter bag is inside the container: Remove the filter bag and dispose of it in accordance with the applicable regulations.
- If liquids have been picked up:
- Allow the cartridge filter or foam filter element to dry.
- Replace the top part in position.
Transporting
11.1 Transporting the Wet/Dry Vacuum Cleaner
- Switch off the wet/dry vacuum cleaner and pull the mains plug out of the socket.
- Empty the container.
Carrying the wet/dry vacuum cleaner
- Hold the wet/dry vacuum cleaner with one hand by the carrying handle to carry it.
Pushing the wet/dry vacuum cleaner
- Hold the wet/dry vacuum cleaner by the carrying handle and push it.
Transporting the wet/dry vacuum cleaner in a car
- Stand the wet/dry vacuum cleaner upright and secure it so that it cannot topple over and cannot move.
Storing
12.1 Storing the wet/dry vacuum cleaner
- Switch off the wet/dry vacuum cleaner and pull the mains plug out of the socket.
- The wet/dry vacuum cleaner should be stored in such a way that the following conditions are fulfilled:
- The wet/dry vacuum cleaner is out of the reach of children.
- The wet/dry vacuum cleaner is clean and dry.
- The wet/dry vacuum cleaner is in an enclosed room.
- The wet/dry vacuum cleaner is in a temperature range above 0 °C.
Cleaning
13.1 Cleaning the wet/dry vacuum cleaner and accessories
- Switch off the wet/dry vacuum cleaner and pull the mains plug out of the socket.
- Clean the wet/dry vacuum cleaner and accessories with a damp cloth.
- Clean vents with a paintbrush.
13.2 Cleaning the cartridge filter
- Switch off the wet/dry vacuum cleaner and pull the mains plug out of the socket.
- Remove the cartridge filter.
- Remove coarse dirt on the outside of the cartridge filter.
- Rinse the cartridge filter under running water.
- Allow the cartridge filter to dry naturally.
Repairing
14.1 Repairing the wet/dry vacuum cleaner
The user cannot personally repair the wet/dry vacuum cleaner and accessory.
- If the wet/dry vacuum cleaner or accessory is damaged: Do not use the wet/dry vacuum cleaner or accessory. Consult a STIHL servicing dealer.
Troubleshooting
15.1 Correcting faults on the wet/dry vacuum cleaner
| Fault | Cause | Remedy |
| The wet/dry vacuum cleaner does not start when switched on.
The wet/dry vacuum cleaner switches off while in operation.
The suction power is too low.
Liquid escapes from the wet/dry vacuum cleaner. | The mains plug of the connecting cable or extension cord is not plugged in. | ► Plugin the plug of the connecting cable. |
| The circuit breaker (fuse) or the overload cutout has tripped. There is an electrical overload or a fault in the circuit. | ► Look for the cause of tripping and remedy it. Insert circuit breaker (fuse) or overload cutout. ► Switch off other loads connected to the same circuit. | |
| The fuse rating of the socket is too low. | ► Plug the connecting cable into a socket with the correct fuse rating, | |
| The extension cord has an incorrect cross-section. | ► Use an extension cord with an adequate cross-section, | |
| The extension cord is too long. | ► Use an extension cord with the correct length, | |
| The plug of the connecting cable or extension cord has been pulled out of the socket. | ► Insert the plug of the connecting cable or of the extension cord. | |
| The circuit breaker (fuse) or the over-load cutout has tripped. There is an electrical overload or a fault in the circuit. | ► Look for the cause of tripping and remedy it. Insert circuit breaker (fuse) or overload cutout. ► Switch off other loads connected to the same circuit. | |
| The fuse rating of the socket is too low. | ► Plug the connecting cable into a socket with the correct fuse rating, | |
| The filter bag or the container is full. | ► Replace the filter bag or empty the container. | |
| The cartridge filter is dirty. | ► Clean or replace the cartridge filter. | |
| The container is full. The float is enabled. | ► Empty the container. | |
| The suction hose or the accessory is blocked. | ► Clean the suction hose or accessory. | |
| The container is full and the float is blocked. | ► Empty the container. ► Check the float. | |
| Foam has been vacuumed. | ► Do not use the wet/dry vacuum cleaner and have it checked by a STIHL servicing dealer. |
Specifications
16.1 Wet/dry vacuum cleaner STIHLSE 33
- Rated voltage: see rating plate
- Frequency: see rating plate
- Power consumption (P) acc. to IEC 60335-2-2: 1000 W
- Maximum power consumption (Pmax) acc. to IEC 60335-1: 1400 W
- Protection class: II
- Type of protection: IPX4
- Maximum air throughput: 3600 l/min
- Maximum vacuum: 210 mbar sample inspection
- Length: 340 mm
- Width: 330 mm
- Height: 465 mm
- Dimensions of suction hose: Ø 37 mm (internal) x 2 m
- Maximum container capacity (dry): 12 l
- Weight with an accessory attached: 5.3 kg to 5.5 kg
16.2 Extension Cords
If an extension cord is used, it must have a ground wire and the wire gage of its conductors must meet the following minimum requirements – depending on the line voltage and length of the extension cord:
If rated voltage on the rating label is 220V to 240V:
- Cord length up to 20 m: AWG 15 / 1.5 mm²
- Cord length 20 m up to 50 m: AWG 13 /2.5 mm²
If rated voltage on the rating label is 100 V to 127 V:
- Cord length up to 10 m: AWG 14 / 2.0 mm²
- Cord length 10 m up to 30 m: AWG 12 /3.5 mm²
16.3 REACH
REACH is an EC regulation and stands for the
Registration, Evaluation, Authorisation and
Restriction of Chemical substances.
For information on compliance with the REACH regulation see www.stihl.com/reach.
Spare Parts and Accessories
17.1 Spare parts and accessories
These symbols indicate original STIHL spare parts and original STIHL accessories.
STIHL recommends the use of original STIHL spare parts and accessories.
Despite ongoing market observation, STIHL is unable to judge the reliability, safety, and suitability of other manufacturers’ spare parts and
accessories; accordingly, STIHL cannot warrant the use of those parts.
Original STIHL spare parts and original STIHL accessories are available from STIHL dealers.
Disposal
18.1 Disposing of the wet/dry vacuum cleaner
Contact the local authorities or your STIHL servicing dealer for information on disposal. 17 Spare Parts and Accessories
Improper disposal can be harmful to health and pollute the environment.
- Take STIHL products including packaging to a suitable collection point for recycling in accordance with local regulations.
- Do not dispose of with domestic waste.
Product information
19.1 Wet/dry vacuum cleaner STIHL SE 33
ANDREAS STIHL AG & Co. KG
Badstraße 115
D-71336 Waiblingen
Germany
- category: Wet/dry vacuum cleaner
- Manufacturer’s brand: STIHL
- model: SE 33
- serial number: SE01
The technical documents are stored at ANDREAS STIHL AG & Co. KG Produktzulassung.
The year of construction, the country of manufacture, and the machine number is shown on the wet/dry vacuum cleaner.
0458-889-9821-B
www.stihl.com
Printed on chlorine-free paper
Printing inks contain vegetable oils, paper can be recycled.
© ANDREAS STIHL AG & Co. KG 2022
0458-889-9821-B. VA0.M21.



















