STIHL BK-MM Multi Tool Bolo Tines Instruction Manual
MultiSystem

In the STIHL MultiSystem, various MultiEngines and MultiTools are combined to form a machine.
In this Instruction Manual, the functional unit of MultiEngine and MultiTool is referred to as a machine.
Accordingly, the instruction manuals for the Mul‐ tiEngine and the MultiTool constitute the entire Instruction Manual for the machine.
Always read both manuals carefully before using your machine for the first time and keep them safe for future reference.
Guide to Using this Manual
Pictograms
All the pictograms attached to the machine are shown and explained in this manual.
Symbols in text
WARNING
Warning where there is a risk of an accident or personal injury or serious damage to property.
NOTICE
Caution where there is a risk of damaging the machine or its individual components.
Engineering improvements
STIHL’s philosophy is to continually improve all of its products. For this reason we may modify the design, engineering and appearance of our products periodically.
Therefore, some changes, modifications and improvements may not be covered in this manual.
Safety Precautions and Working Techniques
Special safety precautions must be observed when working with the culti‐ vator or bolo tines because its poin‐ ted and sharp-edged rotor blades rotate at high speed.
Both user manuals (MultiEngine and MultiTool) must be read through attentively before using the unit for the first time and kept in a safe place for future reference. Non-compliance with the user manuals may cause serious or even fatal injury.
The machine should only be provided or loaned to people familiar with this model and its opera‐ tion. The MultiEngine and MultiTool user man‐ uals should always be handed over with the machine.
Use the pick tines or bolo tines only for tilling pre‐ viously cultivated, packed or loose soil, furrowing and working in mulches.
The machine must not be used for any other pur‐ poses – risk of accident!
Only use attachments and accessories that are explicitly approved for this power tool model by STIHL or are technically identical. If you have any questions in this respect, consult your dealer.
Use only high-quality parts and accessories. in order to avoid the risk of accidents and damage to the machine.
STIHL recommends the use of original STIHL accessories. They are specifically designed to match the product and meet your performance requirements.
The deflector on this power tool cannot protect the operator from all objects thrown by the attachment (stones, glass, wire, etc.). Ejected objects may also ricochet and strike the operator.
Never attempt to modify your power tool in any way since this may increase the risk of personal injury. STIHL excludes all liability for personal injury and damage to property caused while using unauthorized attachments.
Do not use a high-pressure washer to clean the power tool. The solid jet of water may damage parts of the unit.
Clothing and Equipment
Wear proper protective clothing and equipment.
Clothing must be sturdy but allow complete freedom of movement.
Wear close-fitting clothes such as a boiler suit, not a loose jacket.
Do not wear clothing which could become trap‐ ped in wood, brush or moving parts of the machine. Do not wear a scarf, necktie or jewelry.
Tie up and secure long hair above your should‐ ers.
Wear safety boots with steel toe caps and non-slip soles.
WARNING
To reduce the risk of eye injuries, wear close-fitting safety glasses in accordance with European Standard EN 166. Make sure the safety glasses are a snug fit.
Wear “personal” sound protection, e.g. ear defenders.
Wear sturdy protective gloves made of a resistant material (e. g. leather).
STIHL offers a comprehensive range of personal protective equipment.
Transporting the machine

Always stop the engine.
Carry your power tool by the handle, attachment in front of you. Retract the cultivator spur, if fitted.
Do not touch hot parts of the machine – risk of burn injury!
By vehicle: When transporting in a vehicle, prop‐ erly secure your machine to prevent turnover, damage and fuel spillage.
Before starting
Check that your power tool is properly assembled and in good condition – refer to appropriate chapters in the MultiEngine and MultiTool user manuals.
- Rotor blades correctly fitted, secure and in perfect condition (clean, moves freely, not warped)
- Inspect the deflectors for damage and wear.
Do not operate the machine with a damaged deflector – replace damaged parts. - Never attempt to modify the controls or safety devices.
- Keep the handles dry and clean – free from oil and dirt – this is important for safe control of the machine.
- Swing the bike handle to the normal operating position and tighten it down firmly with the rotary knob. See chapter on “Adjusting the Bike Handle” in the MultiEngine user manual
The power tool must only be operated when it is in good operating condition – Risk of accident!
Check the gearbox for correct position, adjust if necessary. This helps reduce the risk of injury from the MultiTool rotating in the wrong direction. See also notes on “Mounting the MultiTool”.
Ensure that the gear unit and the rotor blades are correctly attached and aligned and avoid contact with the rotor blades – risk of injury!
As soon as the engine starts running, the power tool generates toxic exhaust gas. These gases may be odorless and invisible and may con‐ tain unburned hydrocarbons and ben‐ zene. Never run the engine indoors or in poorly ventilated locations, even if your model is equipped with a cata‐ lytic converter.

Arrows on the rotor blades show the direction of rotation. The arrows on the rotor blades must point in the same direction as the arrows on the gear.
If you use metal tools, position the gear so that the axle is below the drive shaft.
Use this position for:
- BF-MM cultivator
- BK-MM bolo tines
- FC-MM edger
- RL-MM aerator
- MF-MM dethatcher
Holding and Guiding the Tool
Make sure you always have a firm and secure footing.

Always hold the unit firmly with both hands on the handles.
Right hand on control handle, left hand on grip on handlebar.
While Working
In the event of impending danger or in an emergency, switch off the engine immediately by moving the slide control / stop switch/button to 0 or STOP.

To reduce the risk of injury from contact with the tool and ejected objects, do not allow any other persons within a radius of 5 meters of your own position.This distance must also be maintained in relation to objects (vehicles, window panes) – risk of property damage!
The correct engine idle speed is important to ensure that the work tool stops moving when you let go of the throttle trigger. Check and correct the idle speed setting at regular intervals. If the attachment still rotates when the engine is idling, have your dealer check your machine and make proper adjustments or repairs – see MultiEngine user manual.
To reduce the risk of injury from thrown objects or contact with the attachment, never operate the unit without a properly mounted deflector designed specifically for the unit and the attach‐ ment.
Always stand behind the deflector or to one side of the machine during operation – never in front of the attachment.
Take special care in slippery conditions – damp, snow, ice, on slopes or uneven ground.
Watch out for obstacles: Tree stumps, roots – risk of tripping or stumbling!
Inspect the work area – solid objects (stones, pieces of metal, etc.) may damage the attach‐ ment.
To avoid the risk of electrocution, never use your power tool in areas where electrical lines are laid on the surface or buried just below the sur‐ face.Striking and damaging such lines with the attachment could cause serious or even fatal injury.
Operate your power tool at normal walking pace only.
Be extremely cautious when pulling the power tool towards you because of the risk of injury from contact with the rotating attachment.
Make sure you always have a firm and secure footing.
Be extremely cautious when changing direction with the power tool – especially on slopes.
On slopes, always work parallel to the gradient to reduce the risk of injury from slipping or contact with the attachment.
Never work on steep slopes because of the risk of injury through loss of control of the power tool.
Take particular care when working close to fen‐ ces, walls, stones, roots, trees and areas of dense growth. The rotor blades may snag – risk of injury!
Be particularly alert and cautious when wearing ear protection because your ability to hear warn‐ ings (shouts, alarms, etc.) is impaired.
Take breaks when you start getting tired or feel‐ ing fatigue – risk of accidents!
Work calmly and carefully – in daylight conditions and only when visibility is good. Proceed with caution, do not put others in danger.
If your power tool is subjected to unusually high loads for which it was not designed (e.g. heavy impact or a fall), always check that it is in good condition before continuing work – see also “Before Starting”. Make sure the safety devices are working properly. Never use a power tool that is no longer safe to operate. In case of doubt, contact a dealer.
Do not touch the attachment while the engine is running. If the attachment becomes jammed by an obstruction, switch off the engine immediately before attempting to remove the obstruction – otherwise, risk of injury!
Opening the throttle while the attachment is blocked increases the load and reduces engine speed. The clutch then slips continuously and this causes overheating and damage to impor‐ tant components (e.g. clutch, polymer housing components) – and this can increase the risk of injury from the attachment moving while the engine is idling.
Check the attachment at frequent and regular intervals during operation, or as soon as there is a noticeable change in behavior:
- Shut off the engine, hold the machine securely.
- Check condition and secure position; look for cracks.
- Replace damaged working tools immediately, even if they have only superficial cracks.
Clean the attachment and deflector at regular intervals during operation.
- Shut off the engine
- Use gloves
- Remove grass, weeds, clumps of soil, etc
To reduce the risk of injury, shut off the engine before changing attachments.
Do not continue using or attempt to repair dam‐ aged or cracked cutting attachments by welding, straightening or modifying the shape (out of balance).
After Finishing Work
After finishing work or before leaving the power tool unattended: Shut off the engine.
After finishing work, clean dirt, soil and plant residue off the attachment – wear gloves to reduce the risk of injury.
Do not use any grease solvents when cleaning.
After thoroughly cleaning, coat metal surface of attachments with a corrosion inhibitor.
Maintenance and Repairs
Service the machine regularly. Do not attempt any maintenance or repair work not described in the MultiTool and MultiEngine instruction man‐ uals. Have all other work performed by a servic‐ ing dealer.
STIHL recommends that you have servicing and repair work carried out exclusively by an author‐ ized STIHL servicing dealer. STIHL dealers are regularly given the opportunity to attend training courses and are supplied with the necessary technical information.
Only use high-quality replacement parts in order to avoid the risk of accidents and damage to the power tool. If you have any questions in this respect, consult a servicing dealer.
STIHL recommends the use of original STIHL replacement parts. They are specifically designed to match your model and meet your performance requirements.
To reduce the risk of injury, always shut off the engine before carrying out any maintenance or repairs or cleaning the machine.
Using the Unit
General

Cultivator MultiTools are available in versions with pick tines (BF‑MM) and bolo tines (BK‑MM).
Pick tines

Pick tines are particularly suitable for tilling and loosening hard or packed soil.
Bolo tines

Not available in all markets.
Bolo tines are particularly suitable for working cultivated, lighter soils.
Preparations
- Secure the handlebar in the normal operating position.
- Start the engine.
Working Technique

The MultiEngine with rotor blades can be operated forwards (1) or backwards (2).
Choose the method and type of rotor blade to suit your purpose, i.e. this depends on the shape and size of the area and soil conditions.
Working in an alternating backwards and for‐ wards motion is particularly suitable for loosening packed soil.
Working in a steady backwards or forwards motion is particularly suitable for working loose soil.
The rotor blades may only be mounted and oper‐ ated in one position. Arrows on the blades show the required direction of rotation – see chapter on “Mounting the MultiTool”.
Typical Applications
Breaking up soil

A few preparations are necessary before you begin to break up soil which has been previously tilled (e.g. last year’s vegetable or flower gar‐ den). First clear away surface weeds and remains of other plants as well as hard objects like rocks, stones, bottles, pieces of wood etc.
Hold the cultivator firmly with both hands and till only a small area at a time to the required depth.
Finish tilling the area by guiding the cultivator in such a way that you leave no footprints. Use a rake to level off the entire area.
Loosening soil around plants

Only loosen the surface soil around plants. Avoid going too deep as this could damage the shallow roots of some plants.
To avoid any damage to the cultivator or trees, be wary not to catch the blades on the large roots of trees.
Working in soil improvers
The cultivator can be used for mulching with loam, compost, leaves, other organic material or fertilizers.
Prepare the area by removing all old roots, the remains of large plants and hard objects (stones etc.). Spread the mulch evenly on the ground.
Work in the mulch with a back and forth motion.
Finish off by leveling the area with a rake.
Trenching or furrowing
Walk slowly backward and pull the cultivator to create the furrow required. Repeat as necessary to obtain deeper furrows.
Cleaning the rotor blades
Parts of plants, e.g. roots, can become tightly wrapped around or between the rotor blades dur‐ ing operation. To clean the rotor blades:
- Wear gloves.
- Pull the hitch pins out of the axle.
- Pull the rotor blades off the shaft.
- Remove roots, plants and soil.
Refer to “Mounting the MultiTool” for mounting instructions.
Cultivator spur (special accessory)
The cultivator spur simplifies control and makes operation of the power tool less tiring. It slows the forward motion and reduces the effort required to hold the power tool.
The spur breaks up the ridge between the rotor blades when tilling hard soil.

- Use the screw and knob to mount the cultiva‐ tor spur to the right-hand side of the flange.
- Set the spur to the required depth and tighten it down firmly.
Approved MultiEngines
Only use MultiEngines supplied by STIHL or expressly approved by STIHL for use with the MultiTool.
This MultiTool may only be used in combination with the STIHL MM 56 MultiEngine.
Mounting the MultiTool
Removing Existing MultiTools
WARNING
Wear gloves to reduce the risk of injury from contact with sharp MultiTools and/or hot surface of gearbox.

- Remove the hitch pin and pull the MultiTools (if fitted) off the shaft – see also “Mounting the MultiTool” in the instruction manual of the other MultiTool.
- Clean the gearbox if necessary.
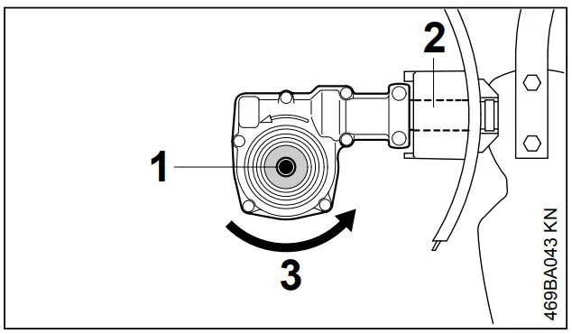
Checking Position of Gearbox
WARNING
To reduce risk of injury from the MultiTool rotating in the wrong direction, check that position of gearbox is correct and adjust if necessary.

Gearbox output shaft (1) below the drive tube (2).
Direction of rotation (3) of MultiTool
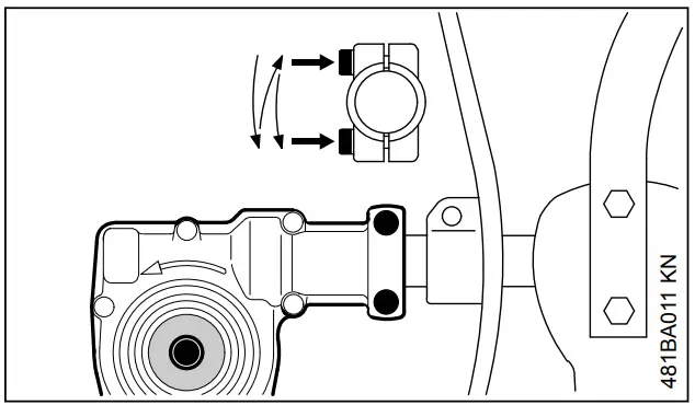
Adjusting Position of Gearbox

- Loosen clamp screws on gearbox.
- Turn the gearbox through 180°.
- Line up the gearbox in the correct position.
- Tighten down the two clamp screws on the gearbox in the following sequence:
- Tighten the first screw moderately.
- Tighten the second screw moderately.
- Tighten down first screw firmly.
- Tighten down second screw firmly.
NOTICE
It must not be possible to rotate the gearbox on the drive tube.
Mounting the MultiTool
Arrange the blades in the order they will be fitted on the shaft, noting the following points:
Left-hand and right-hand blades are different.
The direction of rotation is marked with arrows on the gearbox and blades.

Rotate the inner right-hand blade (4) on the shaft until it can be pushed into position – check the direction of rotation again (arrows).
The hub of the inner blade is larger than that of the outer blade.
- Rotate the outer right-hand blade (5) on the shaft until it can be pushed into position – check the direction of rotation again (arrows).
- Insert and engage the hitch pin (6) in the hole in the shaft – fold the hitch pin flat against the blade.
- Use the same procedure to mount the rotor blades on the left-hand side.
Starting / Stopping the Engine
Starting the Engine
Always follow the starting procedure described in the MultiEngine instruction manual.

- Secure the handlebar in the normal operating position.
- Retract the wheels, if fitted – see chapter on “Wheels” in MultiEngine instruction manual.
- Retract the spur, if fitted.
- Check that the MultiTool is not touching the ground or any other obstacles. The unit must rest on the engine flange and the support on the frame.
- Make sure you have good balance and secure footing – as shown in the illustration.
WARNING
To reduce the risk of injury from contact with the rotating attachment, always stand to the side of the power tool, never in front of the attachment.
With your left hand on the loop handle, press the unit firmly against the ground – do not touch the throttle trigger or lockout lever.
NOTICE
Do not stand or kneel on the handlebar or frame.
WARNING
The attachment may begin to move as soon as the engine starts. For this reason, blip the throttle after starting – the engine returns to idling speed.
Now follow the starting procedure described in the MultiEngine instruction manual.
Stopping the Engine
See MultiEngine instruction manual.
Storing the Machine
For periods of about 30 days or longer
- Remove, clean and inspect the rotor blades.
- Coat metal parts of interchangeable attach‐ ment with corrosion-inhibiting oil.
- Store the machine in a dry and secure location
Keep out of the reach of children and other unauthorized persons.
Maintenance and Care
The following intervals apply to normal operating conditions only. If your daily working time is longer or operating conditions are difficult (very dusty work area, etc.), shorten the specified intervals accordingly
All accessible screws and nuts
Retighten if necessary
Sweeping attachments and deflectors
- Visual inspection, check tightness before start‐ ing work and after every refueling stop
- Replace if damaged
Safety labels
Replace illegible safety labels
Minimize Wear and Avoid Damage
Observing the instructions in this manual and the MultiEngine manual helps reduce the risk of unnecessary wear and damage to the power tool.
The power tool must be operated, maintained and stored with the due care and attention described in these instruction manuals.
The user is responsible for all damage caused by non-observance of the safety precautions, operating and maintenance instructions. This includes in particular:
- Alterations or modifications to the product not approved by STIHL.
- Using tools or accessories which are neither approved or suitable for the product or are of a poor quality.
- Using the product for purposes for which it was not designed.
- Using the product for sports or competitive events.
- Consequential damage caused by continuing to use the product with defective components
Maintenance Work
All the operations described in the chapter on “Maintenance and Care” must be performed on a regular basis. If these maintenance operations cannot be performed by the owner, they should be performed by a servicing dealer.
STIHL recommends that you have servicing and repair work carried out exclusively by an author‐ ized STIHL servicing dealer. STIHL dealers are regularly given the opportunity to attend training courses and are supplied with the necessary technical information.
If these maintenance operations are not carried out as specified, the user assumes responsibility for any damage that may occur. Among other parts, this includes:
- Corrosion and other consequential damage resulting from improper storage.
- Damage to the product resulting from the use of poor quality replacement parts.
Main Parts

- Outer, right-hand rotor blade
- Inner, right-hand rotor blade
- Inner, left-hand rotor blade
- Outer, left-hand rotor blade
- Hitch pin
Specifications
Cultivator Blades
Four rotor blades, double-edged, rotate in same direction
Diameter of pick tine: 230 mm
Diameter of bolo tine: 210 mm
Working width: 220 mm
Weight
Four rotor blades with hub
Pick tines: 2.0 kg
Bolo tines: 2.0 kg
REACH
REACH is an EC regulation and stands for the Registration, Evaluation, Authorization and Restriction of Chemical substances.
For information on compliance with the REACH regulation (EC) No. 1907/2006 see
Maintenance and Repairs
Users of this machine may only carry out the maintenance and service work described in this user manual. All other repairs must be carried out by a servicing dealer.
STIHL recommends that you have servicing and repair work carried out exclusively by an author‐ ized STIHL servicing dealer. STIHL dealers are regularly given the opportunity to attend training courses and are supplied with the necessary technical information.
When repairing the machine, only use replace‐ ment parts which have been approved by STIHL for this power tool or are technically identical.
Only use high-quality replacement parts in order to avoid the risk of accidents and damage to the machine.
STIHL recommends the use of original STIHL replacement parts.
Original STIHL parts can be identified by the STIHL part number, the
logo and the STIHL parts symbol
(the symbol may appear alone on small parts).
Disposal
Contact the local authorities or your STIHL servicing dealer for information on disposal.
Improper disposal can be harmful to health and pollute the environment.

- Take STIHL products including packaging to a suitable collection point for recycling in accord‐ ance with local regulations.
- Do not dispose with domestic waste.
![]()












