STIHL RG-KM Rotary Cutting Head

Introduction
Dear Customer,
Thank you for choosing STIHL. We develop and manufacture our quality products to meet our customers’ requirements. The products are designed for reliability even under extreme con‐ditions. STIHL also stands for premium service quality. Our dealers guarantee competent advice and instruction as well as comprehensive service support.
STIHL expressly commit themselves to a sus‐tainable and responsible handling of natural resources. This user manual is intended to help you use your STIHL product safely and in an environmentally friendly manner over a long service life. We thank you for your confidence in us and hope you will enjoy working with your STIHL product.
Dr. Nikolas Stihl
IMPORTANT! READ BEFORE USING AND KEEP IN A SAFE PLACE FOR REFERENCE.
Guide to Using this Manual
Applicable Documentation
Local safety regulations apply.
- Read, understand and save the following documents in addition to this instruction man‐ual:
- Instruction manual of STIHL powerhead being used.
Symbols used with warnings in the text
WARNING
- This symbol indicates dangers that can cause serious injuries or death.
- The measures indicated can avoid serious injuries or death.
NOTICE
- This symbol indicates dangers that can cause damage to property.
- The measures indicated can avoid damage to property.
Symbols in Text
Overview
Interchangeable Attachment
- 1 Machine Support For resting attachment on the ground.
- Blades Cut weeds.
- Rider Plate Covers the blade mounting.
- Screw Secures rider plate to attachment.
- Screw Plug Closes filler opening for STIHL gear grease.
- Safety Precautions
- Encloses the gearbox.
- Transport Guard Helps protect user from contact with blades.
- Blade Mounting Serves to secure the blades.
Symbols
Meanings of symbols that may be on the attach‐ment:
- This symbol marks the filler opening for STIHL gear grease.
Safety Precautions
Warning Symbols
- Observe safety notices and take the necessary precautions.
- Read, understand and save the instruction manual.
- Wear safety glasses and hearing pro‐tection.
- Wear safety boots.
- Wear protective gloves.
- Do not touch the moving blades.
- Maintain safe distance.
- Do not touch hot surface.
Intended Use
The STIHL RG attachment is designed to be combined with a STIHL powerhead and used for removing weeds and mowing grass.
WARNING
- Using the attachment for purposes for which it is not designed may result in serious or fatal injuries and damage to property.
- Use the attachment as described in this instruction manual.
- Use the powerhead as described in the instruction manual supplied with the STIHL powerhead.
The Operator
WARNING
- Users who have had no instruction cannot rec‐ognize or assess the risks involved in using the attachment. The user or other persons may sustain serious or fatal injuries.
- Read, understand and save the instruction manual.
- If you pass the attachment on to another person: Always give them the instruction manual.
- Make sure the user meets the following requirements:
- The user must be rested.
- The user must be in good physical con‐dition and mental health to operate and work with the attachment. If the user’s physical, sensory or mental ability is restricted, he or she may work only under the supervision of or as instructed by a responsible person.
- The user is able to recognize and assess the risks involved in using the attachment.
- The user must be of legal age or is being trained in a trade under supervi‐sion in accordance with national rules and regulations.
- The user has received instruction from a STIHL servicing dealer or other experi‐enced user before working with the attachment for the first time.
- The user must not be under the influ‐ence of alcohol, medication or drugs.
- If you have any queries: Contact a STIHL servicing dealer for assistance.
Clothing and equipment
WARNING
- Objects can be thrown at high speed during operation. This may result in injury to the user.
- Wear close-fitting safety glasses. Suitable safety glasses are tested in accordance with EN 166 or national regulations and available commer‐cially with the corresponding mark‐ing.
- Wear long trousers made from resistant material.
- Noise is generated during operation. Noise can damage your hearing.
- Wear ear protection.
- Dust can be whipped up during operation: Whipped up dust can damage the respiratory passages and cause allergic reactions.
- If dust is whipped up or forms a cloud: Wear a dust respirator mask.
- Unsuitable clothing can snag on wood, brush or the attachment. Users not wearing suitable clothing are at risk of serious injury.
- Wear close-fitting clothing.
- Remove scarves and jewelry.
- The user can come into contact with the blades during operation. This may result in serious injury to the user.
- Wear steel-toed safety boots.
- Wear long trousers made from resistant material.
- The user can come into contact with the blades during cleaning and maintenance work. This may result in injury to the user.
- Wear work gloves made from resist‐ant material.
- Wearing unsuitable footwear may cause the user to slip. This may result in injury to the user.
- Wear sturdy, closed-toed footwear with high-grip soles.
Work Area and Surroundings
WARNING
- Innocent bystanders, children and animals are not aware of the dangers of the attachment or flying debris. Bystanders, children and animals may be seriously injured and damage to prop‐erty may occur.
- Do not allow bystanders, children or animals within 5 meters of the work area.
- Maintain a clearance of 3 meters from objects.
- Do not leave the attachment unattended.
- Make sure that children cannot play with the attachment.
Safe Condition
Power tool attachment
The attachment is in a safe condition if the fol‐lowing points are observed:
- The attachment is undamaged.
- The attachment is clean.
- The attachment is properly mounted.
- Original STIHL accessories for this attachment are fitted.
- The accessories are correctly attached.
WARNING
- If not in safe condition, components may no longer operate correctly and safety devices may be disabled. This may result in serous or fatal injury to people.
- Work only with an undamaged attachment.
- If the attachment is dirty: clean the attach‐ment.
- Do not modify the attachment.
- Fit original STIHL accessories designed for this attachment.
- Fit the blade as described in this Instruction Manual.
- Attach accessories as described in this User Manual or in the User Manual for the accessories.
- Replace worn or damaged labels.
- If you have any doubts, be sure to consult a STIHL dealer.
Blades
The blades are in a safe condition if the following points are observed:
- The blades and mounting hardware are undamaged.
- The blades are not deformed.
- The blades are properly mounted.
- The blades are burr-free.
WARNING
- If they are in an unsafe condition, parts of the blades may come off and be thrown at high speed. This can result in serious injuries.
- Never work with damaged blades or dam‐aged mounting hardware.
- Sharpen the blades properly.
- Deburr the cutting edges with a file.
- If you have any queries: Contact a STIHL servicing dealer for assistance.
Safety Precautions
Operation
WARNING
- The user cannot concentrate on the work in certain situations. The user may stumble, fall and be seriously injured.
- Work calmly and carefully.
- If light and visibility are poor: Do not work with the attachment.
- Operate the attachment alone.
- Keep the attachment close to the ground.
- Watch out for obstacles.
- Stand on the ground while working and keep a good balance.
- If you begin to feel tired: Take a break.
- The moving blades can cut the user. This can result in serious injuries.
- Do not touch the moving blades.
- If the blades are blocked by an object: Shut off the powerhead. Then remove the object causing the block‐age.
- If the behavior of the attachment changes dur‐ing operation or feels unusual, it may no lon‐ger be in a safe condition. This can result in serious injuries and damage to property.
- Stop work and contact your STIHL dealer for assistance.
- Attachment vibrations may occur during oper‐ation.
- Wear gloves.
- Take regular breaks.
- If signs of circulation problems occur: Seek medical advice.
- Sparks may occur if the rotating blades make contact with a hard object. Sparks may cause a fire in an easily combustible location. This can result in serious or fatal injuries and dam‐age to property.
- Do not work in an easily combustible loca‐tion.
- There is an increased risk of objects being thrown if cutting performance deteriorates or cuttings frequently become jammed. This can result in personal injury.
- Sharpen the blades as described in the instruction manual.
- Note that the blades continue to move for a few seconds after you let go of the throttle on the powerhead. This can result in serious inju‐ries.
- Wait until the blades come to a complete standstill.
DANGER
- Working near live electric cables can result in accidental contact with the blades and dam‐age the cables. This can result in serious or fatal injuries.
- Do not work near live electric cables.
- Also watch out for buried cables.
Transporting
WARNING
- The gear housing can get hot during opera‐tion. There is a risk of burn injuries.
- Do not touch a hot gear housing.
- The attachment can turn over or move while being transported. This may result in personal injuries and damage to property.
- Fit the transport guard.
- Secure the attachment with lashing straps, belts or a net to prevent it turning over and moving.
Storing
WARNING
- Children are not aware of and cannot assess the dangers of the attachment and can be seriously injured.
- Fit the transport guard.
- Store the attachment out of the reach of children.
- The metal parts of the attachment can corrode if they are damp. The attachment may be damaged.
- Store the attachment in a clean and dry condition.
Cleaning, Maintenance and Repair
WARNING
- The gear housing can get hot during operation.
There is a risk of burn injuries.- Do not touch a hot gear housing.
- Harsh detergents, cleaning with a water jet or sharp objects can damage the power tool attachment. If the attachment is not cleaned correctly, components may no longer function properly or safety devices may be rendered inoperative. They may cause serious injury to persons.
- Use the attachment as described in this instruction manual.
- If the attachment is not serviced or repaired correctly, components may no longer function properly or safety devices may be rendered inoperative. This may result in serous or fatal injury to people.
- Do not attempt to repair the attachment yourself.
- If the power tool attachment needs to be repaired: Contact a STIHL servicing dealer for assistance.
- Maintain the attachment as described in this instruction manual.
- The user can be cut by the sharp cutting edges while cleaning or maintaining the blades. This may result in injury to the user.
- Wear work gloves made from resistant material
Preparing Attachment for Operation
Preparing Attachment for Operation
Perform the following steps before starting work:
- Make sure the following components are in a safe condition:
- Attachment,
4.6.1. - Powerhead, as described in the instruction manual.
- Attachment,
- Clean the attachment,
12.1. - Mount attachment on powerhead,
. 6.1 - If you are using a powerhead with a loop handle: Mount a barrier bar as described in the powerhead’s instruction manual.
- Use carrying system as described in the powerhead’s instruction manual.
- If you cannot carry out the above steps: Do not use the attachment and contact your STIHL servicing dealer for assistance.
Mounting and Removing the Attachment
Mounting the Attachment
- Loosen the screw (4).
- Push the drive tube (1) into the gear housing (3) and rotate it until the gear shaft (2) engages.
- ighten the screw (4) moderately.
- Position the gear housing (3) so that it faces up.
- Tighten down the screw (4) firmly.
Removing the Attachment
- Fit the transport guard.
- Loosen the screw on the attachment.
- Pull the drive tube out of the attachment.
Checking the Attachment
Checking the Blades
- Shut off the powerhead.

- Meaure the following points on the blades:
- Length a
- Width b
- Angle c
- Compare measurements, 15.2. If the minimum length is less than specified: Offset the blades, 13.4.
- If the minimum width is less than specified: Replace the blades, 13.3.1.
- If the filing angle is not correct: Sharpen the blades, 13.5.
- If you have any queries: Contact a STIHL servicing dealer for assistance.
Using the Attachment
Holding and Controlling the Attachment
- Hold and control the powerhead with attach‐ment as described in the powerhead’s instruc‐tion manual.
Weeding and Mowing Grass
The cutting height is determined by the distance of the blades from the ground.
- Swing the attachment back and forth in an arc.
- Walk slowly and steadily forwards.
After Finishing Work
After Finishing Work
- Shut off the powerhead.
- If the attachment is wet: Allow attachment to dry.
- Clean the attachment.
- Fit the transport guard.
Transporting
Transporting the Attachment
- Shut off the powerhead.
- Fit the transport guard.
- Carry the powerhead with attachment as described in the powerhead’s instruction man‐ual.
- If the attachment is transported in a vehicle: Secure the attachment to prevent turnover and movement.
Storing
Storing the Attachment
- Shut off the powerhead.
- Fit the transport guard.
- Check the following points when storing the attachment:
- Attachment is out of the reach of children.
- Attachment is clean and dry.
Cleaning
Cleaning the Attachment
- Shut off the powerhead.
- Allow gear housing to cool down.
- Clean the attachment with a damp cloth.
Cleaning the Blades
- Shut off the powerhead.
- Spray the blades with STIHL resin solvent.
- Run the powerhead for 5 seconds. The blades rotate. STIHL resin solvent is dis‐tributed evenly.
Maintenance
Maintenance Intervals
The maintenance intervals are dependent on the environmental and operating conditions. STIHL recommends the following maintenance inter‐vals:
After every 25 hours of operation
- Lubricate the gearbox.
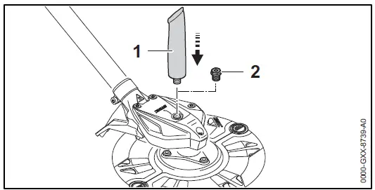
Lubricating the Gearbox
- Shut off the powerhead.

- Remove the screw plug (2).
- If no grease can be seen on the end of the screw plug (2):
- Screw the tube (1) of STIHL gear grease into the filler hole.
- Squeeze 10 g STIHL gear grease into the gear housing.
- Unscrew the tube (1) of STIHL gear grease.
- Refit and tighten down the screw plug (2) firmly.
- Run the powerhead for 1 minute. STIHL gear grease is distributed evenly.
Removing and Attaching the Blade
Removing the Blades
WARNING
- The cutting edges of the blades are sharp. There is a risk of cut injuries.
- Wear work gloves made of durable material.
- Shut off the powerhead.

- Remove screw (1) clockwise.
- Remove the rider plate (2).
- Remove screws (3) counterclockwise.
- Remove blade (4).
- Remove screws (5) counterclockwise.
- Remove blade (6).
Mounting the Blades
WARNING
- The cutting edges of the blades are sharp. There is a risk of cut injuries.
- Wear work gloves made of durable material.
- Shut off the powerhead.

- Fit blade (1).
- Insert the screws (2) clockwise and tighten them down firmly.
- Fit blade (3).
- Insert the screws (4) clockwise and tighten them down firmly.
- Fit the rider plate (5).
- Fit the screw (6) and tighten it down firmly counterclockwise.
Offsetting the Blades
WARNING
- The cutting edges of the blades are sharp. There is a risk of cut injuries.
- Wear work gloves made of durable material.
- Shut off the powerhead.
- Remove the blades.

- Mount the blades 120° offset.
- If the blades have already been offset twice: Replace the blades.
- If you have any queries: Contact a STIHL servicing dealer for assistance.
Sharpening the Blades
WARNING
- The cutting edges of the blades are sharp. There is a risk of cut injuries.
- Wear work gloves made of durable material.
- Shut off the powerhead.
- Remove the blades.

- Use a STIHL flat crosscut file to sharpen the cutting edge (2). The file only sharpens on the forward stroke. Maintain the specified sharpening angle, 15.2.
- Sharpen the other cutting edges.
- Mount the blades.
- If you have any queries: Contact a STIHL servicing dealer for assistance.
Repairing
Repairing the Attachment
The attachment cannot be repaired by the user.
- If the attachment is damaged: Do not use the attachment and contact your STIHL servicing dealer for assistance.
Specifications
STIHL RG Interchangeable Attachment
- Weight with blades: 2.0 kg
Blades
- Thickness: 1.25 mm
- Minimum width (tooth): 5 mm
- Minimum length (tooth): 10 mm
- Sharpening angle: 45°
Noise and Vibration Data
K-value (uncertainty) for sound pressure levels is 2 dB(A). K-value (uncertainty) for sound power levels is 2 dB(A). K-value (uncertainty) for vibration levels is 2 m/s².
RG with FS 91
- Sound pressure level Lp measured on reflective surface according to ISO 22868: 96 dB(A)
- Sound pressure level Lp measured on reflective surface according to ISO 22868: 107 dB(A)
- Vibration level ahv measured according to ISO 22867
- Control handle: 5.2 m/s².
- Left handle: 5.4 m/s²
RG with FS 91 R
- Sound pressure level Lp measured on reflective surface according to ISO 22868: 96 dB(A)
- Sound pressure level Lp measured on reflective surface according to ISO 22868: 107 dB(A)
- Vibration level ahv measured according to
ISO 22867
- Control handle: < 4.6 m/s²
- Loop handle: 5.8 m/s²
RG with FS 94
- Sound pressure level Lp measured on reflective surface according to ISO 22868: 93 dB(A)
- Sound pressure level Lp measured on reflective surface according to ISO 22868: 107 dB(A)
- Vibration level ahv measured according to
ISO 22867
- Control handle: 4.1 m/s².
- Left handle: 5.1 m/s²
RG with FS 94 R
- Sound pressure level Lp measured on reflective surface according to ISO 22868: 93 dB(A)
- Sound pressure level Lp measured on reflective surface according to ISO 22868: 107 dB(A)
- Vibration level ahv measured according to
ISO 22867
- Control handle: < 5.5 m/s²
- Loop handle: 6.3 m/s²
RG with FS 111
- Sound pressure level Lp measured on reflective surface according to ISO 22868: 96 dB(A)
- Sound pressure level Lp measured on reflective surface according to ISO 22868: 108 dB(A)
- Vibration level ahv measured according to
ISO 22867
- Control handle: 4.6 m/s².
- Left handle: 4.9 m/s²
RG with FS 111 R
- Sound pressure level Lp measured on reflective surface according to ISO 22868: 96 dB(A)
- Sound pressure level Lp measured on reflective surface according to ISO 22868: 108 dB(A)
- Vibration level ahv measured according to
ISO 22867
- Control handle: < 5.2 m/s²
- Loop handle: 5.5 m/s²
RG with FS 131
- Sound pressure level Lp measured on reflective surface according to ISO 22868: 98 dB(A)
- Sound pressure level Lp measured on reflective surface according to ISO 22868: 109 dB(A)
- Vibration level ahv measured according to
ISO 22867
- Control handle: 5.3 m/s².
- Left handle: 5.4 m/s²
RG with FS 131 R
- Sound pressure level Lp measured on reflective surface according to ISO 22868: 98 dB(A)
- Sound pressure level Lp measured on reflective surface according to ISO 22868: 109 dB(A)
- Vibration level ahv measured according to
ISO 22867
- Control handle: < 5.9 m/s²
- Loop handle: 6.4 m/s²
Information on compliance with Vibration Directive 2002/44/EC is available at www.stihl.com/vib.
REACH
- REACH is an EC regulation and stands for the Registration, Evaluation, Authorisation and Restriction of Chemical substances. For information on compliance with the REACH regulation see www.stihl.com/reach.
Combinations with Powerheads
STIHL RG
The attachment may be mounted to the following powerheads:
- STIHL FS 91
- STIHL FS 91 R
- STIHL FS 94
- STIHL FS 94 R
- STIHL FS 111
- STIHL FS 111 R
- STIHL FS 131
- STIHL FS 131 R
Spare Parts and Accessories
Spare parts and accessories
These symbols indicate original STIHL spare parts and original STIHL accessories. STIHL recommends the use of original STIHL spare parts and accessories. Despite ongoing market observation, STIHL is unable to judge the reliability, safety and suitability of other manufacturers’ spare parts and accessories; accordingly, STIHL cannot warrant for the use of those parts. Original STIHL spare parts and original STIHL accessories are available from STIHL dealers.
Disposal
Disposing of Attachment
Contact the local authorities or your STIHL dealer for information on disposal.
Improper disposal can be harmful to health and pollute the environment.
- Take STIHL products including packaging to a suitable collection point for recycling in accordance with local regulations.
- Do not dispose with domestic waste.
EC Declaration of Conformity
STIHL RG Interchangeable Attachment
ANDREAS STIHL AG & Co. KG Badstraße 115 D-71336 Waiblingen Germany declare under our sole responsibility that
- Category: Weeder attachment
- Manufacturer’s brand: STIHL
- Model: RG
- Serial number: 4180
conforms to the relevant provisions of Directive 2006/42/EC and has been developed and manufactured in conjunction with the attachment motors listed in this instruction manual to comply with the following standards in the versions validon the date of production: EN ISO 12100. The technical documents are stored at ANDREAS STIHL AG & Co. KG Produktzulassung. The year of manufacture is specified on the attachment. Waiblingen, 15.07.2021 ANDREAS STIHL AG & Co. KG pp Dr. Jürgen Hoffmann, Director Product Certification & Regulatory Affairs
UKCA Declaration of Conformity
STIHL RG Interchangeable Attachment
ANDREAS STIHL AG & Co. KG Badstraße 115 D-71336 Waiblingen Germany
declare under our sole responsibility that
- Category: Weeder attachment
- Manufacturer’s brand: STIHL
- Model: RG
Serial identification number: 4180 conforms to the relevant provisions of UK Directive Supply of Machinery (Safety) Regulations 2008 and has been developed and manufactured in conjunction with the attachment motors listed in this instruction manual to comply with the following standards in the versions valid on the date of production: EN ISO 12100. The technical documents are stored at ANDREAS STIHL AG & Co. KG. The year of manufacture is indicated on the attachment. Waiblingen, 15.07.2021 ANDREAS STIHL AG & Co. KG pp Dr. Jürgen Hoffmann, Director Product Certification & Regulatory Affairs.






















