BRABEREQ
BRABEREQ BE-RCXXXG Rear Mount Rotary Cutters
TO THE CUSTOMER
This manual contains valuable information about your new mower. It has been carefully prepared to give you helpful suggestions for operating, adjusting, and servicing.
Keep this manual in a convenient place for quick and easy reference. Study it carefully, only by proper care and operation can you expect to receive the service and long life designed and built into this mower. It is the owner’s and/or operator’s responsibility to…
- Read and understand the information contained in this manual.
- Operate, lubricate, assemble and maintain the equipment in accordance with all instructions and safety procedures in this manual.
- Inspect the equipment and replace or repair any parts that are damaged or worn which could cause damage, wear to other parts, or cause a safety hazard.
SAFETY
READ AND FOLLOW THE INSTRUCTIONS IN THIS MANUAL, ESPECIALLY IN THE SAFETY SECTION. FAILURE TO DO SO COULD RESULT IN SERIOUS INJURY OR DEATH.
TAKE NOTE! THIS SAFETY ALERT SYMBOL IS FOUND THROUGHOUT THIS MANUAL. THIS SYMBOL IS USED TO CALL YOUR ATTENTION TO INSTRUCTIONS CONCERNING YOUR PERSONAL SAFETY AND THE SAFETY OF OTHERS.
CRITICAL TERMS
The critical terms DANGER, WARNING and CAUTION are used with the safety messages in this manual and with each safety decal. They are defined as follows:
DANGER:
Indicates an immediate hazardous situation that, if not avoided, could result in serious injury or death. This Critical Term is to be limited to the most extreme situations, typically for machine components that, for functional purposes, cannot be guarded.
WARNING:
Indicates a potentially hazardous situation that, if not avoided, could result in serious injury or death, and includes hazards that are exposed when guards are removed. It may also be used to alert against unsafe practices.
CAUTION:
Indicates a potentially hazardous situation that, if not avoided, may result in minor or moderate injury. It also may be used to alert against unsafe practices.
EQUIPMENT SAFETY GUIDELINES
- Safety of the operator and bystanders is one of the main concerns in designing and developing a mower. However, every year accidents occur which could have been avoided by a few moments of thought and a more careful approach to handling equipment. You, the operator, can avoid many accidents by observing the following precautions and insist those working with or for you adhere to them.
- In order to provide a better view, certain illustrations in this manual may show an assembly with a safety guard removed. However, equipment should never be operated in this condition. Keep all guards in place. If guard removal becomes necessary for repairs, reinstall the guards prior to use.
- Replace any safety decal that is not legible or is missing. The locations of such safety decals are indicated in this manual.
- Never operate this equipment while using alcoholic beverages or drugs that can hinder alertness or coordination. Consult your doctor about operating this machine while taking prescription medications.
- Under no circumstances should children under the age of 18 be allowed to work with or around this equipment. Do not allow anyone to operate or assemble this equipment until they have read this manual and have developed a thorough understanding of the safety precautions and operation. Review safety instructions with all users annually.
- This equipment is dangerous to children and anyone unfamiliar with its operation. The operator should be a responsible, properly qualified and physically able person familiar with farm machinery and competent in this equipment’s operation.
- Never exceed the limits of a piece of machinery. If its ability to do a job, or to do so safely, is in question- DON’T TRY IT.
- Use a tractor equipped with a Roll Over Protective System and seat belt. (ROPS)
- Do not modify the equipment in any way. Unauthorized modifications could result in serious injury or death and may impair the function and shorten the life of the equipment.
- In addition to the design of this implement, safety decals and safety equipment, accident prevention is dependent upon the awareness, common sense, forethoughts, and proper training of everyone involved in the operation, transport, maintenance, and storage of the machine. Also refer to safety messages and operating instructions in each of the appropriate sections of the tractor manual. Pay close attention to the safety decals affixed to the tractor and Rough-Cut Mower.
BEFORE PUTTING ROUGH CUTTING MOWER INTO SERVICE
IMPORTANT INSTRUCTIONS PRIOR TO OPERATING
MOWER SHIPPED WITHOUT OIL IN GEAR BOX AND WITHOUT GREASE IN GREASE FITTINGS. UNIT MUST BE SERVICED BEFORE USING.
Fill Gearbox using Multi-Purpose Gear Oil.
For all Grease Fittings use a high-temp/multi-purpose grease.
- STEP 1 Place Rough Cutting Mower so that the deck is secure and level.
- STEP 2 Remove the plug located at top of gearbox and 1/8” pipe plug (located at lower with lower 1/3” of gearbox.)
- STEP 3 Fill gearbox using multi-purpose gear oil through top 1/2” fill hole until gear oil is level with lower 1/8” hole.
- STEP 4 Replace both the 1/2” pipe plug (located at top of gear box) and 1/8” pipe plug (located at lower 1/3 of gear box ) and clean off any excess oil.
- STEP 5 Grease the following zerks:
*Both U-Joints on the PTO shaft - STEP 6 Inspect all guards to insure they are in good working order. If not replace before using.
- STEP 7 Check all bolts and nuts to insure they are tight and secure.

CAUTION:
DO NOT overfill gearbox. This could cause damage to oil seals and can cause permanent damage to the gearbox. This issue will not be covered under warranty.
PREPARATION
- Never operate the tractor and mower until you have read and completely understand this manual, the DO NOT operate the tractor and mower until you have read and completely understood this manual, the Tractor Operator’s Manual and each of the messages found on the safety decals on the tractor and mower.
- Personal protection equipment including hardhat, safety glasses, safety shoes and gloves are recommended during the assembly, installation, operation, adjustment, maintenance, repairing, removal or moving of the implement.
- Do not wear loose-fitting clothing or jewelry and be sure to contain long hair around equipment.
PROLONGED EXPOSURE TO LOUD NOISE MAY CAUSE PERMANENT HEARING LOSS!
- Tractors with or without mower attached can often create enough noise to cause permanent hearing loss.
- We recommend that you use hearing protection if the noise in the operator’s position exceeds 80db. Long-term exposure to noise levels over 80db can cause severe hearing loss. Long-term exposure to noise levels over 90db adjacent to the operator may cause permanent total hearing loss.
- NOTE: Hearing loss from loud noises (from tractors, chain saws, radios and other sources close to the ear) is cumulative over a lifetime, with no chance of natural recovery.
- Always wear your seatbelt. Serious injury or even death could result from falling off the tractor, particularly during a rollover when the operator could be trapped under the ROPS or the tractor.
- Clear area to be cut of stones, branches and other debris that might be thrown causing injury or damage.
- Operate only in daylight or good artificial light.
- Ensure mower is properly mounted, adjusted and in good operating condition.
- Ensure all safety guards and safety decals are properly installed and in good condition.
STARTING AND STOPPING SAFETY
- Check the tractor master guard over the PTO shaft. Make sure it is in good condition and fastened securely to the tractor. Purchase a new guard if old guard is damaged or missing.
- All tractors that are not equipped with a “live” Power Take Off (PTO) need to be equipped with an over-running PTO clutch. These are available through most farm equipment stores.
NOTE: The addition of an over-running PTO clutch may change the length of the PTO driveline required. - Pay extra attention to the instructions on the PTO driveline installation.
- Be sure that the driveline system guarding is sufficient.
- Mower operating power is supplied from tractor PTO. Refer to your tractor manual for PTO engagement and disengagement instructions. Know how to stop the tractor and mower quickly in case of an emergency.
- The engine RPM should always be at idle speed when engaging the PTO. Once engaged and you are ready to start cutting, increase the PTO speed to approximately 540 RPM and maintain throughout the cutting operation.
- The use of this equipment is susceptible to certain hazards that cannot be protected against by mechanical means or product design. All operators of this equipment must read and understand this entire manual, paying close attention to safety and operating instructions, prior to using.
- Most accidents occur because of neglect or carelessness. Keep all assistants and bystanders several hundred feet from the operating Rough Cutting Mower.
- When machine is operated in populated areas where thrown objects could injure persons or property, operation must be stopped if anyone comes within a few hundred feet.
- The majority of the accidents involve entanglement on the driveline, injury of bystanders by the objects thrown by the rotating blades and operators being knocked off are most likely to occur with machines that are then being run over by the mower. Accidents are most likely to occur with machines that are loaned or rented to someone who has not read the owner’s manual and is not familiar with a Rough Cutting Mower.
- The Rough Cutting Mower is designed for use on tractors with a 540-RPM power take off. Install and secure all guards and shields before starting or operating. The discharge chute, flaps, driveline guards and tractor guards should be used and maintained in good working condition.
- They should be inspected carefully daily for missing or broken cables, chain links, shields and guards.
- Worn items must be replaced at once to reduce the possibility of injury. Disengage Power Take Off (PTO) and place tractor transmission in neutral before attempting to start engine.
- Many varied objects, such as wire, cable, rope or chains, can become entangled in the working parts of the mower. These objects could then swing outside the housing at a greater velocity than the blades. Such an occurrence is extremely hazardous. Inspect the cutting area for such objects before mowing.
- Remove any foreign objects from the site.
- Never allow the cutting blade to contact foreign objects. Cut higher at first, allowing Rough Cutting
- Mower to clear such hidden objects. Never assume an area is clear. Always Check! Always stop the tractor, disengage PTO, allow cutter blades to come to a complete stop, lower implement to the ground, set brake, shut off the tractor engine and remove the ignition key before dismounting tractor.
- Never leave equipment unattended while the tractor is running. Never place hands or feet under mower while tractor is running. Stay clear of all moving parts.
- Do not reach or place any part of your body under the equipment until it is blocked securely.
- Do not allow riders on the Rough Cutting Mower or tractor at any time. There is no safe place for riders.
- Do not operate unless all personnel, livestock and pets are several hundred feet away to prevent injury by thrown objects. Never direct the discharge chute toward anyone.
- Never operate tractor and Rough Cutting Mower under trees with low hanging limbs. Operators can be knocked off the tractor and then run over by the rotating blades.
- The rotating parts of this machine have been designed and tested for rugged use. However, they could fail upon impact with heavy, solid objects such as steel guardrails and concrete abutments.
- To reduce the possibility of property damage, serious injury or even death never allow the cutting blades to come in contact with such objects. Stop mower and tractor immediately upon striking an obstruction. Turn engine off, remove key, then inspect and repair any damage before resuming operation.
- Stay alert for uneven terrain, holes, roots and other hidden hazards. Keep away from drop-offs and hazards that could cause rollover. Use extreme care and maintain minimum ground speed when transporting or operating on hillsides, over rough ground and when operating close to ditches or fences. Be careful and slow down when turning sharp corners and changing direction on slopes.
- Do not start or stop suddenly on slopes and avoid operating on steep slopes. In extremely uneven terrain, rear wheel weights, front tractor weights and/or tire ballast should be used to improve stability.
- Drive Rough Cutting Mower diagonally over sharp dips and avoid sharp drops to prevent tractor and Rough Cutting Mower from “hanging up”. Always cut downward on slopes, never cut across the face.
- Always check tractor manual for proper use on slopes. Practice will improve your skills in maneuvering on rough terrain.
- A minimum of 20% of the tractor and equipment weight must be on tractor front wheels, without this weight, the tractor could tip over causing personal injury or death. The weight may be attained with a front-end loader, front wheel weights, ballast in the tires or front tractor weights. When attaining a minimum 20% of the tractor and equipment weight on the front wheels, you must not exceed the ROPS weight certification. Weigh the tractor and equipment. Do not guess or estimate!
TRANSPORT SAFETY
- Always observe state and local laws governing highway safety and the travel of farm machinery on public roads.
- The use of flashing amber lights is acceptable in most locations. However, some locations prohibit use. Local laws should be checked for all lighting and marking requirements.
- When driving the tractor and equipment on roads or highways use flashing amber warning lights and a slow-moving vehicle (SMV) identification emblem. Do not exceed 20 mph. Reduce speed on rough roads and surfaces.
- Plan your route to avoid heavy traffic.
- Always install transport locks, pins or brackets before transporting.
- Do not drink and drive.
- Be a safe and courteous driver. Always yield to oncoming traffic in all circumstances, including narrow bridges, intersections, etc. Watch for traffic when crossing or operating in close proximity to roadways.
- Turn curves and go up and down hills only at a low speed at a gradual steering angle. Make certain that a least 20% of the tractor’s weight is on the front wheels to maintain safe control. Slow down on rough and/or uneven surfaces. Always check tractor manual for proper use on slopes.
- Use extreme care and maintain minimum ground speed when operating close to ditches and/or fences. Be careful when turning sharp corners.
- Never allow riders on either tractor or mower.
ATTACHING TO TRACTOR
WARNING
Never stand between tractor and Rough Cutting Mower while backing the tractor up to the hitch
- STEP 1 Attach to tractor’s three point hitch as described in the Tractor’s Operator’s Manual.
- STEP 2 Apply any multi-purpose grease to the outside of the male (inner) PTO shaft section. Assemble PTO shaft and install on Rough Cutting Mower and tractor.
WARNING
Failure to install the retaining clip on gearbox input shaft would allow the driveline to swing freely if the bolt is sheared causing possible injury or death.
STEP 3 Pull shaft on tractor side of PTO shaft yoke to be sure it has locked in place. Make certain PTO shaft guards are in place and good working condition.
STEP 4 The PTO shaft guard is a non-rotating design and must be secured prior to equipment use.
OPERATING INSTRUCTIONS
This mower was designed to CUT PASTURE GRASS AND ROUGH AREAS UP TO 1” IN DIAMETER. Use of your Rough Cutting Mower to cut any material larger than 1” in diameter may damage the mower and void your warranty.
PRE-OPERATIONAL ADJUSTMENTS
Set tractor’s lift control stop at a position that will prevent the PTO shaft from coming in contact with the front edge of the mower when it is at full lift. Consult your tractor manual for instructions.
CUTTING HEIGHT ADJUSTMENT
To prevent blades from striking the ground, your Rough-Cut Mower should be set to the highest position that will give you the desired cutting height. By setting your mower up this way, you reduce blade wear and stress on the mower.
Moving at regular intervals will produce far better results than periodic mowing.
STEP 1
Raise Rough Cut Mower Off the ground with the tractor and SECURELY BLOCK IN POSITION.
Remove 5/8” bolt from adjusting bracket. (See Figure 11). 
STEP 2
Move the A-frame tailwheel up or down to desired cutting height.
Reinstall 5/8” bolt and tighten to secure in position. (See Figure 12).
Note: It may be necessary to loosen the A-frame tailwheel attachment bolts. (See Figure 4, page 6). 
Note: For best results in heavier cutting conditions, adjust the deck so that the rear of the mower is approximately 2” higher than the front. This method requires less horsepower and ground speeds of approximately 3-5 mph. If finer shredding results are desired, adjust the deck so that it is level or slightly lower in the rear. This method will keep foliage under the deck longer resulting in finer pieces.
To achieve a finer cut the mower does require more horsepower and much slower ground speed.
This method is not recommended unless a PTO speed of 540 RPM can be maintained.
OPERATION
- STEP 1
Before each use, perform the maintenance described in maintenance section. - STEP 2
Read, understand, and follow the information on safety, preparation, starting and stopping safety, operational safety and transport safety warning sections of this manual. - STEP 3
With tractor running, lower rough-cut mower into working position. - STEP 4
With the tractor at idle RPM, engage PTO and slowly advance throttle to approximately 540 PTO RPM.
NOTE: The rough-cut mower was designed to run at 540 PTO RPM. - STEP 5
Select a low tractor gear and begin to mow. Tractor ground speed is to be controlled by gear selection only and not engine speed. Tractor PTO speed should allow rough cut mower to maintain 540 PTO RPM and thus maximum blade tip speed.
NOTE: Do not allow the tractor engine or rough-cut mower to bog down or stall. This causes unnecessary wear and tear on the mower and tractor. If this continues to occur, reduce ground speed and/or raise the cutting height of the rough-cut mower.
NEVER ATTEMPT TO CLEAN OUT A CLOGGED DISCHARGE CHUTE UNTIL THE MOWER BLADES HAVE COMPLETELY STOPPED AND THE TRACTOR HAS BEEN SHUT OFF. - STEP 6
After each use, clean all debris from the top and bottom of the rough-cut mower. Replace any missing or illegible safety decals. Inspect for any damaged or worn parts and replace before next use. Store the rough-cut mower in a dry environment.
MAINTENANCE
- Periodically check and maintain proper gear oil level.
- Approximately every 8 hours, grease spindles, roller axle, wheel forks, wheel axles, PTO shaft universal joints, and PTO telescoping surface.
NOTE: Use a high-temp / multi-purpose grease. - Before each use check to make sure all safety features are installed and working properly.
- Keep blades sharp and balanced at all times. When replacing the blades, replace all blades and blade bolts and the same time.
- Periodically check all nuts, bolts, and belt to insure they are tight and secure.

MAINTENANCE SAFETY
Good maintenance is your responsibility. Poor maintenance is an invitation on trouble.
- Follow good shop practices.
- Keep service area clean and dry.
- Be sure electrical outlets and tools are properly grounded.
- Use adequate light for the job at hand.
Make sure there is ample ventilation. Never operate the tractor engine in a closed building. The exhaust fumes may cause asphyxiation.
Before working on this machine, disengage the PTO, be certain all moving parts on attachments have come to a complete shop, shut off the engine, set the bakes, and remove the ignition keys before attempting to perform maintenance.
Never work under equipment unless it is blocked securely.
Always use personal protection devices such as eye, hand and hearing protectors when performing any service or maintenance.
Frequently tighten all bolts, nuts, screws and check that all cotter pins are properly installed to make certain unit is safe to operate.
When completing maintenance or service, make sure all safety guards and devices are installed before using the Rough Cutting Mower.
After servicing, be sure all tools, parts and service equipment are removed from the Rough Cutting Mower. Do not allow debris, grease or oil to build up on any deck or platform.
Where replacement parts are necessary for periodic maintenance and servicing, factory replacement parts must be used to restore your equipment to original specifications.
The manufacturer and/or distributor will not be responsible for injuries damages caused by use of unapproved parts and/or accessories.
A first aid kit should be kept readily accessible while performing maintenance on this equipment.
STORAGE SAFETY
Following use, or when unhooking the mower, disengage the PTO, shop the tractor, set the brakes, shut off the engine and remove the ignition keys.
Store the unit in an area away from human activity.
Do not park equipment where it can be exposed to direct contact with livestock for long periods of time. Damage to mower and/or livestock injury could result.
Make sure all parked machines are on a hard, level surface and that all safety devices engaged.
SAFETY DECAL LOCATIONS
The safety decals and positions on the equipment are shown in the illustration below.
Good safety requires that you familiarize yourself with the various safety decals, the type of warning and the area or specific function related to that area that requires your SAFETY AWARENESS. 
REMEMBER: IF the safety decals have been damaged, removed, become illegible or parts have been replaced without decals, new safety decals must be applied.
SAFETY DECALS

TROUBLESHOOTING
| PROBLEM | POSSIBLE CAUSE | POSSIBLE REMEDY |
|
Leaves a streak of uncut or partially cut grass | 1. Mower not level side to side. 2. Blades dull or bent. 3. Carrier RPM too low. 4. Field conditions are so wet that the tractor tire is pushing grass into mud. 5. Ground speed too fast. 6. Blades lock back. 7. Blades riding up due to blade bolt wear or loose bolts. 8. Grass is down from previous weather conditions. 9. Possible build up of material under mower. 10. Weed and grass stems are pushed down by tractor tires and do not rebound up so they can be cut. | 1. Level 3-point Hitch linkage on tractor. 2. Sharpen or replace blades. 3. Use correct PTO speed. 4. Too wet to mow. Stop operation and wait until it is drier. 5. Reduce ground speed by shifting to a lower gear. 6. Free blades 7. Replace blade bolts. 8. Mow in only one direction, clean mower, mow again in opposite direction. 9. Clean mower. 10. Mow back and forth with enough overlap. To mow tire track of previous cut again, offset mower to left 4”-6” by adjusting stabilizer bars. |
| Grass cut lower in center of swath than at edge | Height of mower lower at rear or front. | Adjust mower height so that mower rear and front are within 1/2” of same height. |
| Gearbox Overheating | 1. Low on lubricant. 2. Improper lubricant. 3. Excessive trash build up. | 1. Fill to proper level. 2. Replace with proper lubricant. 3. Remove trash around gearbox. |
| Blade is scalping ground. | 1. Mower too low. 2. Field is too rigid. 3. Field is too wet. | 1. Raise mower and 3-point control stop. 2. Cut field at a dierent angle. 3. Stop and wait until field is drier. |
| Mower moves from side to side when cutting | Loose tractor sway chains, bars, or sway blocks improperly installed. | Adjust sway chains, bars or to side sway blocks. |
| PTO contacts cutter front frame when raised | Raising mower too high or incorrect adjustment of tractor top link. | Adjust top link or tractor lift frame stops. (See attachment instructions) |
| Blade bolts come loose | 1. Bolts not tightened. 2. Bolts hole elongated or oversized. 3. Blade bolt threads are worn or damaged. | 1. Tighten bolts to 350 ft./lb 2. Replace blade carrier. 3. Replace blade bolt, lock washer and nut. |
| Blade wears too fast | 1. Cutting in sandy conditions. 2. Cutting in rocky conditions. 3. Blades hitting ground. | 1. Increase cutting height. 2. Increase cutting height. 3. Increase cutting height. |
| Mower seems to require excesive power | 1. Advancing into grass or brush too rapidly. 2. Hitting ground. 3. Worn dull blades. 4. Tractor not large enough. | 1. Reduce forward travel speed. 2. Raise mower. 3. Sharpen or replace blades. 4. Use larger horsepower tractor |
| Gearbox noisy | 1. Rough gears. 2. Worn bearings. 3. Low oil in gearbox | 1. Run in or change gears. 2. Replace bearing. 3. Check level and add oil. |
| PROBLEM | POSSIBLE CAUSE | POSSIBLE REMEDY |
|
Excessive Vibration | 1. Check gearbox bolts 2. Check for loose nuts on 3. Check if output shafts is bent, oil will normally leak from bottom seal 4. Check if blades are free-swinging 5. Check for even wear on each blade tip, where both blades changed at the same time? 6. Blade Broken 7. Blade beam bent 8. New blade or bolts marched with worn blade or bolts 9. Drivelines not phased correctly implement and tractor yokes must be in line 10. Wire or rope wrapped around blade beam 11. Blades worn and are out of balance |
1. Tighten if loose 2. Tighten if loose 3. Replace shaft is bent 4. Free blades so they swing 5. Weight blades, they should be within 1 oz, always replace both blades 6. Replace blades, in sets 7. Replace blade beam 8. Replace blades or bolts in sets 9. Replace driveline 10. Remove wire or rope 11. Replace blades set |
|
Gearbox is leaking. | 1. Damaged oil seal. 2. Bent shaft. 3. Shaft rough in oil seal area. 4. Oil seal installed wrong. 5. Oil seal not sealing in the housing. 6. Oil level too high. 7. Hole in gearbox. 8. Gasket damaged. 9. Bolts loose. | 1. Replace oil seal. 2. Replace oil seal and shaft. 3. Replace or repair shaft. 4. Replace seal. 5. Replace seal or use a sealant on outside diameter of seal. 6. Drain oil to proper level. 7. Replace gearbox. 8. Replace gasket. 9. Tighten bolts. |
|
Front hitch “A“ frame gending sideways | 1. Operator turning sharply, hitting objects with tail wheel frame or mower deck. 2. Tailwheel not castering properly 3. Mower is being operated too low and mower deck is contacting ground during turns. 4. Tractor 3-Point hitch leaking down and mower deck is contacting ground. | 1. Drive carefully and plan turns to avoid hitting buildings, posts, trees, etc. 2. Check tailwheel yoke for proper lubrication or for mechanical binding. 3. Raise mower, (especially on rough ground). 4. Set stop on hitch controls lever so hitch lift arms do no drop mower on ground. 5. Repair tractor hitch hydraulic system. 6. Use limit chains to keep arms from going lower than set limit. |
| Excessive wear of tailwheel tire. | 1. Tire not turning properly. 2. Tail wheel not castering properly. | 1. Check wheel assembly for proper lubrication. 2. Check tailwheel yoke assembly for proper lubrication or for mechanical binding. |
| PROBLEM | POSSIBLE CAUSE | POSSIBLE REMEDY |
|
Material discharges from mower unevenly; bunches of material along swath. |
1. Material is too high and too much material. 2. Grass is too wet. 3. Rear of cutter too low, trapping material under mower. | 4. Reduce Ground speed but maintain 540 RPM at tractor PTO, or make two passes over material. Raise mower for the first pass and lower to desired height for the second and cut at 90° to first pass. Raise rear to mower high enough to permit material to discharge, but not so high that conditions listed above occur. 5. Allow grass to dry before mowing. Slow ground speed of tractor but keep engine running at full PTO RPM. Cutting lower will help. 6. Adjust mower height and altitude. (See instructions). |
| Mower will not cut. (shear bolt PTO) | Shear bolt sheared. | Install new shear bolt. |
| Mower will not cut. (slip clutch PTO) | Slip clutch slipping. | Adjust slip clutch according to all the instructions. |
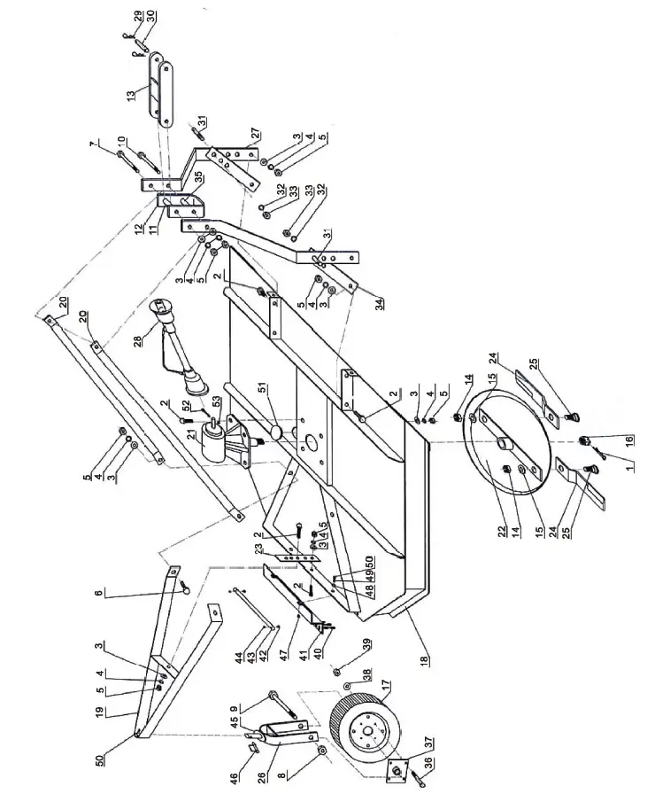
EXPLODED VIEW & PARTS LIST
| REF | PART NO | DESCRIPTION | SPECIFIC. | QTY |
| 1 | 30001 | Cotter pin | 5×50 | 1 |
| 2 | 30002 | Hex head bolt | M16x45 | 10 |
| 3 | 30003 | Flat washer | 16 | 15 |
| 4 | 30004 | Lock washer | 16 | 15 |
| 5 | 30005 | Hex nut | M16 | 15 |
| 6 | 30006 | Hex head bolt | M16x60 | 2 |
| 7 | 30007 | Bolt | M16x140 | 1 |
| 8 | 30008 | Hex nut | M24 | 1 |
| 9 | 30009 | Hex head bolt | M24x180 | 1 |
| 10 | 30010 | Hex head bolt | M14x130 | 1 |
| 11 | 30011 | Steel sleeve | Ø22.xØ16.5 | 1 |
| 12 | 30012 | U Bracket | 1 | |
| 13 | 30013 | Hitch Bracket | 1 | |
| 14 | 30014 | Hex Nut | M27x1.5 | 2 |
| 15 | 30015 | Flat Washer | 27 | 2 |
| 16 | 30016 | Castle Nut | M24 | 1 |
| 17 | 30017 | Tail Wheel | Ø390×95 | 1 |
|
18 | 30418 |
Main Deck | 4’ | 1 |
| 35418 | 54” | 1 | ||
| 30518 | 5’ | 1 | ||
| 36618 | 66” | 1 | ||
| 30618 | 6’ | 1 | ||
|
19 | 30419 | Wheel assembly A-frame | 4’ | 1 |
| 35419 | 54” | 1 | ||
| 30519 | 5’ | 1 | ||
| 36619 | 66” | 1 | ||
| 30619 | 6’ | 1 | ||
|
20 | 30420 |
Lift arm brace | 4’ | 2 |
| 35420 | 54” | 2 | ||
| 30520 | 5’ | 2 | ||
| 36620 | 66” | 2 | ||
| 30620 | 6’ | 2 | ||
| 21 | 30421 | Gearbox 45hp | 4’ | 1 |
| 30521 | 5’ | 1 | ||
| 30621 | 6’ | 1 | ||
| 31621 | Bearbox 75hp | 6’HD | 1 | |
| 22 | 30022 | Blade Holder For 45HP | 1 | |
| 31622 | Blade Holder For 75HP | 6’HD | 1 | |
| 23 | 30423 | Ajusting bar | 4’ | 1 |
| 30523 | 5’ (54”, 66” same as 5’) | 1 | ||
| 30623 | 6’ | 1 | ||
|
24 | 30424 | Cutting blade | 4’ | 2 |
| 35424 | 54” | 2 | ||
| 30524 | 5’ | 2 | ||
| 36624 | 66” | 2 | ||
| 30624 | 6’ | 2 | ||
| 25 | 30025 | Bolt | M27x1.5 | 2 |
| REF | PART NO | DESCRIPTION | SPECIFIC. | QTY |
| 26 | 30026 | Wheel yoke | 1 | |
| 27 | 30427 | 4’ | 2 | |
| 30527 | 5’ (54”,66” same as 5’) | 2 | ||
| 30627 | Side bar | 6’ | 2 | |
|
28 | 30428 | PTO with shear pin | 4:4-29QDSP | 1 |
| 30528 | 5:4-37QDSP | 1 | ||
| 30628 | 6:4-42QDSP | 1 | ||
| 31628 | PTO with Slip Clutch | 6HD:4- 42QDTL | 1 | |
| 29 | 30029 | Hair pin | 2 | |
| 30 | 30030 | Pin | 1 | |
| 31 | 30031 | Draw pin | Ø22 | 2 |
| 32 | 30032 | Lock Washer | 22 | 2 |
| 33 | 30033 | Nut | M22 | 2 |
| 34 | 30434 | Support bar | 4’ | 2 |
| 30534 | 5’ (54”,66” same as 5’) | 2 | ||
| 30634 | 6’ | 2 | ||
| 35 | 30035 | Steel sleeve | ø32xø16.5 | 1 |
| 36 | 30036 | Carriage bolt | M12x30 | 4 |
| 37 | 30037 | Link plate | 1 | |
| 38 | 30038 | Flat washer | 12 | 4 |
| 39 | 30039 | Lock nut | M12 | 4 |
|
40 | 30440 |
Chain | 4’ | 17 |
| 35440 | 54” | 21 | ||
| 30540 | 5’ | 24 | ||
| 36640 | 66” | 28 | ||
| 30640 | 6’ | 29 | ||
|
41 | 30441 |
Chain plate | 4’ | 1 |
| 305441 | 54” | 1 | ||
| 30541 | 5’ | 1 | ||
| 36641 | 66” | 1 | ||
| 30641 | 6’ | 1 | ||
| 42 | 30042 | Bolt | M6x25 | 2 |
|
43 | 30443 |
Chain rod | 4’ | 1 |
| 35443 | 54” | 1 | ||
| 30543 | 5’ | 1 | ||
| 36643 | 66” | 1 | ||
| 30643 | 6’ | 1 | ||
| 44 | 30044 | Lock nut | 2 | |
| 45 | 30045 | Flat plate | 1 | |
| 46 | 30046 | Lock pin | 1 | |
| 47 | 30047 | Bolt | M10x35 | 2 |
| 48 | 30048 | Flat washer | 10 | 2 |
| 49 | 30049 | Lock washer | 10 | 2 |
| 50 | 30050 | Nut | M10 | 2 |
| 51 | 30051 | Bolt cap | 1 | |
| 52 | 30052 | Bolt | M12x85 | 1 |
| 53 | 30053 | Lock nut | M12 | 1 |
| AVOIDABLE DAMAGES SHIELD | POSSIBLE CAUSES | CORRECTIVE ACTIONS | |
![]()
| – Excessive wear of shield bearings.
|
– Incorrect chain mounting.
– Shield interfering with implement. | – Follow lubrication instructions
– Mount chain to allow maximum angularity.
– Avoid contact of the shields or tractor. – Replace shield bearings. |
| – Chain moving or failure.
| – Shield interfering with implement
– Incorrect chain mounting. | – Avoid contact of the shields or tractor. – Mount chain to allow maximum angularity.
– Replace defective parts. | |
| – Guard cone damaged.
| – Guard cone in contact with components on the tractor and/or implement.
– Excessive Angularity. | – Eliminate interference between guard cones and any part on the tractor and/or implement.
– Avoid excessive angle during cornering or when lifting or lowering the implement.
– Replace damaged guard cones. | |
| – Guard tubes damaged (deformed and split at one side).
| – Guards in contact with components on the tractor and/or implement.
– Guard tubes overlap too short or no overlap at all with extended P.T.O. Drive shaft. | – Eliminate interference between guard cones and any part on the tractor and/or implement.
– Replace damaged tubes.
– Adjust guard tubes length with longer tubes. | |
*Note: Shield bearing must be greased every 8 working hours.
For any additional details (capacity, angle, length), please refer to catalogue. 
| AVOIDABLE DAMAGES | POSSIBLE CAUSES | CORRECTIVE ACTIONS | |
| Cross Kit
| – Cross arms broken.
| – Extreme torque peak or chock load.
– Axial Loads too high. | – Use appropriate safety device.
– Change to a larger P.T.O. size.
– Shorten P.T.O. shaft
– Replace defective cross bearings. |
| – Bearing caps turning in their cross journal.
– Overheated bearing caps. | – Excessive continuous torque and/or excessive working angle.
– Inadequate greasing. |
| |
| – Accelerated wear of cross kit.
| – Excessive continuous torque and/or excessive working angle.
– Inadequate greasing. | – Verify compatibility between shaft and working conditions.
– Carefully follow greasing instructions.
– Replace defective cross bearing. | |
*Note: Cross bearing must be greased every 8 working hours.
| AVOIDABLE DAMAGES | POSSIBLE CAUSES | CORRECTIVE ACTIONS | |
Telescopic Tube![]() | – Telescopic tubes failure or twisting.
| – Extreme torque peak or shock load.
– Short tube engagement. | – Use appropriate safety device.
– Change to larger P.T.O. size
– Replace the P.T.O. drive shaft with one having adequate length.
– Replace defective tubes. |
– Accelerated wear of telescopic tubes.![]() | – Extreme load when sliding.
– Short tube engagement.
– Inadequate greasing.
– Continuous (sand, etc.). | – Change to a P.T.O. drive shaft with one having adequate length
– Replace the P.T.O. drive shaft with one having adequate length.
– Carefully follow greasing instructions.
– Replace defective tubes. |
*Note: Telescopic tubes must be cleaned and greased every 16 working hours.
|
Quick-disconnect yoke
| AVOIDABLE DAMAGES
– Quick-disconnect pin tight or completely seized.
– Quick-disconnect pin damaged (broken or bent).
-Quick-disconnect pin damaged in the locking portion.
| POSSIBLE CAUSES
| CORRECTIVE ACTIONS
– Clean, oil and follow service instructions.
– Replace quick-disconnect pin.
– Shorten shaft length (cut both telescopic tubes as well as shields and remove burrs).
– Replace quick-disconnect pin.
– Clean and grease telescopic tubes and replace both tubes, if necessary.
– Replace quick-disconnect pin. |
*Note: Quick-disconnect pins must be cleaned and greased every 16 working hours.
| AVOIDABLE DAMAGES | POSSIBLE CAUSES | CORRECTIVE ACTIONS | |
| Yoke
| – Yoke ears deformation.
| – Excessive shaft length.
– Axial loads too high.
– Excessive working angle and torque. | – Shorten shaft length (cut both telescopic tubes as well as shields and remove burrs).
– Replace defective yokes.
– Clean and grease telescopic tubes and replace both tubes if necessary.
– Replace defective yokes.
– Verify compatibility between shaft and working conditions
– Disengage tractor P.T.O. during cornering or when lifting or lowering the implement.
– Replace defective yokes. |
| – Yoke ears distorted.
| – Overload caused by high starting and peak torques. | – Engage P.T.O. more carefully.
– Use appropriate safety device.
– Replace defective yokes. | |
| – Yoke ears worn or pounded.
| – Excessive working angle. | – Avoid excessive working angle.
– Disengage tractor P.T.O. during cornering.
– Replace defective yokes. |
BRABEREQ.COM
PHONE: 604-850-7770
FAX: 604-850-7774
TOLL FREE PHONE: 1-877-588-3311
TOLL FREE FAX: 1-800-665-7334






































