STIHL KB-KM Bristle Brush

KombiSystem
In the STIHL KombiSystem a number of different KombiEngines and KombiTools can be com‐bined to produce a power tool. In this instruction manual the functional unit formed by the Kom‐biEngine and KombiTool is referred to as the power tool.
Therefore, the separate instruction manuals for the KombiEngine and KombiTool should be used together for the power tool.
Always read and and make sure you understand both instruction manuals before using your power tool for the first time and keep them in a safe place for future reference.
Guide to Using this Manual
Pictograms
All the pictograms attached to the machine are shown and explained in this manual.
Symbols in text
- Warning where there is a risk of an accident or personal injury or serious damage to property.
- Caution where there is a risk of damaging the machine or its individual components.
Engineering improvements
STIHL’s philosophy is to continually improve all of its products. For this reason we may modify the design, engineering and appearance of our products periodically.
Therefore, some changes, modifications and improvements may not be covered in this manual.
Safety Precautions and Working Techniques
- Special safety precautions must be observed when working with the sweeper drum assembly and bristle brush.
- Both user manuals (KombiEngine and KombiTool) must be read through attentively before using the unit for the first time and kept in a safe place for future reference. Non-compliance with the user manuals may cause serious or even fatal injury. The machine should only be provided or loaned to people familiar with this model and its operation. The KombiEngine and KombiTool user manuals should always be handed over with the machine.
- Use the bristle brush only for sweeping areas and paths, including uneven and jointed surfaces, and natural stone paving.
- Use the sweeper drum assembly only for sweeping areas and paths, moving wet materials, such a leaves or dirt to a central point, clearing snow and removing standing water from solid surfaces.
- The machine must not be used for any other purposes – risk of accident!
- Only mount accessories that are explicitly approved for this power tool model by STIHL or are technically identical. If you have any questions about this, consult your dealer.
- Use only high-quality parts and accessories. in order to avoid the risk of accidents and damage to the machine.
- STIHL recommends the use of genuine STIHL tools and accessories. They are specifically designed to match the product and meet your performance requirements. Never attempt to modify your power tool in any way since this may increase the risk of personal injury. STIHL excludes all liability for personal injury and damage to property caused while using unauthorized attachments.
- Do not use a high-pressure washer to clean the power tool. The solid jet of water may damage parts of the unit.
Clothing and Equipment
Wear proper protective clothing and equipment. Clothing must be sturdy but allow complete freedom of movement. Wear close-fitting clothes such as a boiler suit, not a loose jacket. Do not wear clothing which could become trapped in wood, brush or moving parts of the machine. Do not wear a scarf, necktie or jewelry. Tie up and secure long hair above your shoulders. Wear sturdy shoes with non-slip soles.
WARNING To reduce the risk of eye injuries, wear close-fitting safety glasses in accordance with European Standard EN 166. Make sure the safety glasses are a snug fit. Wear “personal” sound protection, e.g. ear defenders. Wear sturdy protective gloves made of a resistant material (e. g. leather). STIHL offers a comprehensive range of personal protective equipment.
Transporting the machine

Always stop the engine.
Carry the machine by the carrying handle, sweeping attachment in front of you, hot muffler away from your body.
By vehicle: When transporting in a vehicle, properly secure your machine to prevent turnover, damage and fuel spillage.
Before starting
Check that your power tool is properly assembled and in good condition – refer to appropriate chapters in the KombiEngine and KombiTool user manuals:
- Tool: correctly fitted, secure and in perfect condition
- Both sweeping attachments must be mounted.
- Never attempt to modify the controls or safety devices.
- Inspect the deflectors for damage and wear. Do not operate the machine with a damaged deflector – replace damaged parts.
- Keep the handles dry and clean – free from oil and dirt – this is important for safe control of the machine.
- Adjust carrying harness and handles in accordance with body height. Observe the chapter “Fitting the Harness”
The power tool must only be operated when it is in good operating condition – Risk of accident!
If you use sweeping attachments, position the gearbox so that the axle is above the shaft.
To prepare for emergencies when using a harness: Practice setting down the machine quickly. To avoid damage, do not throw the machine to the ground when practicing.
Replace damaged sweeping attachments.
See also notes on “Before Starting” in the user manual of the KombiEngine you are using.
Holding and Guiding the Tool

Make sure you always have a firm and secure footing.
Always hold the unit firmly with both hands on the handles.
Right hand on control handle, left hand on loop handle, even if you are left-handed.
To ensure reliable control, wrap your thumbs tightly around the control handle and handle.
While Working
In the event of impending danger or in an emergency, switch off the engine immediately by moving the slide control / stop switch/button to 0 or STOP.
- To reduce the risk of injury from ejected objects, do not allow any other persons within 5 meters of your own position. This distance must also be maintained in relation to objects (vehicles, window panes) – risk of property damage!
- The correct engine idle speed is important to ensure that the attachment stops moving when you let go of the throttle trigger. Check and correct the idle speed setting at regular intervals. If the sweeping attachment still rotates
- when the engine is idling, have your dealer check your machine and make proper adjustments or repairs – see KombiEngines user manual.
- Electrostatic charges may build up when working on synthetic surfaces – risk of electric shock and accidents!
- Take special care in slippery conditions – damp, snow, ice, on slopes or uneven ground!
- Watch out for obstacles: tree stumps, roots – risk of tripping or stumbling!
- Make sure you always have a firm and secure footing.
- Be particularly alert and cautious when wearing ear protection because your ability to hear warnings (shouts, alarms, etc.) is impaired.
- Take breaks when you start getting tired or feeling fatigue – risk of accidents!
- Work calmly and carefully – in daylight conditions and only when visibility is good. Proceed with caution, do not put others in danger. Dust, fumes and smoke produced while working may be hazardous to health! If dust levels are high, wear a suitable respirator.
- To reduce the risk of a dust explosion, spray very dusty surfaces with water before sweeping.
- If your power tool is subjected to unusually high loads for which it was not designed (e.g. heavy impact or a fall), always check that it is in good condition before continuing work – see also
- “Before Starting”. Make sure the safety devices are working properly. Never use a power tool that is no longer safe to operate. In case of doubt, contact a dealer.
- To reduce the risk of injury from thrown objects, never operate the unit without a properly mounted deflector designed specifically for the unit and the attachment. Check the work site – rocks, metal objects etc. may be caught up and ejected – risk of injury! Special care must be taken when working in overgrown terrain.
- When clearing leaves, take care not to harm small animals.
- Check the sweeping attachments at regular short intervals during operation or immediately if there is a sudden change in behavior:
- Shut off the engine, hold the machine securely.
- Check condition and proper mounting.
- Replace damaged sweeping attachments immediately.
Before you leave the machine: Shut the engine off.
Regularly clean the cutting attachment mounting and remove any blockages and material that has accumulated between the sweeping attachments or around the deflector.
To reduce the risk of injury, shut off the engine before changing attachments.
Maintenance and Repairs
Only carry out the maintenance operations and repairs described in the KB‑KM, KW‑KM Kombi‐Tool and KombiEngine instruction manuals. All other repairs must be performed by an authorized STIHL service shop.
Only use original STIHL replacement parts for maintenance and repairs. Using replacement parts from other manufacturers may result in damage to the machine or personal injury.
Never attempt to modify the sweeping attachments in any way. You may be putting your own safety at risk.
Shut off the engine
- before carrying out any maintenance or repair work
- before removing and installing sweeping attachments
- before rectifying problems.
Store the power tool as described in the instruction manuals – see chapter on “Storing the Machine”.
Using the Unit
Sweeping Attachments
KombiTools for sweeping and cleaning operations are available in two versions: KB‑KM Bristle Brush and KW‑KM Sweeper Drum Assembly.
Preparation
If the surface to be cleaned is dry, spray it with water to reduce the amount of dust created.
- To reduce the risk of accidents or injury, remove all obstacles and objects from the work area.
- Starting the engine
- Fitting the harness
The KombiEngine with sweeping attachment is operated in the forward direction only.
Use
Bristle Brush
The the KB‑KM KombiTool Bristle Brush is used for cleaning areas and paths, including uneven and jointed surfaces, and natural stone paving.
WARNING To reduce the risk of injury, never work without the deflector and two extensions.
These devices divert loosened and cut material away from the machine and the operator.
- Push the bristle brush steadily at walking pace.
- Always hold and guide the tool at a shallow angle.

- The steeper the angle shown above, the more difficult it is to control the tool.
- Guide the bristle brush at right angles to the direction of travel (1). Sweepings are thrown forwards, ahead of the operator.
- The bristle brush pushes back towards the operator.
Sweeper Drum Assembly
The KW‑KM Sweeper Drum Assembly Kombi‐Tool is used for sweeping areas and paths, moving wet materials, such a leaves or dirt to a central point, clearing snow and removing standing water from solid surfaces.
- Push the Sweeper Drum Assembly steadily at walking pace.
- Always hold and guide the tool at a shallow angle.
WARNING The steeper the angle shown above, the more difficult it is to control the tool.
- Guide the Sweeper Drum Assembly at right angles to the direction of travel (1). Sweepings are thrown forwards, away from the operator.
WARNING The Sweeper Drum Assembly pushes back towards the operator.
Cleaning the Sweeping Attachment
Clean away any dirt and debris that has accumulated between the sweeping attachments, around the gearbox or between the sweeping attachments and the deflector:
- Switch off the KombiEngine and wait until the blade is no longer turning.
- Pull the hitch pins out of the axle.

- Remove the sweeping attachments from the axle and clean them.
- Clean away dirt
For refitting, see “Replacing the sweeping attachments / Mounting the KombiTool”.
Approved KombiEngines
Only use KombiEngines supplied or explicitly approved by STIHL for use with the attachment.
This KombiTool may be operated only in combination with the following KombiEngines:
STIHL KM 55 R, KM 56 R, KM 85 R1), KM 90 R, KM 94 R, KM 100 R, KM 110 R1), KM 130 R, KMA 130 R, KMA 135 R
WARNING Loop-handled machines must be equipped with a barrier bar.
Assembling the Unit
- Pull the protective caps off the ends of the shaft and keep them in a safe place for later use – see “Storing the Machine”.

- NOTICE The plug may come out of the drive tube when you pull off the cap. Push it back into the shaft as far as it will go.

Mounting the deflector

- Slide the deflector (2) onto the shaft (3) until distance (A) is 125 mm.
- Line up the deflector (2) so that it is vertical and the fixing lug (arrow) on the shaft points up.
- Tighten down the clamp screws (1) slightly.
WARNING Check that the deflector cannot rotate on the shaft anymore.
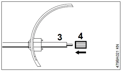
Installing the Gearbox

- Push the sleeve (4) onto the shaft (3) as far as stop.

- Loosen the clamp screws (5).
- Push the gearbox (6) onto the shaft (3), turn the gearbox back and forth as necessary.

- Line up the gearbox on the shaft so that the distance between the horizontal drive shaft (7) and the deflector is the same at both sides.
- Tighten down the clamp screws firmly.

WARNING It must not be possible to rotate the gearbox on the shaft.
- Mount the two sweeping attachments – see “Replacing the Sweeping Attachments”.
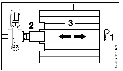
Mounting the KombiTool

- Push the lug (1) on the drive tube into the slot (2) in the coupling sleeve as far as stop.
When correctly installed, the red line (3) (arrow point) must be flush with the end of the coupling sleeve.
- Tighten down the star knob (4) firmly.
Removing the KombiTool
- Reverse the above sequence to remove the drive tube.
Fitting the Harness
The type and style of the harness and carabiner (spring hook) depend on the market.
Shoulder Strap

- Put on the shoulder strap (1).
- Adjust the length of the strap so that the carabiner (2) is about a hand’s width below your right hip.
- Balance the machine – see “Balancing the Machine”.
Full Harness

- Put on the full harness (1).
- Adjust the length of the strap so that the carabiner (2) is about a hand’s width below your right hip.
- Balance the machine – see “Balancing the Machine”.
Attaching Machine to Harness

- Attach the carabiner (1) to the carrying ring (2) on the drive tube – hold the carrying ring steady.
Disconnecting Machine from Harness

- Press down the bar on the carabiner (1) and pull the carrying ring (2) out of the carabiner.
Throwing Off the Machine
WARNING The machine must be quickly thrown off in the event of imminent danger. Practice removing and putting down the machine as you would in an emergency. To avoid damage, do not throw the machine to the ground when practicing.
Practice quickly detaching the power tool from the carabiner as described under “Disconnecting Machine from Harness”.
If you are using a shoulder strap: Practice slip‐ping the strap off your shoulder.
If you are using a full harness: Practice quickly opening the locking plate and slipping the har‐ness straps off your shoulders.
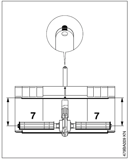
Balancing the Machine
Balancing the Machine

- Loosen the screw (3).

- Slide the carrying ring up or down the drive tube until the sweeping attachments touch the ground.
- Tighten down the screw on the carrying ring firmly.
Starting / Stopping the Engine
Starting the Engine
Always follow the operating instructions for the KombiEngine and basic power tool.

- Place the unit on the ground.
The sweeping attachments may touch the ground, but no other obstacles – risk of accidents. - Make sure you have a firm footing, either standing, stooping or kneeling.
- Hold the machine with you left hand and press it down firmly – do not touch the controls on the control handle – see KombiEngine or basic power tool instruction manual.
NOTICE Do not stand or kneel on the drive tube.
WARNING The sweeping attachments may begin to rotate and cause the machine to move as soon as the engine starts. For this reason, blip the throttle after starting – the engine returns to idling speed. The starting procedure is now as described in the instruction manual of the KombiEngine or basic power tool you are using.
Stopping the Engine
- See instruction manual of the KombiEngine or basic power tool.
Storing the Machine
If not used for periods of about 30 days or longer
- Remove and clean the sweeping attachments, inspect them for damage and wear.
- If the KombiTool is removed from the KombiEngine and stored separately: Fit the protective cap on the shaft to avoid dirt getting into the coupling.
- Store the machine in a dry and secure location. Keep out of the reach of children and other unauthorized persons
Replacing the Sweeping Attachments
Bristle Brush

Removing
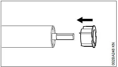
- Remove the hitch pin (1) from the end of the axle (2).
- Pull the bristle brush (3) off the axle.
Installing
- Push the bristle brush (3) onto the axle.
- Insert the hitch pin (1) in the hole at the end of the axle and fold it flat.
- Use the same procedure to moot the other bristle brush.
WARNING Always mount both bristle brushes.
Power Sweep

Removing
- Remove the hitch pin (1) from the end of the axle (2).
- Pull the sweeper drum (3) off the axle.
Installing
- Push the sweeper drum (3) onto the axle.
- Insert the hitch pin (1) in the hole at the end of the axle and fold it flat.
- Use the same procedure to moot the other sweeper drum.
WARNING Always mount both sweeper drums.
Maintenance and Care
The following intervals apply to normal operating conditions only. If your daily working time is lon‐ger or operating conditions are difficult (very dusty work area, etc.), shorten the specified intervals accordingly.
All accessible screws and nuts
- Retighten if necessary Sweeping attachments and deflectors
- Visual inspection, check tightness before start‐ing work and after every refueling stop
- Replace if damaged
Safety labels - Replace illegible safety labels
Minimize Wear and Avoid Damage
Observing the instructions in this manual and the KombiEngine manual helps reduce the risk of unnecessary wear and damage to the power tool.
The power tool must be operated, maintained and stored with the due care and attention described in these instruction manuals.
The user is responsible for all damage caused by non-observance of the safety precautions, operating and maintenance instructions. This includes in particular:
- Alterations or modifications to the product not approved by STIHL.
- Using tools or accessories which are neither approved or suitable for the product or are of a poor quality.
- Using the product for purposes for which it was not designed.
- Using the product for sports or competitive events.
- Consequential damage caused by continuing to use the product with defective components.
Maintenance Work
All the operations described in the chapter on
“Maintenance and Care” must be performed on a regular basis. If these maintenance operations cannot be performed by the owner, they should be performed by a servicing dealer.
STIHL recommends that you have servicing and repair work carried out exclusively by an authorized STIHL servicing dealer. STIHL dealers are regularly given the opportunity to attend training courses and are supplied with the necessary technical information.
If these maintenance operations are not carried out as specified, the user assumes responsibility for any damage that may occur. Among other parts, this includes:
- Corrosion and other consequential damage resulting from improper storage.
- Damage to the product resulting from the use of poor quality replacement parts.
Parts Subject to Wear and Tear
Some parts of the power tool are subject to nor‐mal wear and tear even during regular operation in accordance with instructions and, depending on the type and duration of use, have to be replaced in good time. Among other parts, this includes:
- Sweeping attachment (roller brushes, sweeper belts)
- Deflector, deflector extension
Main Parts

Bristle Brush, PowerSweep
- Gearbox
- Axle
- Hitch pin
- Deflector extension, right
- Defflector extension, left
- Sleeve
- Deflector
- Drive tube
Bristle Brush
- Roller brush
PowerSweep
- PowerSweep with sweeper belt
Specifications
Sweeping Attachments
KB‑KM
- Two roller brushes
- Diameter: 250 mm
- Working width: 600 mm
KW‑KM
- Two sweeping drums
- Diameter: 270 mm
- Working width: 600 mm
Weight
Complete with deflector and drive tube
- KB‑KM: 6.4 kg
- KW‑KM: 7.4 kg
Sound and Vibration Values
Noise and vibration measurements on power tools with KombiTools KB‑KM and KW‑KM include idling and nominal maximum speed in a ratio of 1:6.
For further details on compliance with Vibration Directive 2002/44/EC, see www.stihl.com/vib
Sound pressure level Lpeq in accordance with ISO 6081
- KM 85 R with loop handle: 96 dB(A)
Sound pressure level Lpeq in accordance with ISO 11201
- KM 55 R with loop handle: 96 dB(A)
- KM 56 R with loop handle: 96 dB(A)
- KM 90 R with loop handle: 92 dB(A)
- KM 94 R with loop handle: 95 dB(A)
- KM 100 R with loop handle: 90 dB(A)
- KM 130 with loop handle: 99 dB(A)
- KM 135 R with loop handle: 78.3 dB(A)
Sound pressure level Lpeq in accordance with 60335-2-72
- KM 130 R with loop handle: 81 dB(A)
Sound power level Lw to ISO 3744
- KM 55 R with loop handle: 105 dB(A)
Sound power level Lweq to ISO 3744
- KM 56 R with loop handle: 106 dB(A)
- KM 85 R with loop handle: 108 dB(A)
- KM 90 R with loop handle: 102 dB(A)
- KM 100 R with loop handle: 101 dB(A)
- KM 130 R with loop handle: 106 dB(A)
- KM 135 R with loop handle: 89.9 dB(A)
Sound power level Lweq in accordance with ISO 11201
- KM 94 R with loop handle: 106 dB(A)
Sound power level Lw in accordance with EN 60335-2-72
- KM 130 R with loop handle: 90 dB(A)
- 16.3.8 Vibration level ahv,eq to ISO 7916
Handle, left Handle, right
- KB‑KM, KW‑KM
- KM 85 R with loop
- handle: 3.8 m/s2 5.5 m/s2
Vibration level ahv,eq in accordance with ISO 20643
- Handle, left Handle, right
- KB‑KM
- KM 55 R with loop
- handle: 6.7 m/s2 8.2 m/s2
- KM 56 R with loop
- handle: 8.2 m/s2 8.2 m/s2
- KM 90 R with loop
- handle: 6.1 m/s2 4.1 m/s2
- KM 100 R with loop
- handle: 3.7 m/s2 6.6 m/s2
- KM 130 R with loop
- handle: 8.0 m/s2 8.6 m/s2
- KM 135 R with loop
- handle: 3.3 m/s2 2.4 m/s2
- Handle, left Handle, right
- KW‑KM
- KM 55 R with loop
- handle: 6.5 m/s2 7.0 m/s2
- KM 56 R with loop
- handle: 8.5 m/s2 7.5 m/s2
- KM 90 R with loop
- handle: 4.9 m/s2 7.0 m/s2
- KM 100 R with loop
- handle: 4.1 m/s2 6.5 m/s2
- KM 130 R with loop
- handle: 8.5 m/s2 9.4 m/s2
- KM 135 R with loop
- handle: 2.3 m/s2 2.0 m/s2
Vibration level ahv,eq in accordance with ISO 22867
- Handle, left Handle, right
- KB‑KM
- KM 94 R with loop
- handle: 4.5 m/s2 5.5 m/s2
- Handle, left Handle, right
- KW‑KM
- KM 94 R with loop
- handle: 4.6 m/s2 6.0 m/s2
The K‑factor in accordance with Directive 2006/42/EC is 2.0 dB(A) for the sound pressure level and sound power level; the K‑factor in accordance with Directive 2006/42/EC is
2.0 m/s2 for the vibration level.
REACH
REACH is an EC regulation and stands for the Registration, Evaluation, Authorization and Restriction of Chemical substances.
For information on compliance with the REACH regulation (EC) No. 1907/2006 see www.stihl.com/reach
Maintenance and Repairs
Users of this machine may only carry out the maintenance and service work described in this user manual. All other repairs must be carried out by a servicing dealer.
STIHL recommends that you have servicing and repair work carried out exclusively by an authorized STIHL servicing dealer. STIHL dealers are regularly given the opportunity to attend training courses and are supplied with the necessary technical information.
When repairing the machine, only use replacement parts which have been approved by STIHL for this power tool or are technically identical. Only use high-quality replacement parts in order to avoid the risk of accidents and damage to the machine.
STIHL recommends the use of original STIHL replacement parts.
Original STIHL parts can be identified by the STIHL part number, the { logo and the STIHL parts symbol K (the symbol may appear alone on small parts).
0458-479-0121-C
Disposal
Contact the local authorities or your STIHL serv‐icing dealer for information on disposal.
Improper disposal can be harmful to health and pollute the environment.
- Take STIHL products including packaging to a suitable collection point for recycling in accordance with local regulations.
- Do not dispose with domestic waste.
EC Declaration of Conformity
ANDREAS STIHL AG & Co. KG Badstr. 115
D-71336 Waiblingen
Germany
declare under our sole responsibility that
- Designation: Bristle Brush/Power‐ Sweep KombiTool
- Make: STIHL
- Series: KB‑KM KW‑KM
- Serial identification number: 4601
conforms to the relevant provisions of Directive 2006/42/EC and has been developed and manufactured in compliance with the following standards in the versions valid on the date of production:
EN ISO 12100 (in conjunction with the specified KM‑models).
EN ISO 12100, EN 60335-1, EN 60335-2-72 (in conjunction with the specified KMA models).
Technical documents deposited at:
ANDREAS STIHL AG & Co. KG Produktzulassung
The year of manufacture is specified on the power tool.
Waiblingen, 15.07.2021
UKCA Declaration of Conformity
ANDREAS STIHL AG & Co. KG Badstr. 115 D-71336 Waiblingen Germany declare under our sole responsibility that
- Designation: Bristle Brush/Power‐ Sweep KombiTool
- Make: STIHL
- Series: KB‑KM KW‑KM
- Serial identification number: 4601
conforms to the relevant provisions of the UK Supply of Machinery (Safety) Regulations 2008 and has been manufactured in compliance with the following standards in the versions valid on the date of start of production:
EN ISO 12100 (in conjunction with the specified KM‑models). EN ISO 12100, EN 60335-1, EN 60335-2-72 (in conjunction with the specified KMA models).
Technical documents deposited at: ANDREAS STIHL AG & Co. KG
The year of manufacture is stated on the power tool.
Waiblingen, 15.07.2021
ANDREAS STIHL AG & Co. KG pp






















